| Passwort vergessen?
Sie sind nicht angemeldet. |  Anmelden

Sprache auswählen:

Wumpus Gollum Forum von
Wumpus Welt der (alten) Radios
Sie sind nicht angemeldet.
 Anmelden

Miniradio. Seite 90 einer Funkschau fehlt.
  •  
 1 .. 4 5 6 7 8 .. 14
 1 .. 4 5 6 7 8 .. 14
11.01.11 10:32
Klaus 

500 und mehr Punkte

11.01.11 10:32
Klaus 

500 und mehr Punkte

Re: Miniradio. Seite 90 einer Funkschau fehlt.

Zitieren:
Für den optimalen Einsatz in Hinsicht auf Zeit, Kostenaufwand und mäßigen Stromverbrauch, bleibt da der fertige NF-Chip LM386 o. ä. als beste Lösung.
Hallo,

ich denke, man muss sich entscheiden: Will man möglichst viele Baustufen selbst erstellen - selbst unter Inkaufnahme einige Nachteile wie hohe Stromaufnahme u.a. - so sollten alle diskret aufgebaut werden.
Kommt es hingegen auf das schnelle Ergebnis NF-Verstärker an und liegt der Schwerpunkt mehr auf der Empfangstechnik, so bietet sich eine Lösung mit dem genannten IC an, selbst wenn es dabei weniger zu basteln, auszuprobieren und vllt auch zu lernen gibt.

Jede Variante wird ihre Befürworter finden.

Viele Grüße
Klaus

Zuletzt bearbeitet am 11.01.11 10:35

!
!!! Fotos, Grafiken nur über die Upload-Option des Forums, KEINE FREMD-LINKS auf externe Fotos.    

!!! Keine Komplett-Schaltbilder, keine Fotos, keine Grafiken, auf denen Urheberrechte Anderer (auch WEB-Seiten oder Foren) liegen!
Solche Uploads werden wegen der Rechtslage kommentarlos gelöscht!

Keine Fotos, auf denen Personen erkennbar sind, ohne deren schriftliche Zustimmung.

Den Beitrag-Betreff bei Antworten auf Threads nicht verändern!
11.01.11 12:32
roehrenfreak

nicht registriert

11.01.11 12:32
roehrenfreak

nicht registriert

Re: Miniradio. Seite 90 einer Funkschau fehlt.

Hallo zusammen,

eine diskret aufgebaute Schaltung muss nicht automatisch mehr Strom ziehen. Es kommt auf die Schaltungstechnik an sich an. Die in einem anderen Thread von mir vorgestellte "Simple OTL"-NF-Endstufe (A/B-Betrieb) gönnt sich gerade einmal etwa 7-10mA Ruhestrom bei 9Volt Ub. Ein Blaupunkt "Derby" von 1960, durchgehend mit Ge-Tr. bestückt, benötigt auch nur rund 20-25mA.

Wenn man natürlich eine klassische Eintakt-A-Endstufe baut, liegt der hohe Ruhestrombedarf auf der Hand. Das ist in Röhrenendstufen auch nicht anders.

Freundliche Grüsse,
Jürgen rf

Noli turbare circulos meos (Störe meine KREISE nicht! - Archimedes)

11.01.11 15:06
Klaus 

500 und mehr Punkte

11.01.11 15:06
Klaus 

500 und mehr Punkte

Re: Miniradio. Seite 90 einer Funkschau fehlt.

roehrenfreak:
eine diskret aufgebaute Schaltung muss nicht automatisch mehr Strom ziehen. Es kommt auf die Schaltungstechnik an sich an.
Hallo zusammen,

das wollte ich auch mit meiner Bemerkung nicht ausdrücken, sondern lediglich einen möglichen Nachteil aufzeigen.
Häufig dürften aber höher integrierte Schaltungen ggü. denen aus diskreten Bauelementen günstiger liegen, aber natürlich nicht immer und überall.

Viele Grüße
Klaus

11.01.11 19:24
Bennybuis

nicht registriert

11.01.11 19:24
Bennybuis

nicht registriert

Re: Miniradio. Seite 90 einer Funkschau fehlt.

Hallo liebe Radiofreunde,

ich bin Frührentner und habe alle Zeit in der Welt, so für mich ist wichtig dass ich Spaß habe und das habe ich, haha. Ich finde es total fantastisch, dass ich ein kleines voll funktionsfähiges Transistor Radio gebaut habe, das auch noch super sensitiv ist. Nicht schlecht finde ich. Die 75mA Stromaufnahme, na ja, "nix is perfekt" und nicht vergessen, das sind meine ersten Gehversuche in der Radiowelt. Ich lerne sehr viel, ich bin 39 Jahre alt, aber noch immer versuche ich, jeden Tag etwas neues zu lernen, nicht immer in der Elektronik, meistens aber schon.

Jetzt muss ich doch mal beginnen, ein Röhrenradio zusammenzuschustern. Für mich wird auch das ein Regenerativer Empfaenger sein, weil das viel weniger Spulen und Wicklungen nötig hat.



Viele liebe Grüße aus dem Herzen von Holland.




Bernd

11.01.11 22:45
roehrenfreak

nicht registriert

11.01.11 22:45
roehrenfreak

nicht registriert

Re: Miniradio. Seite 90 einer Funkschau fehlt.

Hallo Klaus,

nicht falsch verstehen - mit der angeführten OTL-Schaltung sollte nur einmal ein einfaches, kleines Beispiel aufgezeigt werden, welches natürlich in friedlicher Koexistenz zu integrierten Lösungen auftritt. Es kommt auch immer ein wenig darauf an, ob man z.B. für den Lerneffekt auf eine "klassische" Lösung zurück greifen möchte. Wer bereits in der Welt der Elektronik mehr Erfahrung hat, wird auch gern auf integrierte Konzepte setzen, was ja vollkommen ok ist. Das steht ausser Frage.

Es geht mir bei diesen Betrachtungen vordergründig um

> die Veranschaulichung einfacher Schaltungsprinzipien (auch "von der Pieke auf")
> die Anfängertauglichkeit
> die Verwendung von preiswerten Standard-Bauteilen "aus der Bastelkiste"
> Flexibilität der Schaltungen zur Weiterentwicklung, also besonders auch die individuelle Kreativität
> Nachbausicherheit und Erfolgserlebnis, auch am unerwartet verregneten Wochenende, wenn der "blaue Klaus" (also der andere Klaus) schon "zu" hat und man nirgendwo Bauteile "mal noch eben rasch" erwerben kann...


Freundliche Grüsse,
Jürgen rf

Noli turbare circulos meos (Störe meine KREISE nicht! - Archimedes)

12.01.11 10:57
Klaus 

500 und mehr Punkte

12.01.11 10:57
Klaus 

500 und mehr Punkte

Re: Miniradio. Seite 90 einer Funkschau fehlt.

Hallo Jürgen,

das ist schon ok., sinngemäß wollte ich das Gleiche sagen.
Es kommt beim Bau eben immer auch auf die Randbedingungen an.

Viele Grüße
Klaus

12.01.11 23:05
joeberesf 

500 und mehr Punkte

12.01.11 23:05
joeberesf 

500 und mehr Punkte

Re: Miniradio. Seite 90 einer Funkschau fehlt.

Pluspol:
Hallo Bernd und alle

Die Nutzung diskreter Ge.-Transistoren als NF-Versträker ist gut geeignet, um in dieser Richtung eigene Erfahrungen zu sammeln.
Für den optimalen Einsatz in Hinsicht auf Zeit, Kostenaufwand und mäßigen Stromverbrauch, bleibt da der fertige NF-Chip LM386 o. ä. als beste Lösung.

Hallo zusammen,

ich finde es sehr gut die Schaltungen diskret aufzubauen. Der Lernfaktotor und auch das abschließende
Erfolgerlebnis ist ungleich größer...

Dennoch, gebe ich Dietmar völlig Recht, denn diese sehr preiswerten IC´s machen einfache Radioschaltungen
mit Verstärker, zu einem preiswerten und platzsparenden Radiobastelabenteuer.

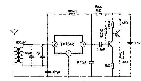
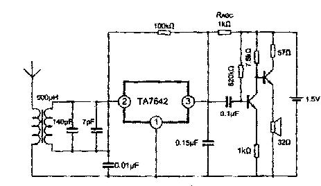
Also ... ein AM- TA 7642 und ein LM386 und Peripherie, passen mit 1.5V Knopfzelle Batterie, in eine halbe
Streichholzschachtel. Wenn auf einen Drehko verzichtet wird und anstatt mit Festkondensator 500pF und
beweglichem Ferritkern abgestimmt wird, ist das ein vollwertiges MW Radio, ohne Antenne und Erde.
Und .....mit LAAAUUUtsprecher

Gerade auch in Bezug auf Workshops mit Jugendlichen, Bastelgruppen...etc. ist das eine sehr preiswerte
Variante. Preis für beide Schaltkreise zusammen ..... < 2€

Hier mal Ersatzschaltbilder und Applikation:

Gruß

Joe

LM386



TA7642



Applikation TA7642

Datei-Anhänge
LM386.JPG LM386.JPG (532x)

Mime-Type: image/pjpeg, 40 kB

TA7642 AM Chip.JPG TA7642 AM Chip.JPG (491x)

Mime-Type: image/pjpeg, 51 kB

TA7642 Applikation.JPG TA7642 Applikation.JPG (522x)

Mime-Type: image/pjpeg, 32 kB

19.01.11 15:14
Bennybuis

nicht registriert

19.01.11 15:14
Bennybuis

nicht registriert

Re: Miniradio. Seite 90 einer Funkschau fehlt.

Hallo Radiofreunde,


ich habe das 4 GE Transistor Radio auf eine kleine Platine gesetzt, aber bis jetzt funktioniert es nicht der nicht gut. Ich habe als ersten Transistor einen AT106 und die 3 NF sind jetzt 2N2613, diese sind als OC71 Ersatz aufgelistet. Zuerst habe ich zwei AC128 und dann einen AC188 versucht, aber das war noch schlechter. Schade, ich habe noch paar Transistoren um auszuwechseln, dann werde ich mit dem Radio aufgeben. Mein 2 Transistor Radio funktioniert viel, viel besser. Habe viel gelernt, wenn nichts anderes, haha.


Viele liebe Grüße aus Holland.




Bernd

19.01.11 17:00
Martin.M 

500 und mehr Punkte

19.01.11 17:00
Martin.M 

500 und mehr Punkte

Re: Miniradio. Seite 90 einer Funkschau fehlt.

roehrenfreak:
Hallo Martin,

die Endstufe arbeitet Deiner Darstellung nach in Kollektorschaltung, erzeugt also nur reine Stromverstärkung. Die Ausgangsimpedanz ist dann bereits sehr niederohmig. Damit hätte der Trafo einzig und allein nur die Aufgabe der Phasenumkehr.

Mir sind die trafogekoppelten Endstüfchen in den jap. Transistorradios jedoch in Emitterschaltung erinnerlich, was auch zur Signalverstärkung beiträgt. Das machte im Gegensatz zum OTL auch eine weitere NF-Vorstufe entbehrlich.

Freundliche Grüsse,
Jürgen rf

Noli turbare circulos meos (Störe meine KREISE nicht! - Archimedes)

hallo Jürgen,
die Variante mit Kolektorschaltung mußt du dir so vorstellen:
Im Gegensatz zu der in Emitterschaltung sind die Basen der beiden Endtransis recht hochohmig, das erlaubt ein heftiges hinauftransformieren der Spannung im Treibertrafochen das dieses fast unbelastet läuft. Das Ergebnis ist - den passenden Trafo vorausgesetzt, sehr laut. Die Rede war von 1k, das paßt schon prima

nette Grüße
Martin

19.01.11 17:55
joeberesf 

500 und mehr Punkte

19.01.11 17:55
joeberesf 

500 und mehr Punkte

Re: Miniradio. Seite 90 einer Funkschau fehlt.

Bernd:

Bennybuis:
ich habe das 4 GE Transistor Radio auf eine kleine Platine gesetzt, aber bis jetzt funktioniert es nicht der nicht gut. Ich habe als ersten Transistor einen AT106 und die 3 NF sind jetzt 2N2613, diese sind als OC71 Ersatz aufgelistet. Zuerst habe ich zwei AC128 und dann einen AC188 versucht, aber das war noch schlechter

Hallo Bernd,

liegt es denn am NF- Teil oder am HF-Teil? Du kannst doch den NF- Verstärker auch einzeln prüfen.
Wenn es aber am HF- Teil liegt, dann benutze doch Deine bewerte Schaltung und kopple diese
der dreistufigen NF vor.

Der dreistufige NF- Verstärker müsste Dir doch eigentlich bessere Ergebnisse bringen, als die Eintransistor
Verstärkung Deines bewerten Radios.

Oder sehe ich das falsch ?

Gruß

Joe

 1 .. 4 5 6 7 8 .. 14
 1 .. 4 5 6 7 8 .. 14
Funkhäuser   vielleicht   Miniradio   Zink-Luft-Hörgerätezellen   MW-Rückkopplungs-Einkreisaudion   angeschlossenen   zusammen   funktioniert   Funkschau   Holland   Basisvorwiderstand-Ankopplung   Transistor   rettet-unsere-radios   Freundliche   Rückkopplung   Grüße   zurück   Schaltung   Transistoren   Jürgen