| Passwort vergessen?
Sie sind nicht angemeldet. |  Anmelden

Sprache auswählen:

Wumpus Gollum Forum von
Wumpus Welt der (alten) Radios
Sie sind nicht angemeldet.
 Anmelden

Nytone 4000 mit Kapitalschaden
  •  
 1 2 3 4
 1 2 3 4
19.08.16 23:45
joeberesf 

500 und mehr Punkte

19.08.16 23:45
joeberesf 

500 und mehr Punkte

Re: Nytone 4000 mit Kapitalschaden

Hallo Nobby,

ja klar....alles liegt im Auge des Betrachters!

Werde weiter Deine Fortschritte mitlesen und nun aufgrund eines aktuellen Totalschadens, meines Familienradios Grundig 3097, selbst eine Wiederbelebung versuchen. Das sieht aber nicht so kompliziert aus wie Dein Projekt. Jahrgang 59. Das übliche Desaster. Eigentlich nicht mein Favorite, aber da steckt halt eine gewisse persönliche Bindung drin und so kann ich das nicht ignorieren. Ich werde einen Beitrag setzen. Dies wäre für mich meine erste Restauration ohne Anspruch auf Verwendung von Originalbauteilen.

Gruß und weiter viel Erfolg wünscht..

Joerg

!
!!! Fotos, Grafiken nur über die Upload-Option des Forums, KEINE FREMD-LINKS auf externe Fotos.    

!!! Keine Komplett-Schaltbilder, keine Fotos, keine Grafiken, auf denen Urheberrechte Anderer (auch WEB-Seiten oder Foren) liegen!
Solche Uploads werden wegen der Rechtslage kommentarlos gelöscht!

Keine Fotos, auf denen Personen erkennbar sind, ohne deren schriftliche Zustimmung.

Den Beitrag-Betreff bei Antworten auf Threads nicht verändern!
20.08.16 01:33
nobbyrad58 

500 und mehr Punkte

20.08.16 01:33
nobbyrad58 

500 und mehr Punkte

Re: Nytone 4000 mit Kapitalschaden

Hallo Joerg!

Die Firma von der ich den Netztrafo bezogen habe, bietet doch relativ preiswertes "Eisen und Kupfer an". Bei einem Totalschaden beider teuren Teile, des NT und AÜ kommst Du mit unter 100 € aus. Da bleibt noch Luft für gute Netzteilelkos.
Fast alles was mit dem Netz.- und NF Teilen von Röhrengeräten zu tun hat ist Neu dank Musiker und High - End zu bekommen.
Was spricht dagegen, außer es ist kostbares historisches Gerät, ein Radio etwas zu "tunen". Puristen Augen zu
Etwas stärkerer Netztrafo und auch der AÜ dürfte etwas größer werden zb. mit Ultralinearwicklung. Allerdings ist dann die Gegenkopplung neu zu berechnen oder besser empirisch anzupassen.
Belohnt wird die Arbeit mit einem Langzeitstabilen Radio was Netz und NF Teil betrifft.
Wenn dann ein strafferer Bass und vielleicht auch "oben" etwas mehr raus kommt dann kommt das den heutigen Hörgewohnheiten doch entgegen, sozusagen Zukunftssicher.

MFG Nobby

20.08.16 09:27
WalterBar 

500 und mehr Punkte

20.08.16 09:27
WalterBar 

500 und mehr Punkte

Re: Nytone 4000 mit Kapitalschaden

Hallo zusammen,

ich habe im Netz widersprüchliches über die Qualität der Transformatoren aus Troisdorf gelesen. Nachdem ich aber inzwischen knapp ein Dutzend Trafos (Netz wie auch AÜ) von dort bezogen habe, kann ich mich nicht über die Qualität beschweren. Die AÜ machen auch an einer "High-End" Box eine gute Figur, auch wenn sie z.B. in puncto Verschachtelung und pipapo einfach keine anerkannte High-End-Produkte sind. Dafür stimmt das Preis-Leistungsverhältnis, wie ein Blick z.B. in die Lundahl-Preisliste (Preisspanne 25 ... 2784 Euro) zeigt.

Gruss
Walter

Zuletzt bearbeitet am 20.08.16 09:28

20.08.16 14:28
nobbyrad58 

500 und mehr Punkte

20.08.16 14:28
nobbyrad58 

500 und mehr Punkte

Re: Nytone 4000 mit Kapitalschaden

Hallo Walter, Hallo an Alle

Nur den Netztrafo hab ich gekauft. Sieht gut aus, in Betrieb hab ich ihn noch nicht genommen. Es soll sogar High-End AÜ geben die keine Verschachtelung haben. So hab ich es in einem Elektor Buch vor Jahren gelesen.
Die AÜ's sind mehr Universal AÜ. Typenspezifische sind viel teurer, um eine SE EL 84 so wie sie in vielen Radios aus der frühen Hi-Fi Zeit ca. 1957 - 64 verwendet wurden reichen die Troisdorfer mit Sicherheit aus. Probleme sind mehr bei der Gegenkopplung die auch oft mit der Klangregelung kombiniert ist und bei einer Brummkompensationswicklung zu erwarten.
Der Gedanke der "naturgetreuen Wiedergabe" so nannte man in D früher Hi-Fi, kam so 1955 in der Produktion der Industrie an. Das Ausland die USA und UK waren da schon weiter.
Viele Kunden waren die verbogenen Frequenzgänge des damaligen Radios gewohnt und so dauerte es Jahre bis Hi-Fi sich hier auf breiter Front durchsetzte. Richtig erst mit den Transistorstufen, die wurden immer billiger. So ein kleiner historischer Rückblick.

MFG Nobby

Zuletzt bearbeitet am 20.08.16 14:31

20.08.16 18:07
Martin.M 

500 und mehr Punkte

20.08.16 18:07
Martin.M 

500 und mehr Punkte

Re: Nytone 4000 mit Kapitalschaden

Nobby für den Chassis seh ich zwei Wege, zuvor völlig demontieren:

a.) sandstrahlen und neu verzinken lassen
b.) ich kann dir eine exakte Kopie davon lasern/kanten, aus verzinktem St.Blech

lG Martin

20.08.16 19:09
nobbyrad58 

500 und mehr Punkte

20.08.16 19:09
nobbyrad58 

500 und mehr Punkte

Re: Nytone 4000 mit Kapitalschaden

Hallo Martin!

Danke für Dein Angebot. Ich komm aber auch so weiter, ich schätze 80% des Rost sind weg. Die Substanz ist noch stabil, bei einer Neuanfertigung müsste auch ein neuer Plan für Teile des Chassis gemacht werden. Wegfall der Röhren GL und der neue Netztrafo passt auch nicht in die Durchbrüche des alten. Hab schon einen Plan zur Anpassung, sozusagen Minimalinvasiv.
Was macht Dein Familienradio schon einen Plan?

MFG Nobby

20.08.16 20:52
nobbyrad58 

500 und mehr Punkte

20.08.16 20:52
nobbyrad58 

500 und mehr Punkte

Re: Nytone 4000 mit Kapitalschaden

Hallo an Alle!

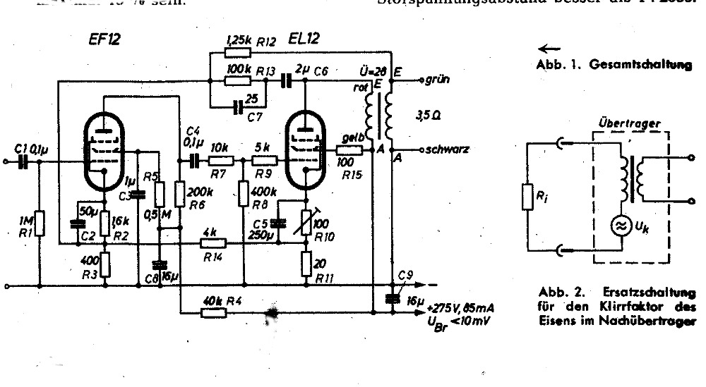
Damit es nicht langweilig wird, hier ein kleiner Verstärker "Für hochwertige Widergabe" von 1955. Man beachte die Gegenkopplungspfade.
Hat zwar nichts mit dem Nytone zu tun, aber für einen extra Beitrag ist die Interessengemeischaft wohl doch zu klein.
Ein Beispiel eines deutschen hochwertigen Röhrenverstärkers zu Hochzeit der Röhrenradios mit tollen NF Frequenzkurven.



MFG Nobby

Datei-Anhänge
ein Verstärker für hochwertige Wiedergabe.jpg ein Verstärker für hochwertige Wiedergabe.jpg (343x)

Mime-Type: image/jpeg, 109 kB

21.08.16 01:29
Wolle 

500 und mehr Punkte

21.08.16 01:29
Wolle 

500 und mehr Punkte

Re: Nytone 4000 mit Kapitalschaden

Hallo Nobby.

Ein Verstärker mit der Endröhre EL12 gehört meist als Endverstärker in einen Großsuper, dem man keine Gegentaktendstufe spendiert hat. Ansonsten wurden Endstufen mit den Röhren EL11 oder ECL11 oder deren Nachfolgern aufgebaut. Die mit diesen Röhren erzielbare Sprechleistung lag zwischen drei bis fünf Watt. Viele mit diesen Röhren ausgeführte Geräte findet man zum Beispiel bei Grundig.

Mit vielen Grüßen.
Wolle.

21.08.16 04:31
nobbyrad58 

500 und mehr Punkte

21.08.16 04:31
nobbyrad58 

500 und mehr Punkte

Re: Nytone 4000 mit Kapitalschaden

Hallo Wolle! Hallo an Alle!

Das ist ja gerade der Unterschied zur Endstufe eines Röhrenradios aus dieser Zeit. Es gibt 3 ziemlich frequenzunabhängige Gegenkopplungspfade. Von der Anode der EL 12 zur Anode der EF 12, dann ungewöhnlich von der Sekundärseite des AÜ auch zur Anode der EF 12. Das soll den Dämpfungsfaktor erhöhen und stellt zwei Pfade der Spannungsgegenkopplung dar.
Eine Stromgegenkopplung über R 11, R 14, R 3 von Katode zu Katode.
In der Schaltungsbeschreibung wird klar auf eine lineare Wiedergabe hingewiesen, auch mit verschiedenen Lautsprechern, in Grenzen natürlich.
Die Schaltung sieht auf den ersten Blick wirklich aus, als wäre es eine normale Röhrenradioendstufe. Aber, wie geschrieben es ist eben keine solche.

MFG Nobby

21.08.16 13:40
Martin.M 

500 und mehr Punkte

21.08.16 13:40
Martin.M 

500 und mehr Punkte

Re: Nytone 4000 mit Kapitalschaden

nobbyrad58:
Was macht Dein Familienradio schon einen Plan?

hallo Nobby,
hier hat sich ein russisches Maulwurf-Radio eingeschlichen (Kpot-M*, mit separatem Netzteil), der kostet dann mal alle Kraft ;ich werde wohl einen Kettenzug dafür benötigen den zu restaurieren. Du weist ja ich hab eine Schwäche für boatanchor dann ist da noch ein alter Regenbogen, den heb ich mir auf für den Winter

lG Martin

* kyrillisch, Aussprachlich ist das ein KROT

Zuletzt bearbeitet am 21.08.16 13:44

 1 2 3 4
 1 2 3 4
Endstufenverdrahtung   Preis-Leistungsverhältnis   Kapitalschaden   Auseinandersetzungen   Vorstufe   Interessengemeischaft   Gegenkopplungspfade   Ultralinearwicklung   Phasenverschiebungen   Brückengleichrichter   Röhrenradioendstufe   Zusammen   Schaltungstechnisch   Röhrengleichrichtung   Brummkompensationswicklung   Gittervorspannungwicklung   Spannungsgegenkopplung   Brückengleichrichtung   Schaltungsbeschreibung   Isolationswiderstand