| Passwort vergessen?
Sie sind nicht angemeldet. |  Anmelden

Sprache auswählen:

Wumpus Gollum Forum von
Wumpus Welt der (alten) Radios
Sie sind nicht angemeldet.
 Anmelden

Telefunken Bajazzo Sport 201 kracht plötzlich nur noch
  •  
 1 2 3 4 5 6
 1 2 3 4 5 6
04.11.10 11:47
Drehkodreher 

100-249 Punkte

04.11.10 11:47
Drehkodreher 

100-249 Punkte

Re: Telefunken Bajazzo Sport 201 kracht plötzlich nur noch

Hallo Klarzeichner

natürlich ist es eine Option aus 2 mach 1.
Doch sehen wir den Vorgang aus verschiedenen Perspektieven. Bevor ich mich später mal an etwas seltenes und daher wertvolles rantraue fange ich erst mal klein an.
Dabei steht für mich im Vordergrund,"der Weg ist das Ziel"
Darum bin ich ja auch im Forum, was zu lernen und mich auch nachher am Erfolg zu freuen.
Ich fahre ja bei der Reparatur zweigleisig,: Erst Nachbau des Hybried, dann Reparaturversuch desselben.
Wenns nicht gelingt, auch nicht schlimm.
Wenn man sich so wie ich als Lehrling am Schaufenster die Nase platt gedrückt hat um einen Bajazzo nur zu sehen,
dann gewinnt so ein Radio einen ganz anderen Stellenwert.
Werde trotzdem mal sehen was der Flohmarkt so hergibt.
darf man alles nicht so eng sehen.

Bis dann , nette Grüße

Karl-Otto

!
!!! Fotos, Grafiken nur über die Upload-Option des Forums, KEINE FREMD-LINKS auf externe Fotos.    

!!! Keine Komplett-Schaltbilder, keine Fotos, keine Grafiken, auf denen Urheberrechte Anderer (auch WEB-Seiten oder Foren) liegen!
Solche Uploads werden wegen der Rechtslage kommentarlos gelöscht!

Keine Fotos, auf denen Personen erkennbar sind, ohne deren schriftliche Zustimmung.

Den Beitrag-Betreff bei Antworten auf Threads nicht verändern!
04.11.10 12:06
Klarzeichner 

500 und mehr Punkte

04.11.10 12:06
Klarzeichner 

500 und mehr Punkte

Re: Telefunken Bajazzo Sport 201 kracht plötzlich nur noch

Hallo Drehkodreher,

da hast du natürlich recht. Insofern ist dein Weg sehr gut. Es ist ja auch ein wichtiges Ziel dieses Forums, Anfänger und weniger Fortgeschrittene zu beraten und zu unterstützen. Ich wollte auch nur die Ersatzgerät-Option aufzeigen. Und den Bajazzo will ich auch nicht diskreditieren: Dass er nicht selten und nicht teuer ist, macht das Gerät keineswegs schlechter oder weniger schön oder was auch immer. Es ist nur eine Tatsache. Zu selten wird, auch von Profis!, dieser Aspekt beachtet. Da wird improvisiert und gebastelt (mitunter auch gepfuscht), anstatt für wenig Geld einen Teileträger zu organisieren und das fragliche Teil im Original zu ersetzen.

Dennoch empfehle ich deutlich, die Dickfilmschaltung auf einem kleinen Lochraster-Platinchen nachzubauen, anstatt das Original aufzubröseln. Nachbau ist wohl mehr Arbeit, wird aber zum Erfolg führen.

Liebe Grüße vom
Klarzeichner

04.11.10 12:22
Wolle 

500 und mehr Punkte

04.11.10 12:22
Wolle 

500 und mehr Punkte

Re: Telefunken Bajazzo Sport 201 kracht plötzlich nur noch

Hallo Karl-Otto.

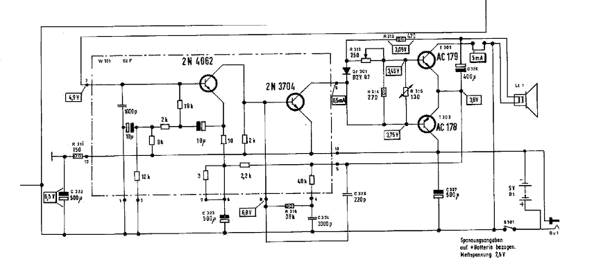
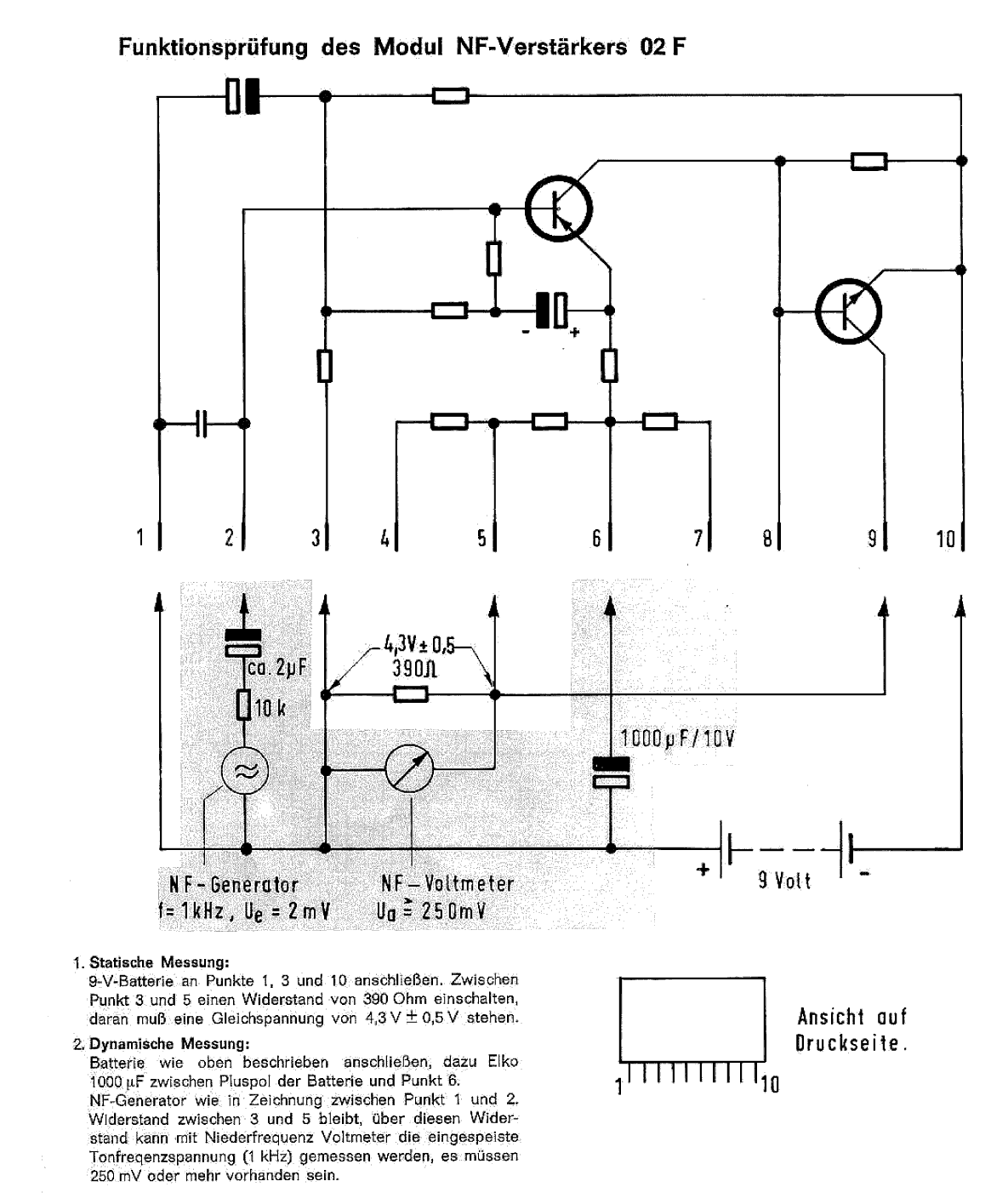
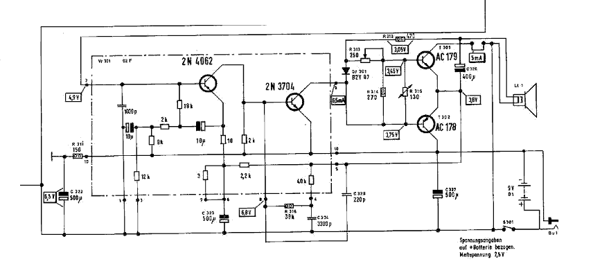
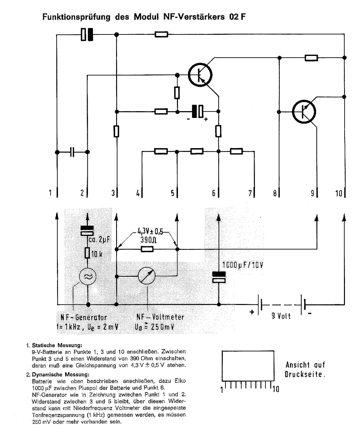
Anbei die Innenschaltung des Hybridschaltkreises.



Hoffe, daß Du damit weiterkommst.



Hier sind die Werte der Bauelemente mit eingetragen.

Mit vielen Grüßen.
Wolle

Zuletzt bearbeitet am 04.11.10 12:24

Datei-Anhänge
telefunken_hybrid_sch2.png telefunken_hybrid_sch2.png (735x)

Mime-Type: image/x-png, 89 kB

telefunken_nf_sch1.png telefunken_nf_sch1.png (729x)

Mime-Type: image/x-png, 15 kB

04.11.10 20:49
Drehkodreher 

100-249 Punkte

04.11.10 20:49
Drehkodreher 

100-249 Punkte

Re: Telefunken Bajazzo Sport 201 kracht plötzlich nur noch

Zuerst mal ein nettes Hallo in die Runde

Was ich so an Infos brauche habe ich ja dank Eurer Hilfe leicht zusammen bekommen.
Ich bedanke mich nochmals ausdrücklich bei Wolle, Michel und allen anderen Unterstützern.
Ich habe zwar den Arbeitskittel an den Nagel gehängt, mach mich aber noch was im Sozialen bereich nützlich.
Heist im Klartext werde erst nächste Woche mit dem Nachbau des Dickschichtfilmbausteins beginnen.
Bis dahin mein Dank an alle die mich hier mit Rat und Tat unterstützen.
Werde zeitnah über Erfolg oder Misserfolg berichten.

Bis dahin mit den besten Grüßen

Karl-Otto

10.11.10 00:22
Drehkodreher 

100-249 Punkte

10.11.10 00:22
Drehkodreher 

100-249 Punkte

Re: Telefunken Bajazzo Sport 201 kracht plötzlich nur noch

Ein nettes Hallo in die Runde

anbei ein paar Bilder vom Nachbau des Hybridbausteines.

Ich hätte es nicht geglaubt, aber nachgebaut, eingebaut, funzt wie neu.

Um die Platine zu schonen habe ich zuerst einen Sockel für den Hybrid eingebaut.

Der Nachbau ist wie auf dem Foto zu sehen zwar nicht schön, aber dafür sehr selten.

Da der Fehler ja nur zeitweise auftrat werde ich das Radio erst mal ein paar Tage zur Probe laufen lassen.

Wenn dann feststeht dass es 100% am Hybrid gelegen hat, werde ich einen zweiten, (ordentlichen) Nachbau anfertigen

und den Sockel wieder ausbauen. Villeicht gibt ja der Flohmarkt was her, dann kann ich wieder in den Originalzustand kommen.

Hauptsache ich habe mein Erfolgserlebnis und es funktioniert wieder.

Erst mal meinen Dank an alle die mich mit Rat und Tat ( Zeichnung) unterstützt haben.







Viele Grüße

Karl-Otto

Datei-Anhänge
Img_0239.jpg Img_0239.jpg (612x)

Mime-Type: image/jpeg, 43 kB

P1010204.jpg P1010204.jpg (659x)

Mime-Type: image/jpeg, 57 kB

P1010208.jpg P1010208.jpg (664x)

Mime-Type: image/jpeg, 107 kB

10.11.10 23:10
roehrenfreak

nicht registriert

10.11.10 23:10
roehrenfreak

nicht registriert

Re: Telefunken Bajazzo Sport 201 kracht plötzlich nur noch

Hallo Karl-Otto,

also mal ganz ehrlich: Ich find's todchick! Wenn doch die Original-Hybridschaltung kurz- oder mittelfristig nicht zu beschaffen ist, kommt diese (Interims-)Ersatzlösung immer noch besser, als dass das Radio brach liegt oder gar im Schrott landet. Gut Ding will eben Weile haben und der Zweck heiligt die Mittel.

Vielleicht gelingt Dir jetzt sogar die Reparatur des defekten Bausteins. Dazu drücke ich Dir erst einmal die Daumen

Abschliessend stellt sich aber noch für mich die Frage nach dem "Warum?" Warum hat der Hersteller überhaupt diese "verkomplizierte" Technik angewandt? Was hat man sich davon versprochen? Es wäre doch m.E. viel einfacher und produktionstechnisch billiger gewesen, diese ja nicht besonders anspruchsvolle Schaltung direkt auf der Hauptplatine unterzubringen. Wollte man sich vielleicht wieder mit einer "Besonderheit" werbewirksam vom Markt abheben? Ansonsten sehe ich einfach keinen, wie auch immer gearteten, Vorteil in dieser Hybrid-Schaltung. Wie ist da die Meinung im Publikum?

Freundliche Grüsse,
Jürgen rf

Noli turbare circulos meos (Störe meine KREISE nicht! - Archimedes)

10.11.10 23:26
Klarzeichner 

500 und mehr Punkte

10.11.10 23:26
Klarzeichner 

500 und mehr Punkte

Re: Telefunken Bajazzo Sport 201 kracht plötzlich nur noch

Hallo Drehkodreher,

gratuliere - Respekt! Ich würde es so lassen. Klar könnte man irgendwann auf den originalen Baustein umrüsten, aber dann sind garantiert dessen Elkos nach drei Jahren wieder tot. Also, ist prima so, lass es!

Hallo Jürgen,

zu deiner Frage zu Vergussbausteinen und Dickfilmschaltungen: Denen hat man in den Spätsechzigern eine große Zukunft vorausgesagt, als Alternative zu echten ICs (die es ja auch schon gab). Man versprach sich neben Platzersparnis vor allem Rationalisierung, von wegen "der gleiche Baustein für Jahre in jedem Radio unserer Produktion". Den Firmenentwicklern stank dabei an echten ICs, dass sie dort keinen Einfluss auf die Schaltung hatten. Ein TBA 800 ist ein TBA 800, friss und verwende ihn oder stirb. Die Entwickler sahen sich als Sklaven der Halbleiterhersteller-Applikationslabors. Den vergossenen Baustein dagegen konnte man selber nach eigenem Geschmack machen. So sollten die Dinger eine große Zukunft haben.

Es kam natürlich anders, wir wir heute wissen.

Beste Grüße vom

Klarzeichner

10.11.10 23:53
roehrenfreak

nicht registriert

10.11.10 23:53
roehrenfreak

nicht registriert

Re: Telefunken Bajazzo Sport 201 kracht plötzlich nur noch

Hallo Klarzeichner,

das ist natürlich ein Aspekt, unter dem ich die mit Verlaub m.E. fragwürdige Hybrid-Technik noch nicht betrachtet habe. Aus den End-siebzigern sind mir noch Farbfernsehgeräte erinnerlich wie z.B. das K9i und K12-Chassis von Philips. Darin wurden zunächst herkömmliche Module auf Pertinaxbasis eingebaut (z.B. Power Supply Steuermodul (K9i), Chrominance-Modul (K12)). Dann kam man auf die Idee, diese Module in Hybrid-Technologie auf den Markt zu bringen. Mit dem sehr fad erscheinenden Ergebnis, dass genau diese Module noch häufiger als ihre Vorgänger "old school" kaputt gingen. Und die konnte man dann getrost gleich auf den Müll werfen, weil Reparatur so gut wie aussichtslos. Welch ein Fortschritt...

Freundliche Grüsse,
Jürgen rf

Noli turbare circulos meos (Störe meine KREISE nicht! - Archimedes)

11.11.10 07:53
Klaus 

500 und mehr Punkte

11.11.10 07:53
Klaus 

500 und mehr Punkte

Re: Telefunken Bajazzo Sport 201 kracht plötzlich nur noch

roehrenfreak:
Abschliessend stellt sich aber noch für mich die Frage nach dem "Warum?" Warum hat der Hersteller überhaupt diese "verkomplizierte" Technik angewandt? Was hat man sich davon versprochen? Es wäre doch m.E. viel einfacher und produktionstechnisch billiger gewesen, diese ja nicht besonders anspruchsvolle Schaltung direkt auf der Hauptplatine unterzubringen. Wollte man sich vielleicht wieder mit einer "Besonderheit" werbewirksam vom Markt abheben?
Hallo Jürgen,

deine Vermutung bzgl. der "Besonderheit" (Hybrid-Technik) teile auch ich.
Vergleichbar dazu ließen sich die Firmen alles Mögliche einfallen, um sich vom Mitbewerber abzuheben, unabhängig, ob es nun für längere Zeit Bestand hatte oder auch nicht, z.B. Modulbauweise. Marketing spielt wohl auch früher eine große Rolle und irgendwie wurde es dem Kunden immer als Innovation verkauft.

Klarzeichner:
Den Firmenentwicklern stank dabei an echten ICs, dass sie dort keinen Einfluss auf die Schaltung hatten. Ein TBA 800 ist ein TBA 800, friss und verwende ihn oder stirb. Die Entwickler sahen sich als Sklaven der Halbleiterhersteller-Applikationslabors. Den vergossenen Baustein dagegen konnte man selber nach eigenem Geschmack machen.

Hallo Klarzeichner,

auch dieser Aspekt wird wohl eine nicht unwichtige Rolle gespielt haben.
Allerdings gebe ich zu bedenken, dass schon bei den Röhren die Hersteller meist Anwendungsbeispiele lieferten, s.d. der Spielraum bei den Schaltungen schon nicht mehr sehr umfassend war, allerdings wohl immer noch größer als bei ICs.
Ganz besonders zeigte sich das bei späteren bzw. heutigen hochintegrierten Schaltungen, die kaum noch einer externen Beschaltung bedurften/bedürfen.

Viele Grüße
Klaus

11.11.10 21:02
Klarzeichner 

500 und mehr Punkte

11.11.10 21:02
Klarzeichner 

500 und mehr Punkte

Re: Telefunken Bajazzo Sport 201 kracht plötzlich nur noch

Hallo Jürgen, hallo Klaus,

genau so sieht's aus. Wobei die Hersteller die Hybrids eigentlich nie nach außen (als Werbeargument) rausgetragen haben. Grundig hat sie um 1968/70 auch verwendet, z. B. im Stereodecoder 10. Die Dickfilmplättchen im Philips K12 kenne ich auch noch gut, die waren Bockmist. Witzigerweise waren die im Großhandel (Nedis) in den 90er Jahren auf einmal wieder lieferbar.

Mit der Integration, sei es in Hybriden oder als ICs, werden wir Sammler noch unsere Liebe Not haben. Eine RENS-Röhre ist heute einfacher aufzutreiben als frühe TAA- oder TBA-ICs. Und die RENS könnte man notfalls per Adapter sogar noch durch andere Röhren ersetzen, einen frühen IC nur mühsam bis gar nicht.

Was lehrt uns das? Ein Hoch auf die Röhren (nicht, Jürgen?), na ja, und auch auf die diskreten Transistorschaltungen.

Es grüßt der

Klarzeichner

 1 2 3 4 5 6
 1 2 3 4 5 6
Gebrauchtgeräte-Vorführraum   Rundfunk-Fernsehgeschäft   produktionstechnisch   plötzlich   Original-Hybridschaltung   Telefunken   wiederbelebungsversuch   Bajazzo   Lochraster-Platinchen   Opta-Bella-Röhrenradio   Freundliche   Dickschichtfilmbausteins   Halbleiterhersteller-Applikationslabors   Ton-Endverstärkerstufe   Karl-Otto   Transistorschaltungen   verhaltensorientierte   Trial-and-Error-Methode   Mögel-Dellinger-Effekt   Folienkondensatoren