| Passwort vergessen?
Sie sind nicht angemeldet. |  Anmelden

Sprache auswählen:

Wumpus Gollum Forum von
Wumpus Welt der (alten) Radios
Sie sind nicht angemeldet.
 Anmelden

Wer kennt dieses Gerät?
  •  
 1 2 3
 1 2 3
11.07.15 21:57
nobbyrad58 

500 und mehr Punkte

11.07.15 21:57
nobbyrad58 

500 und mehr Punkte

Re: Wer kennt dieses Gerät?

Hallo Joachim!

Meine Nachschau hat folgendes ergeben: Das L System der UEL51 ist fast identisch mit dem der UCL11, das E System mit dem der UEL11, VEL11. Das L System einer UCL11 ist auch eine Tetrode. Nur das E System der UEL51 ist auch eine Tetrode, statt der Triode einer UCL11.
Das heißt, geringerer Durchgriff, höhere Verstärkung beim Vorverstärkersystem der UEL51.
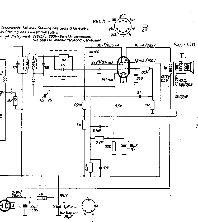
Eine BRD Schaltung mit einer VEL11 hab ich auch. Also NF Vorstufe wie im Teil - Schaltbild unten, Endstufe wie bei der UCL11. Alles Klar

MFG Nobby

Zuletzt bearbeitet am 11.07.15 23:50

Datei-Anhänge
Tetroden .jpg Tetroden .jpg (381x)

Mime-Type: image/jpeg, 140 kB

!
!!! Fotos, Grafiken nur über die Upload-Option des Forums, KEINE FREMD-LINKS auf externe Fotos.    

!!! Keine Komplett-Schaltbilder, keine Fotos, keine Grafiken, auf denen Urheberrechte Anderer (auch WEB-Seiten oder Foren) liegen!
Solche Uploads werden wegen der Rechtslage kommentarlos gelöscht!

Keine Fotos, auf denen Personen erkennbar sind, ohne deren schriftliche Zustimmung.

Den Beitrag-Betreff bei Antworten auf Threads nicht verändern!
12.07.15 12:18
Radiosammler2 

50-99 Punkte

12.07.15 12:18
Radiosammler2 

50-99 Punkte

Re: Wer kennt dieses Gerät?

Hallo micha47!
Ich würde die UEL51 nicht nehmen. Von meinen vielen UEL51 funktionierte nicht eine gut. Meistens hatten sie einen starken Brumm. Messungen auf meinem RPG zeigten keine Auffälligkeiten. Die UEL51 wurde meistens bei einfachen Geräten eingesetzt, sonst immer die UCL11. Platz in der Höhe ist da.
Ich habe einen Drahtwiderstand für 4 U-Röhren (UCH11;UBF11;UCL11;UY11) da.
MfG Radiosammler2

Zuletzt bearbeitet am 12.07.15 13:05

12.07.15 17:47
nobbyrad58 

500 und mehr Punkte

12.07.15 17:47
nobbyrad58 

500 und mehr Punkte

Re: Wer kennt dieses Gerät?

Hallo micha47, Hallo Radiosammler!

Der Drahtwiderstand für die U Röhren muss ein NTC Typ sein. Also speziell für den Heizkreis von Seriengeheizten Röhren. Bei einem normalen Widerstand würden sonst beim Einschalten; also bei kalten Heizfäden die Röhren mit dem geringeren Heizenergiebedarf durchbrennen.
Der NTC Widerstand sorgt für einen langsamen Anstieg der Heizenergie.
Möglich wäre auch eine sehr aufwändige Heizkreisschaltung mit einem 115 V und 40 - 48 V Trafo.

MFG Nobby

12.07.15 18:12
Radiosammler2 

50-99 Punkte

12.07.15 18:12
Radiosammler2 

50-99 Punkte

Re: Wer kennt dieses Gerät?

Hallo!
Man kann ja einen Heißleiter in Reihe schalten. Bei Zwergsuper aus der Zeit waren meistens nur Drahtwiderstände.
MfG Radiosammler2

12.07.15 18:54
nobbyrad58 

500 und mehr Punkte

12.07.15 18:54
nobbyrad58 

500 und mehr Punkte

Re: Wer kennt dieses Gerät?

Hallo Radiosammler2

Hab die Sache mal kurz überschlagen: Der Heißleiter müsste einen Kaltwiderstand von 2000 und einen Warmwiderstand von 800 haben und eine Leistung von 20 W, weil beim kalten Heizkreis die Ströme ja höher sind.
Das sind die dicken Drahtwiderstände, in den Schaltbildern sind die ja auch zu sehen. Es gab auch Stromregelröhren, diese werden aber kaum noch beschaffbar sein, zumindest die mit den richtigen Werten.

MFG Nobby

12.07.15 19:28
Radiosammler2 

50-99 Punkte

12.07.15 19:28
Radiosammler2 

50-99 Punkte

Re: Wer kennt dieses Gerät?

Hallo!
Klar gab es sowas alles, aber nicht im Zwergsuper im 2.WK sei der Hersteller nun Philips; Wega; Lorenz; AEG; Telefunken oder Radione.
MfG Radiosammler2

12.07.15 20:01
nobbyrad58 

500 und mehr Punkte

12.07.15 20:01
nobbyrad58 

500 und mehr Punkte

Re: Wer kennt dieses Gerät?

Hallo Zusammen!

Bei dem Ursprungsradio brauchten die "stärksten" Röhren CL6 35 V Uf, die CY2 30 V Uf, also nur die Hälfte der Heizenergie der U Röhren. Die 3 anderen waren 6,3 V 0,2 A Miniwatt Röhren, die für Parallel und Serienheizung waren.
Hier konnte man eher mit normalen Widerständen die Spannung anpassen. Zum Teil waren die Heizfäden der Netzgleichrichterröhren auch extra dafür gebaut worden.

MFG Nobby

12.07.15 20:13
micha47 

250-499 Punkte

12.07.15 20:13
micha47 

250-499 Punkte

Re: Wer kennt dieses Gerät?

Hallo in die Runde,
ich kenne die Heizkreise von Allstromempfängern, also Serienheizung so, dass natürlich ein temperaturabhängiger Vorwiderstand einbezogen wird, ein Heißleiter oder ein Urdox, zusätzlich ein entsprechend dimensionierter Vorwiderstand. Der Einschaltstromstoß bei kalten Röhren ist so groß, dass es sehr viele Röhren nicht lange überleben würden. Auch die Reihenfolge der Einordnung der Röhren an die günstigste Stelle im Heizkreis spielt eine Rolle.
Heizfadenbrüche in seriengeheizten Rundfunkempfänger waren ein "beliebter" Fehler.
Was meinen Empfänger betrifft, bin ich noch dabei "mechanische" Arbeiten zu erledigen. Der elektrische Teil folgt später und der Heizkreis ist eigentlich nicht das größte Problem.
Was die Bestückung der NF betrifft bin ich noch nicht sicher. Der Umbau erfolgte jedenfalls mit einer UEL51, eine andere Konfiguration ist durch mich ohne Probleme möglich und was die Mängel UEL51 betrifft, das mag zutreffen.
MfG
Joachim

 1 2 3
 1 2 3
Vorverstärkersystem   Schirmgitterspannungen   Gemeinschaftsempfänger   Netzgleichrichterröhren   Vorwiderstand   Preisvorstellungen   Schaltungsunterlagen   Rundfunkgerätemarkt   Leistungsverbrauch   Schaltungsanpassung   Fertigungsprogramm   Standardröhrensatz   welt-der-alten-radios   Bügeleisenuntersetzer   Herdtürenabdichtungen   Allerweltswerkstoff   Wiederinbetriebnahme   Standardapplikation   Radiosammler2   temperaturabhängiger