| Passwort vergessen?
Sie sind nicht angemeldet. |  Anmelden

Sprache auswählen:

Wumpus Gollum Forum von
Wumpus Welt der (alten) Radios
Sie sind nicht angemeldet.
 Anmelden

SAQ: Teiler für Überlagerungsoszillator (Direktmischer, Abwärtsmischer)
  •  
 1 2 3
 1 2 3
22.04.24 10:50
Bulova 

250-499 Punkte

22.04.24 10:50
Bulova 

250-499 Punkte

Re: SAQ: Teiler für Überlagerungsoszillator (Direktmischer, Abwärtsmischer)

Hallo Jens,

ja, gefunden!



Rechts sieht man eine ISA-Slot-Leiste, dort stellt man in binärer Form den Teilungsfaktor ein (einfach durch Einstecken von Drahtstiften). Zusätzlich am Drehschalter lassen sich weitere Teilungen als Zweierpotenz einstellen. Es sind nur 21 Dioden vorhanden, wahrscheinlich hatte ich seinerzeit keine größeren Teilungsverhältnisse als notwendig erachtet. Damit schätze ich, dass sich Teilungsverhältnisse 1 bis 2^21 multipliziert mit 2^1 bis 2^12 einstellen lassen. Der Quarz schwingt mit (nur) 1 MHz.

Viele Grüße

Dieter

Datei-Anhänge
Teilergenerator.jpg Teilergenerator.jpg (132x)

Mime-Type: image/jpeg, 474 kB

!
!!! Fotos, Grafiken nur über die Upload-Option des Forums, KEINE FREMD-LINKS auf externe Fotos.    

!!! Keine Komplett-Schaltbilder, keine Fotos, keine Grafiken, auf denen Urheberrechte Anderer (auch WEB-Seiten oder Foren) liegen!
Solche Uploads werden wegen der Rechtslage kommentarlos gelöscht!

Keine Fotos, auf denen Personen erkennbar sind, ohne deren schriftliche Zustimmung.

Den Beitrag-Betreff bei Antworten auf Threads nicht verändern!
22.04.24 16:19
basteljero 

500 und mehr Punkte

22.04.24 16:19
basteljero 

500 und mehr Punkte

Re: SAQ: Teiler für Überlagerungsoszillator (Direktmischer, Abwärtsmischer)

Hallo Dieter,
Das ist schon eine Nummer zu groß...


Man könnte sogar noch abspecken, wenn man den Oszillator extern z.B. in ein etwas größeres
Batterie-Gehäuse einbaut und die Überlagerungs-Frequenz als auch die Kontroll-Frequenz zum Abgleich
der Empfänger-Kreise von einer Quarzfrequenz ableitet.
Die Kontroll-Frequenz kann dann über Taste (Spannungsversorgung Teiler) gemacht werden, man braucht
sie ja nur kurz, und dann stört sie nicht.

Die Bilder mit einigen Quarzen sind in einem vorigen Beitrag aktualisiert, dazu die von "ods" nach "xls" umgewandelte
Tabelle eingestellt.

Zitieren:
Der Quarz schwingt mit (nur) 1 MHz.
Das wäre natürlich Voraussetzung, dass die angegebene Schaltung auch bis etwa 5MHz-Takt noch einwandfrei
arbeitet.
(https://de.wikipedia.org/wiki/Transistor-Transistor-Logik)
Das ist für mich Neuland, aber der HC00 macht keine Schwierigkeiten bei der Schwingungserzeugung,
der Hochvolt 4010CD teilt ohne Probleme auch unterhalb der 9 Volt-Versorgungsspannung bis 6,5 Volt
herunter.
Erst ab 12 Volt erkennt er den high-Pegel des 5 Volt-HC00-Bausteine in dieser hochsauberen Konstruktion
nicht mehr.

der Hochvolt 4040CD ist auch bis 8 MHz maximale Taktrate bei 9 Volt angegeben.

Die 5V-Bausteine gehen in der Frequenz teilweise wohl noch wesentlich höher, der M74HC4040 (Reichelt) ist
mit 25 MHz angegeben, je nach Umgebungs-Temperatur.
----
Ist ja nicht so, dass man keine Ideen hätte:
Wenn das Teiler-Verhältnis eines 4,000 MHz-Quarzes zwischen 133 und 132 zyklisch wechseln würde,
hätte man zwei Marken:
Eine bei 17,168 kHz und eine bei 17,2414 kHz ...


Gruß
Jens

Zuletzt bearbeitet am 22.04.24 16:41

22.04.24 17:04
Bulova 

250-499 Punkte

22.04.24 17:04
Bulova 

250-499 Punkte

Re: SAQ: Teiler für Überlagerungsoszillator (Direktmischer, Abwärtsmischer)

Hallo Jens,

basteljero:
der Hochvolt 4040CD ist auch bis 8 MHz maximale Taktrate bei 9 Volt angegeben.
nach meinem alten Datenbuch von Fairchild arbeiten die 4040 sogar bei 10 MHz (typisch) bei 5 V und 30 MHz (typisch) bei 15 V.
In meinem Board befinden sich MC14040B von Motorola. Das Onsemi-Datenblatt sagt hierzu jeweils die Hälfte der Frequenzen, also 5MHz@5V und 15MHz@15V.
Bei den x in Serie geschalteten Flipflops darf man ja auch nicht vernachlässigen, dass sich die Schaltzeiten summieren, d. h. die Kippzustände finden nicht synchron statt.

Übrigens hat der ISA-Slot nur 22 Kontaktpaare, deswegen habe ich auch die unteren beiden LSBs ausgelassen, sonst hätte ich 2x12 Kontaktpaare haben müssen. Der dritte Chip teilt nur noch in Zweierpotenzen. Das bedeutet, das 1MHz-Signal vom Quarz wird mindestens durch 8 geteilt. Es ergibt sich also T = 8 µs * k * 2^n mit k: 1...(2^22-1) und n: 0...11, also Bereich ist 8 µs bis 68719 s, das sind mehr als 19 Stunden, aber auf dieser Frequenz oszilliert wohl niemand mehr. Vielleicht Pulsare ...

Gruß

Dieter

27.04.24 23:16
basteljero 

500 und mehr Punkte

27.04.24 23:16
basteljero 

500 und mehr Punkte

Re: SAQ: Teiler für Überlagerungsoszillator (Direktmischer, Abwärtsmischer)

Hallo,
ein erster Test mit dem SCL4060BE in der "neuen Schaltung":


Anstelle der nicht vorhandenen kapazitätsarmen 1N4149 wurden die Schottky-SD101B
eingebaut, ebenfalls etwa 2pF Kapazität.

Der Aufbau führte letztendlich zu einem einfachen 17,1800 kHz-Oszillator, mit dem das SAQ-Signal
simuliert wird und so das Gesamtsystem getestet bzw. SAQ simuliert werden kann.


Der verwendete 4 MHz-Quarz ließ sich auf etwa 4003 kHz ziehen.

Das ungerade Teiler-Verhältnis mag mit dem Reset des Oszillators beim Master-Reset zusammenhängen,
wobei der Quarz während dieser kurzen Zeit weiterschwingt.

Der Teiler müsste 4002,94 kHz/ 17,18 kHz= 233 betragen, das mit den zur Verfügung stehenden Ausgängen
nicht realisiert werden kann.
Tatsächlich wird durch 466 geteilt, warum auch immer.

Von daher also ein "Unikat"

Mit externem Sinus-Generator anstelle des Quarzes das gleiche Ergebnis, der SCL4060BE arbeitete
bei 9Volt von 8 kHz bis 8 MHz einwandfrei, der Teiler blieb gleich.

Erst bei 12 MHz kam es zu Fehlern bei der Zählung. (9Volt Betriebsspannung)

Fazit:
Mit dem 4060 lassen sich einfache Teilerschaltungen aufbauen, für einen Standard-Teiler muss aber noch
Entwicklungsarbeit geleistet werden:
- Reset erst dann, wenn Pegel definiert anliegen
- Klärung der Frage, wie sich der Reset genau auf den Oszillator und das Zählverhalten auswirkt.

Gruß
Jens

Zuletzt bearbeitet am 29.04.24 08:44

Datei-Anhänge
Test 4060BE 4 Mhz-Quarz_2024-04-27.JPG Test 4060BE 4 Mhz-Quarz_2024-04-27.JPG (135x)

Mime-Type: image/jpeg, 25 kB

Kontrolloszillator 17,18000 kHz-4MHz-Quarz_2024-04-28.JPG Kontrolloszillator 17,18000 kHz-4MHz-Quarz_2024-04-28.JPG (128x)

Mime-Type: image/jpeg, 106 kB

29.04.24 12:50
Bulova 

250-499 Punkte

29.04.24 12:50
Bulova 

250-499 Punkte

Re: SAQ: Teiler für Überlagerungsoszillator (Direktmischer, Abwärtsmischer)

Hallo Jens,

basteljero:
Anstelle der nicht vorhandenen kapazitätsarmen 1N4149 wurden die Schottky-SD101B
eingebaut, ebenfalls etwa 2pF Kapazität.
ich habe die 1N4149 nur aus Verlegenheit benutzt, weil das Multisim (noch) keine 1N4148 als Modell hatte. Ich hätte auch die 1N4448 nehmen können.
Aber Kapazitäten der Dioden sind schon ein Thema, denn die Simulation läuft bei mir nicht erwartungsgemäß mit den Dioden, da schon eine einzelne Diode bei H einen Reset auslösen kann. Gegenmaßnahme (jedenfalls in der Simulation) ist die Belastung des UND-Gatters durch eine Kapazität mit ca. 10p. Dann läuft alles ordnungsgemäß. Es stellt sich bei mir auch ein Teilungsfaktor von 233 ein. Das hat wahrscheinlich etwas mit den Laufzeiten zu tun. Der 4060 ist ja ein Asynchronzähler, d. h. wenn es vorne "klick" macht, dauert es eine gewisse Zeit, bis ein höherwertiges Bit auch "klick" macht. Und so lange eben läuft der Zähler weiter, zumindest in den untersten Stufen.
basteljero:
Das ungerade Teiler-Verhältnis mag mit dem Reset des Oszillators beim Master-Reset zusammenhängen,
wobei der Quarz während dieser kurzen Zeit weiterschwingt.
Der Reset sollte eigentlich ziemlich synchron arbeiten, aber wie gesagt, die in Serie geschalteten Flipflops fabrizieren in Summe Schaltzeiten, die nicht zu vernachlässigen sind. Das Datenblatt von TI gibt eine "Propagation Delay" von knapp 400 ns vom Eingang bis Q4 (eigentlich Q3 bei Q0-Anfang) an (bei 5 V) und von Stufe zu Stufe 100 ns.
basteljero:
Tatsächlich wird durch 466 geteilt, warum auch immer.
Seltsam, das dürfte eigentlich nicht sein. Vielleicht hast Du die Dioden um ein Bit "nach oben" geschoben. Manchmal gibt es Diskrepanzen in den Datenblättern, manche beginnen bei Q0, andere wiederum bei Q1. (Beispielsweise habe ich eines von TI, da geht es von Q4 bis Q14, da kann man schon leicht verwirrt werden.)
Ich habe auch noch eine Simulation mit dem UND-Gatter 1/2 4082 und auch mit den NAND-Gattern 4012 durchgeführt. Die sind auch problemlos gelaufen.

Gruß

Dieter

29.04.24 16:37
basteljero 

500 und mehr Punkte

29.04.24 16:37
basteljero 

500 und mehr Punkte

Re: SAQ: Teiler für Überlagerungsoszillator (Direktmischer, Abwärtsmischer)

Hallo Dieter,

Zitieren:
Seltsam, das dürfte eigentlich nicht sein

Und ist glücklicherweise wohl auch nicht der Fall:
So einfach, wie ich mir das gemacht habe, also einfach die Teilerwerte addieren, geht nicht.

Es scheint notwendig zu sein, sich näher mit den Binärzählern 4040 und 4060 zu befassen.
Der 4060 ist natürlich deshalb interessant, weil man einen Quarz direkt anschließen kann.
Auf die ersten drei Flip-Flops ( O0 bis O3) und auf O10 hat man keinen Zugriff, der Teiler "/16"
ist an Pin 7 abgreifbar.

Und hier lag der Fehler:
Nicht das Teiler-Verhältnis anschauen, sondern schauen, wann die ausgewählten Ausgänge H-Pegel
(positive Spannung) haben und über die nachfolgende "und"-Verknüpfung einen Reset des Bausteines
ausführen können.
Im Datenblatt des 4040 ist zu lesen, dass dabei ein zusätzlicher Takt erzeugt wird.
Damit ließe sich ein ungerades Teilerverhältnis auch bei dem 4060 erklären.

Bei dem wird auch noch beim MR (Pin 12) der interne Oszillator abgeschaltet, was aber wohl keinen
Einfluss auf den schwingenden Quarz-Kristall haben dürfte, der sich ja wie ein Resonanzkreis extrem hoher
Güte verhält und lustig weiter rumresoniert.

Man muss in dem Fall "4002,94 KHz" also anders rechnen:
Teiler "256" geht nach 128 Taktzyklen in den H-Status
Teiler "128" geht nach weiteren 64 Zyklen in den H-Status (192)
Teiler " 64" geht nach weiteren 32 Zyklen in den H-Status (224)
Teiler 32 wird nicht abgefragt
Teiler " 16" geht nach weiteren 8 Zyklen in den H-Status (232)
Jetzt ist die Bedingung für den Master-Reset gegeben, er wird ausgeführt und ein zusätzlicher
Takt erzeugt: 233
Gibt bestimmt noch einen Trick, wie man "gerade" Teilerverhältnisse hinbekommt.
----
Gerade sehe ich aber, dass mit dem hier benutzten 4 MHz-Quarz und dem Teiler 241
eine Frequenz von 16,5975 kHz und damit ein 600 Hz-Ton erzeugt werden kann.
Das wären nach der Überlegung die Ausgänge ":256", ":128", ": 64",":32", also ebenfalls ein Fall
für den 4060 !
Dabei muß der Quarz hier für exakte 16,6000 kHz nur auf 4000,6 kHz gezogen werden.



Gruß
Jens

Zuletzt bearbeitet am 29.04.24 17:26

Datei-Anhänge
Teiler 4060-intern und O3.JPG Teiler 4060-intern und O3.JPG (129x)

Mime-Type: image/jpeg, 26 kB

29.04.24 17:21
Bulova 

250-499 Punkte

29.04.24 17:21
Bulova 

250-499 Punkte

Re: SAQ: Teiler für Überlagerungsoszillator (Direktmischer, Abwärtsmischer)

Hallo Jens,

basteljero:
So einfach, wie ich mir das gemacht habe, also einfach die Teilerwerte addieren, geht nicht.
ja genau, ganz einfach gesprochen, Q0 teilt durch zwei, zählt aber nur bis 1, Q1 teilt durch 4, zählt aber nur bis 2, wenn darauf der Reset stattfinden soll.
basteljero:
Im Datenblatt des 4040 ist zu lesen, dass dabei ein zusätzlicher Takt erzeugt wird.
Damit ließe sich ein ungerades Teilerverhältnis auch bei dem 4060 erklären.
So etwas habe ich in meinem Datenblatt nicht gefunden.
Wenn die Dauer des Reset weit unter der Taktzeit liegt, sollte da kein weiterer Taktzyklus nötig sein. Bei z. B. 256 für Q8 auf H erfolgt in kurzer Zeit der Reset und der Zähler steht auf 0, und beim nächsten Takt geht er schon wieder auf 1. Problematisch wird es nur dann, wenn die Ausgänge merklich asynchron kippen, dann könnte es theoretisch sogar vorkommen, dass der Reset nie stattfindet.

Gruß

Dieter

29.04.24 18:40
basteljero 

500 und mehr Punkte

29.04.24 18:40
basteljero 

500 und mehr Punkte

Re: SAQ: Teiler für Überlagerungsoszillator (Direktmischer, Abwärtsmischer)

Hallo Dieter,

Zitieren:
Es stellt sich bei mir auch ein Teilungsfaktor von 233 ein.
Demnach hast Du die Möglichkeit, den 4060 zu simulieren ?
Bei mir ist das Problem, dass der Frequenzzähler bei sehr niedrigen Frequenzen nicht mehr korrekt anzeigt.
In der Simulation könnte man aber sehr niedrige Frequenzen anwenden und schauen, ob sich das Teiler-Verhältnis
ändert.
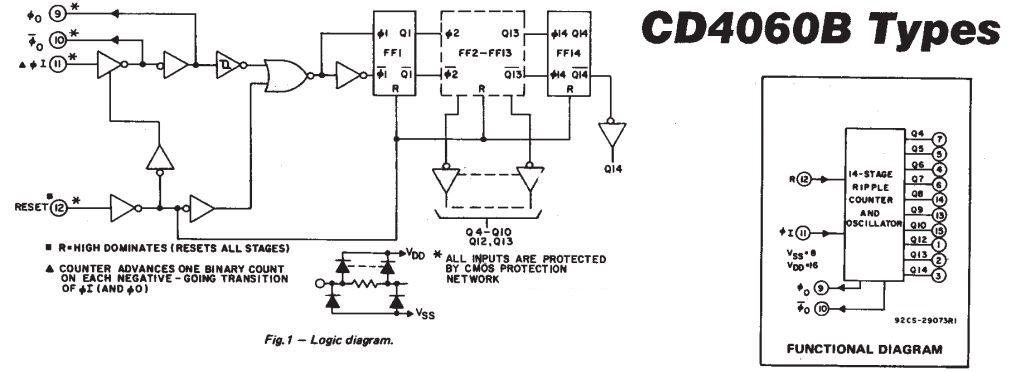
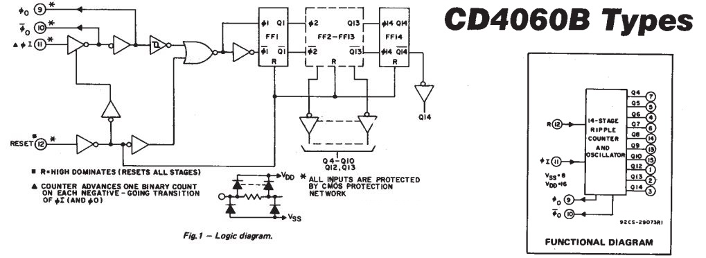
Im Auszug des Datenblattes des 4060 ist gezeichnet, dass der Reset auch auf den Oszillatorteil wirkt:


Der Teiler 233 in praktischen Aufbau ist ja gesichert, da sich der Quarz nur in sehr geringem Maße ziehen lässt
und die Frequenz springen würde:
4000 kHz / 232 = 17,241 kHz
4000 kHz / 233 = 17,167 kHz
4000 kHz / 234 = 17,094 kHz

das wurde aber erst bei 12 MHz beobachtet, sie schon geschrieben.
Bei 4 MHz wird der Empfänger-Hörton leise und tiefer,
wenn die Versorgungsspannung auf 6 Volt erniedrigt wird.

Ansonsten war es nur mit "großem" 56pF-Kondensator von MR nach Masse möglich,
das Arbeiten des 4060 zu stören, der ansonsten sehr stabil in dieser Schaltung zu sein scheint.

Es wäre natürlich schön zu wissen, ob der 4060 von "Haus aus" die 233 zählt, oder ob hier die
Version "SCL4060BE" bei 4 MHz überfordert ist.

Gruß
Jens

Zuletzt bearbeitet am 29.04.24 19:10

Datei-Anhänge
Auszug 4060-Texas-Instruments.JPG Auszug 4060-Texas-Instruments.JPG (122x)

Mime-Type: image/jpeg, 88 kB

29.04.24 19:27
Bulova 

250-499 Punkte

29.04.24 19:27
Bulova 

250-499 Punkte

Re: SAQ: Teiler für Überlagerungsoszillator (Direktmischer, Abwärtsmischer)

Hallo Jens,

basteljero:
Demnach hast Du die Möglichkeit, den 4060 zu simulieren ?
ja, Multisim kann das. Das mit dem von mir genannten Teilungsverhältnis von 233 ist nicht so genau zu nehmen, denn ich hatte dies anhand einer Zeitenmessung per Cursor vorgenommen. Das ist jedoch nicht sonderlich genau. Wahrscheinlich ließe sich dies noch verfeinern, indem ich die Zeitschritte verkleinere.
Wenn es jedoch genau hergehen soll, ist eine Zweikanaldarstellung mit einem Referenzgenerator der Frequenz 17241,379 Hz (was einer Teilung von 232 entspricht) besser geeignet. Mit dieser Anordnung gibt es lange Zeit keinen Versatz beider Signale, dagegen wenn ich den Referenzgenerator auf 17167 Hz (bzw. 17094 Hz) einstelle, sehe ich schon nach wenigen Perioden einen gegenseitigen Versatz.
Der Frequenzmesser von Multisim hilft hier nicht, er zeigt nichts an, was noch zu untersuchen wäre.
basteljero:
Im Auszug des Datenblattes des 4060 ist gezeichnet, dass der Reset auch auf den Oszillatorteil wirkt:

Ja, das ist schon klar, da wird halt der Clock-Eingang geblockt, sodass keine weiteren Zählungen mehr stattfinden können. Ist wohl dazu gedacht, die Reset-Propagation zu umgehen, weil vielleicht die Gatter schneller sind als der Reset-Vorgang. Ist aber nur eine Vermutung von mir.
Den Quarz selbst zu stoppen, wäre nicht sinnvoll, denn das Wiederanlaufen könnte nicht in der Zeit null geschehen.

Gruß

Dieter

29.04.24 23:47
basteljero 

500 und mehr Punkte

29.04.24 23:47
basteljero 

500 und mehr Punkte

Re: SAQ: Teiler für Überlagerungsoszillator (Direktmischer, Abwärtsmischer)

Hallo Dieter,
Da mir solche Sachen sowieso keine Ruhe lassen, habe ich eben nochmal eine kleine Meßreihe
durchgeführt:
Das Signal wurde anstelle des Quarzes eingespeist.
Bis etwa 2 MHz arbeitet die Schaltung mit dem SCL4060 korrekt:

2320,00 Hz - 10Hz, => Teiler 232 UB = 9V
2320,00 kHz - 10,000 kHz => Teiler 232 UB = 9V

4660 kHz - 20,000 kHz => Teiler 233, UB = 9V
4640 kHz - 20.000 kHz => Teiler 232, UB = 16 V

Der SCL4060BE kommt in dieser Schaltung also irgendwo zwischen 2,3 MHz und 4 MHz in den
Grenzbereich, mit Ach und Krach kann der durch Erhöhung der Versorgungsspannung noch
etwas nach oben gezogen werden.

Nun beträgt die Periodendauer einer 4 MHz-Schwingung 250 ns, das Datenblatt gibt für diesen
älteren Baustein z.B. folgende Daten an:


Von daher sind die Ergebnisse des Testaufbaues gar nicht mal so schlecht.

Gruß
Jens

Datei-Anhänge
SCL4060-Daten-Auszug.JPG SCL4060-Daten-Auszug.JPG (137x)

Mime-Type: image/jpeg, 42 kB

 1 2 3
 1 2 3
Abwärtsmischer   hintereinandergeschaltet   Frequenz   Teilungsverhältnisse   NTSC-Farbhilfsträger-Quarz   HC00-4-fach-NAND-Bausteins   kHz-Rechteck-Schwingung   Direktmischer   bearbeitet   Überlagerungs-Oszillator   Volt-Versorgungsspannung   Heterodyne-Empfänger   Zuletzt   Überlagerungsoszillator   Überlagerungs-Frequenz   Transistor-Transistor-Logik   9V-Blockbatterie-Westentaschen-SAQ-Kontrolloszillator   Teiler-Verhältnis   Schaltung   Teilerverhältnisse