| Passwort vergessen?
Sie sind nicht angemeldet. |  Anmelden

Sprache auswählen:

Wumpus Gollum Forum von
Wumpus Welt der (alten) Radios
Sie sind nicht angemeldet.
 Anmelden

Gegentakt Audion
  •  
 1 2 3 4 5
 1 2 3 4 5
06.08.10 23:40
roehrenfreak

nicht registriert

06.08.10 23:40
roehrenfreak

nicht registriert

Re: Gegentakt Audion

Hallo zusammen, hallo Franz,

nach der Vorführung muss sich schon sagen - die Schaltung spielt sehr ordentlich. Trennscharf und mit verhältnismässig sehr kurzer Antenne ist das Empfangsergebnis bei Tage äusserst respektabel. Wie sieht´s denn nach Einbruch der Dämmerung aus? Da müsste doch der Deibel los sein, oder irre ich mich?

Freundliche Grüsse,
Jürgen rf

Noli turbare circulos meos (Störe meine KREISE nicht! - Archimedes)

!
!!! Fotos, Grafiken nur über die Upload-Option des Forums, KEINE FREMD-LINKS auf externe Fotos.    

!!! Keine Komplett-Schaltbilder, keine Fotos, keine Grafiken, auf denen Urheberrechte Anderer (auch WEB-Seiten oder Foren) liegen!
Solche Uploads werden wegen der Rechtslage kommentarlos gelöscht!

Keine Fotos, auf denen Personen erkennbar sind, ohne deren schriftliche Zustimmung.

Den Beitrag-Betreff bei Antworten auf Threads nicht verändern!
07.08.10 09:23
Franz 

0-49 Punkte

07.08.10 09:23
Franz 

0-49 Punkte

Re: Gegentakt Audion

Hallo Jürgen, hallo zusammen,
Jürgen, ich wohne , wie Du weisst in einem breitbandigen Stör-Nebel, damit ist bei mir mit Fernempfang keinen Staat zu machen, leider ! war aber nicht immer so; Ursache ist eindeutig das benachbarte Trafo-Haus und damit das EVU, will heissen Reklamationen von vorherein sinnlos.
Übrigens in der Schaltung meiner noch nicht verwirklichten Vorstufe habe ich versehentlich das Schirmgitter fälschlich an + F anstatt + A eingezeichnet. War kein Test, nur Lapsus. Wenn ich sie verwirklicht habe, werde ich noch mal darüber berichten. Vielleicht, Jürgen, probieren wir das Konstrukt an Deiner Antennenanlage dann mal aus ? Wird aber noch ein bischen dauern, weil sich einiges hausbautechnisches in den Vordergrund drängt .
Liebe Grüsse Franz

03.10.10 12:26
Franz 

0-49 Punkte

03.10.10 12:26
Franz 

0-49 Punkte

Re: Gegentakt Audion

Hallo zusammen,
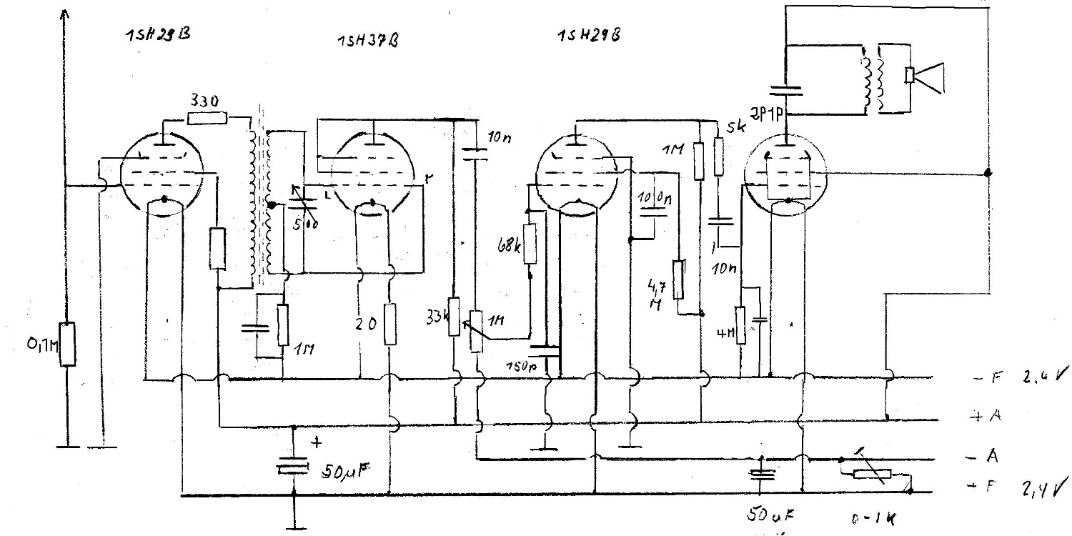
ich habe noch ein bischen weiter gebastelt: Das Audion funktioniert mit neuem auf Ferritkern gewickelten Spulensatz und dem Vorverstärker sehr gut. Nicht so befriedigend ist die Qualität des Verstärkes mit der 2P1P . Ich habe schon verschiedene Varianten versucht; AÜ Impedanz von 5k, 10 und 20k ; G1 Ableitwiderstand über 3-4 Meg an -F ; selbst mit einer variablen Gitterbatterie konnte eine Verzerrung nicht beseitigt werden. Am G1 der 2P1P ist der Klang mit Signalverfolger noch einwandfrei. Es liegt also zweifelsfrei an den P21P- Einsatzbedingungen. Am besten klappt es mit einer Anodensp. von 45 V. An G1 messe ich so um die -2 V gegen -F.
Ich füge die letzten 2 Schaltungsvarianten an. Vielleicht hat jemand eine Idee ?
Ich habe heute mit meinem eig. Sender experimentiert. Die Tonqualität des Audions entsprach dabei ungefähr der des DKE welcher zu Kontrolle mitlief. also ziemlich unrein.
Grüsse Franz

Datei-Anhänge
Wunderlich1.jpg Wunderlich1.jpg (668x)

Mime-Type: image/pjpeg, 190 kB

Wunderlich2.jpg Wunderlich2.jpg (679x)

Mime-Type: image/pjpeg, 80 kB

Gegentakt1.jpg Gegentakt1.jpg (654x)

Mime-Type: image/pjpeg, 174 kB

Gegentakt2.jpg Gegentakt2.jpg (637x)

Mime-Type: image/pjpeg, 167 kB

Gegentakt4.jpg Gegentakt4.jpg (582x)

Mime-Type: image/pjpeg, 120 kB

Gegentakt5.jpg Gegentakt5.jpg (578x)

Mime-Type: image/pjpeg, 107 kB

Gegentakt3.jpg Gegentakt3.jpg (632x)

Mime-Type: image/pjpeg, 175 kB

03.10.10 12:58
Martin.M 

500 und mehr Punkte

03.10.10 12:58
Martin.M 

500 und mehr Punkte

Re: Gegentakt Audion

hallo Franz,

ich hab da so ne Vermutung

verpole bitte mal die beiden Heizanschlüsse der 2p1p und teste dann nochmal...

nette Grüße
Martin

03.10.10 17:00
qw123 

500 und mehr Punkte

03.10.10 17:00
qw123 

500 und mehr Punkte

Re: Gegentakt Audion

Hallo Franz

Franz:
Nicht so befriedigend ist die Qualität des Verstärkes mit der 2P1P . Ich habe schon verschiedene Varianten versucht; AÜ Impedanz von 5k, 10 und 20k ; G1 Ableitwiderstand über 3-4 Meg an -F ; selbst mit einer variablen Gitterbatterie konnte eine Verzerrung nicht beseitigt werden.

ich muß gestehen, daß ich selbst keine Erfahrung mit der 2P1P habe. Wenn Du Dir aber die Kennlinien dieser Röhre anschaust, kannst Du zweierlei feststellen, was für die Verzerrungen der Endstufe verantwortlich sein könnte.

1. den günstigsten Arbeitswiderstand bei so niedrigen Anodenspannungen (45V) würde ich eher bei Werten von wenigen (<5) kOhm suchen.
2. die 2P1P braucht für den optimalen Arbeitspunkt eine relativ große negative Gittervorspannung. Schätzungsweise negativer als -5V. Vielleicht solltest Du den Versuch mit der Gitterbatterie daraufhin nochmal wiederholen. Mehr als wenige 10 mW halbwegs unverzerrte Ausgangsleistung sind allerdings nicht zu erwarten.

Grüße

Heinz

03.10.10 22:45
roehrenfreak

nicht registriert

03.10.10 22:45
roehrenfreak

nicht registriert

Re: Gegentakt Audion

Hallo Franz,

den Ausführungen vom Heinz schliesse ich mich mal vorsichtig an. Es kann durchaus sein, dass die -GV nach Schaltung 2 noch nicht ausreichend ist, um die Endröhre in den richtigen Arbeitspunkt zu bringen, welcher für die verwendete Eintakt-A-Endstufe möglichst genau auf der Mitte der Aussteuerkennlinie liegen sollte.

Abhilfe könnte bspw. ein weiterer Stellwiderstand in Reihe zu dem 0...1k im Fusspunkt des Anodenstromkreises bringen. Am negativsten Punkt (=-A) wäre der 4-Meg-Ohm-R vom SG der 2P1P anzubeinen (da, wo jetzt der SG-Kreis der 1SH29B/NF-Vorröhre dran hängt) und am Knotenpunkt der beiden Stellwiderstände der "kalte" Anschluss des Lautstärkestellers. Mit 10 bis 100nF nach Masse gegen Rückwirkungen evtl. abblocken. Die Einstellerei könnte etwas herausfordernd sein, weil sich beide Stellwiderstände gegenseitig beeinflussen werden.

Freundliche Grüsse,
Jürgen rf

Noli turbare circulos meos (Störe meine KREISE nicht! - Archimedes)

04.10.10 09:40
Franz 

0-49 Punkte

04.10.10 09:40
Franz 

0-49 Punkte

Re: Gegentakt Audion

Hallo zusammen, vielen Dank für Eure Anregungen. Ich werde entsprechende Versuche machen und dann darüber berichten.
$$ Martin; nach meinen ( sparsamen ) Unterlagen ist Pkt 1 des Sockels für Minus vorgesehen. Ich habe mal die Mitte ( Pkt 5 ) als Anschluss für die Gitterabl. versucht . Ergebnis: Gitter wurde positiver .

§§ Heinz, ich habe leider keine für mich lesbaren Daten der Röhre. Kann leider russisch nicht entziffern. Aber ich werde mal versuchen, selbst welche zu erstellen. Ein Netzteil mit variablen Anoden- und Gitterspannungen besitze ich.

$$ Jürgen, ich werde das mal abarbeiten. Es ist sicher so, dass der Arbeitspunkt nicht richtig ist. Das kann man schon auch daran herleiten, dass der Anodenstrom bei grosser Lautstärke fällt und bei "Regler auf leise" ansteigt. Wenn ich den Fusspunkt Regler( 0-1k ) von 0 auf mehr stelle. verzerrt es mehr und fängt an zu pulsen. Die Sache wird, wie alles bei mir, aber noch dauern. Ich bin ab Ende der Woche wieder im Schwarzwald und habe vorher noch einiges andere in Haus und Hof zu erledigen.
Anschliessend bekomme ich neue Fenster in meine Kellerwerkstatt sodass ich erst einmal verschiedenes abräumen muss.
Ich melde mich wenn wieder alles palletti ist.
Liebe Grüsse Franz

04.10.10 16:53
Martin.M 

500 und mehr Punkte

04.10.10 16:53
Martin.M 

500 und mehr Punkte

Re: Gegentakt Audion

hallo Franz,

mail mir den Zettel einfach durch, ich hab auf der Arbeit viele russ. Kolegen und kann das da übersetzen lassen.

nette Grüße
Martin

04.10.10 20:02
Pluspol 

500 und mehr Punkte

04.10.10 20:02
Pluspol 

500 und mehr Punkte

Re: Gegentakt Audio-Daten 2P1P

Hallo Franz,

ich habe die Daten der russischen 2P1P in meinem antiken DDR-Röhrentaschenbuch gefunden. Sie lauten:

bei Uf=1,2 Volt, If=0,12A,Ua=90V, Ug2=90V, Ug1=-4,5V, Ia=9,5mA, Ig2=2,2mA, S=2,1mA/V, Ri=85KOhm,Ra=10KOhm

bei Uf=2,4V, IF=0,06A, Ua=67,5V, Ug2=67,5V, Ug1=-3,5V, Ia=2,8mA, Ig2=0,65mA, S=0,9mA/V, Ri=260KOhm, Ra=24KOhm

Uamax.=100Volt, Namax.=0,85Watt

Dann noch viel Erfolg und lass die Röhren glühen.

Freundliche Grüße von Dietmar

Zuletzt bearbeitet am 04.10.10 20:13

04.10.10 22:55
roehrenfreak

nicht registriert

04.10.10 22:55
roehrenfreak

nicht registriert

Re: Gegentakt Audion

Hallo Franz,

hab' da was gefunden - schau doch mal in Deine e-mails...

Freundliche Grüsse,
Jürgen rf

Noli turbare circulos meos (Störe meine KREISE nicht! - Archimedes)

 1 2 3 4 5
 1 2 3 4 5
Schaltungsbroschüren   Schaltung   III-mit-Querpfeil-Zeichen   wumpus-gollum-forum   zusammen   Spannungsversorgung   Freundliche   DDR-Röhrentaschenbuch   Verstärkungsregelung   Kapazitätsvariation   Spannungsabweichungen   Rückkopplungsanzapfung   Gegentakt   Kleinspannungsröhren   Gegentaktschaltung   Stabilisierungsmassnahmen   Bereichsumschaltung   Empfangsverbesserung   Wunderlich   Schaltungsvarianten