| Passwort vergessen?
Sie sind nicht angemeldet. |  Anmelden

Sprache auswählen:

Wumpus Gollum Forum von
Wumpus Welt der (alten) Radios
Sie sind nicht angemeldet.
 Anmelden

Ferritstabantenne: Spulenposition und andere Aspekte
  •  
 1 .. 5 6 7 8 9 .. 17
 1 .. 5 6 7 8 9 .. 17
28.02.23 20:44
HB9 

500 und mehr Punkte

28.02.23 20:44
HB9 

500 und mehr Punkte

Re: Ferritstabantenne: Spulenposition und andere Aspekte

Hallo zusammen,

hier noch die versprochenen Daten und Bilder von den Ferritantennen des Resonar:

Ferritstäbe: Länge = 18cm, Aussendurchmesser = 10mm, Innendurchmesser = 5mm
Abstand (Mitte-Mitte) der Stäbe: 37mm

Die "LW-Spule" ist vorne und die "MW-Spule" hinten im Bild, links vorne sieht man noch den Draht, der den Befestigungswinkel für die Abschirmung mit Masse verbindet, die Winkel selber sind isoliert.



Hier noch eine Detailaufnahme der "LW-Spule", sie ist wegen der höheren Induktivität dicht gewickelt:



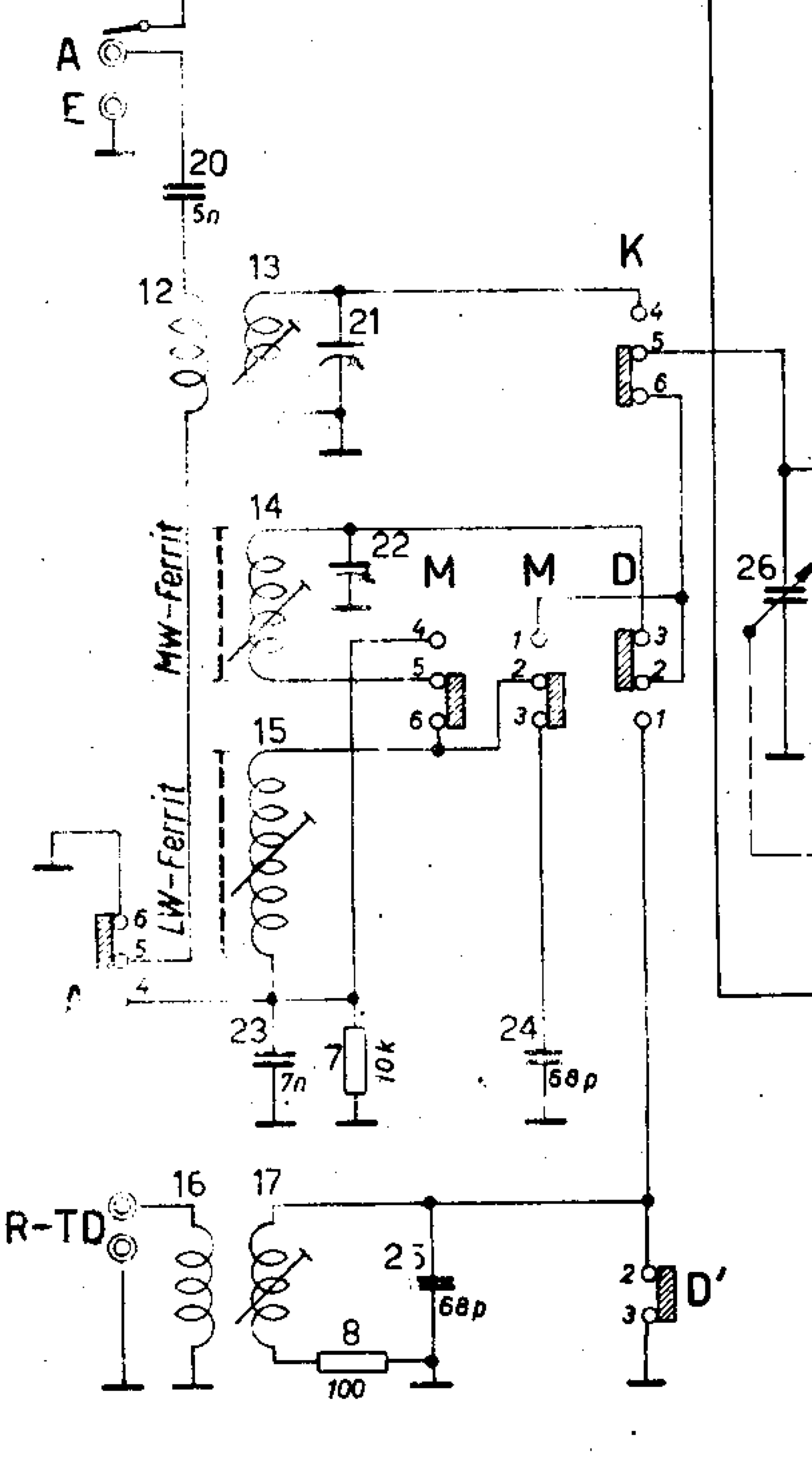
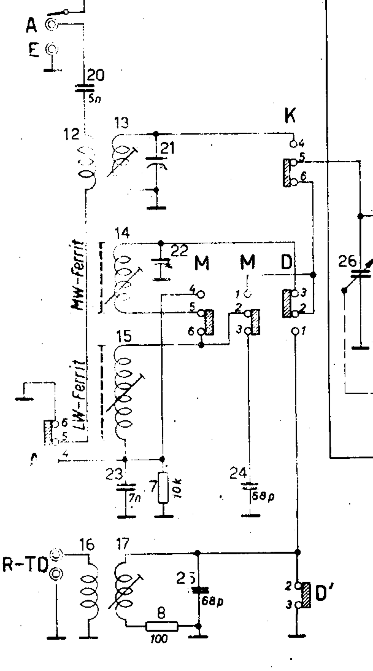
Hier noch der Schaltplanauszug mit der Serie-/Parallelschaltung. Die Schaltkontakte sind alle in Ruhestellung gezeichnet. D und D' sind für die Umschaltung auf "Drahtfunk", dann wird LW statt über die Ferritantenne über den separaten TR/TD-Eingang empfangen. K, L und M sind selbsterklärend, der Drehkondensator 26 ganz rechs ist der Abstimmkondensator.
Die zuschaltbare Einspeisung von der Aussenantenne (LW/MW) wird am Fusspunkt der Ferritspulen relativ niederohmig eingespeist (bei C23/R7, wobei R7 nur dazu da ist, statische Aufladungen bei Verwendung einer Aussenantenne zu verhindern).



Gruss HB9

Datei-Anhänge
Ferritantennen.jpg Ferritantennen.jpg (171x)

Mime-Type: image/jpeg, 107 kB

LW Detail.jpg LW Detail.jpg (170x)

Mime-Type: image/jpeg, 121 kB

Schaltung.png Schaltung.png (168x)

Mime-Type: image/png, 162 kB

!
!!! Fotos, Grafiken nur über die Upload-Option des Forums, KEINE FREMD-LINKS auf externe Fotos.    

!!! Keine Komplett-Schaltbilder, keine Fotos, keine Grafiken, auf denen Urheberrechte Anderer (auch WEB-Seiten oder Foren) liegen!
Solche Uploads werden wegen der Rechtslage kommentarlos gelöscht!

Keine Fotos, auf denen Personen erkennbar sind, ohne deren schriftliche Zustimmung.

Den Beitrag-Betreff bei Antworten auf Threads nicht verändern!
01.03.23 10:20
Bulova 

250-499 Punkte

01.03.23 10:20
Bulova 

250-499 Punkte

Re: Ferritstabantenne: Spulenposition und andere Aspekte

Hallo HB9,

zwei Ferrit-Antennen in Serie und vor allem parallelschalten -- das ist sicher nicht ganz trivial. Im Schaltungsausschnitt sind die Spulen abstimmbar gezeichnet, ich nehme an, das bedeutet, sie während der Endprüfung zu verschieben. Sonst würden die Frequenzskalen nicht so richtig passen.

Gruß

Dieter

01.03.23 20:05
HB9 

500 und mehr Punkte

01.03.23 20:05
HB9 

500 und mehr Punkte

Re: Ferritstabantenne: Spulenposition und andere Aspekte

Bulova:
Hallo HB9,

zwei Ferrit-Antennen in Serie und vor allem parallelschalten -- das ist sicher nicht ganz trivial. Im Schaltungsausschnitt sind die Spulen abstimmbar gezeichnet, ich nehme an, das bedeutet, sie während der Endprüfung zu verschieben. Sonst würden die Frequenzskalen nicht so richtig passen.

Gruß

Dieter

Hallo Dieter,

die Spulen sind zwecks Abgleich verschiebbar auf den Ferritstäben. Gemäss Abgleichanleitung wird zuerst die "MW-Spule" für MW und danach die "LW-Spule" für LW auf korrekten Gleichlauf mit dem Oszillator abgeglichen, so wie das bei Ferritantennen ja üblich ist, wenn es keine zusätzlichen Spulen für den Abgleich gibt.

Gruss HB9

01.06.23 09:29
WalterBar 

500 und mehr Punkte

01.06.23 09:29
WalterBar 

500 und mehr Punkte

Re: Ferritstabantenne: Spulenposition und andere Aspekte

Hallo zusammen,

einen recht umfangreichen Aufsatz zu diesem Thema hat Harald Giese im Radiomuseum gestern eingestellt:

Bauformen und Wicklungen von Ferritantennen

https://www.radiomuseum.org/forum/baufor...itantennen.html

Es wurde auf Meinungen und Spekulationen verzichtet, mich jedenfalls überzeugte diese Auflistung.

Gruss
Walter

08.12.23 22:09
Bulova 

250-499 Punkte

08.12.23 22:09
Bulova 

250-499 Punkte

Re: Ferritstabantenne: Spulenposition und andere Aspekte

Hallo zusammen,

ich wollte noch etwas zu diesem Thema dranhängen, was ich als kleines Video zusammengestellt habe:

https://quickfield.com/seminar/seminar_f...ennas.htm


Es sind ein paar simulative Untersuchungen ohne Anspruch auf Vollständigkeit, aber ein paar Aspekte wollte ich damit beleuchten.

Viele Grüße

Dieter

10.12.23 09:58
Bulova 

250-499 Punkte

10.12.23 09:58
Bulova 

250-499 Punkte

Re: Ferritstabantenne: Spulenposition und andere Aspekte

Hallo Jens,

ist sehr interessant, ich muss mich da aber noch reinlesen. Mein Interesse gilt aber mehr dem Prinzip als der Röhrentechnik.

Die Resonanzfrequenz über der Temperatur bei Ferrit ist eigentlich erwartungsgemäß abfallend, denn die Permeabilität steigt mit der Temperatur (außer nach Erreichen der Curietemperatur). Und die Spule in der Nähe ... das muss ich mir genauer anschauen.

Viele Grüße

Dieter

Zuletzt bearbeitet am 10.12.23 10:01

11.12.23 19:52
Bulova 

250-499 Punkte

11.12.23 19:52
Bulova 

250-499 Punkte

Re: Ferritstabantenne: Spulenposition und andere Aspekte

Hallo Jens,

wie groß ist denn der Abstand Luftspule/Ferritstab oder anders gefragt: Wie groß ist der Einfluss des Stabes bzw. wie groß ist das Verhältnis der Induktivität der Luftspule mit Stab zur Induktivität ohne Stab? Vielleicht entfernt sich die Spule mit der Temperatur. Hast Du ein Foto vom Aufbau? Wäre interessant.

Gruß

Dieter

12.12.23 10:13
Bulova 

250-499 Punkte

12.12.23 10:13
Bulova 

250-499 Punkte

Re: Ferritstabantenne: Spulenposition und andere Aspekte

Hallo Jens,

ich habe anscheinend noch nicht alles gelesen, denn so ganz kann ich noch nicht folgen.

Nach der Grafik zum Link (Frequenz über der Zeit) müsste sich Verkleinerung der Induktivität der Spulen ergeben, solange sich der Ferritstab noch wenig erwärmt hat und man diese Abhängigkeit nur den Spulen zuschreiben wollte. Wenn man dieses also annimmt, müsste sich die Induktivität der Spulen bei Ausdehnung jedoch vergrößern, demzufolge müsste sich die Frequenz (schnell) verkleinern und nicht schnell vergrößern. Wenn ich richtig nachgeschaut habe, besteht für Kupfer ein Ausdehnungskoeefizient von ca. 17 ppm/K, also bei 10 K etwa 170 ppm = 0,00017, man müsste also mit der entsprechenden Frequenzverkleinerung auf das 0,99983-fache rechnen. Als Anteil von ca. 600 kHz sind das absolut ca. 100 Hz, und zwar in negativer Richtung. Oder habe ich mich verrechnet oder vielmehr unterliege ich einem Denkfehler?

Ich sehe da einen roten Wima-Kondensator, wahrscheinlich MKT oder so. Welche Temperaturabhängigkeit hat dieser bzw. welchen Anteil bildet er zur Gesamtkapazität? Und wie ändern sich die Röhrenkapazitäten? Wie und was die Spulen machen unter Temperaturerhöhung, müsste man völlig getrennt von der Schaltung mit einem guten L-Messgerät messen.

Was machen eigentlich die Drahtumwickelungen der Röhren? Dienen diese als Abschirmung?

Ich bewundere Deinen Testaufbau. Das zeigt etwas provozierend, dass es nicht von der Ästhetik abhängt.

Viele Grüße

Dieter

Zuletzt bearbeitet am 12.12.23 12:59

12.12.23 16:48
WalterBar 

500 und mehr Punkte

12.12.23 16:48
WalterBar 

500 und mehr Punkte

Re: Ferritstabantenne: Spulenposition und andere Aspekte

Hallo Dieter,

nur zur Information:

In meinem Leistungsvariometer für Sendebetrieb auf 630m habe ich im Rotor
(2 mm versilberter Kupferdraht auf HF-Keramik) auch einen Ferriten eingesetzt,
um die Teilinduktivität des Rotors von 20 Mikrohenry zu vervierfachen.

https://www.wumpus-gollum-forum.de/forum...mp;thread=148#7

Der Ferrit wird merklich warm, eine Resonanzverschiebung bei 4 kHz Bandbreite für
ein maximales SWR von 1:1,5 kann ich durch die Erwärmung nicht feststellen.

Gruss
Walter

12.12.23 17:16
Bulova 

250-499 Punkte

12.12.23 17:16
Bulova 

250-499 Punkte

Re: Ferritstabantenne: Spulenposition und andere Aspekte

Hallo Walter,

kommt natürlich stark auf das Material an.



Vor allem davon, wie weichmagnetisch es ist.

Aber dass es völlig ohne Tk wäre, habe ich noch nie gehört.

Viele Grüße

Dieter

Datei-Anhänge
Screenshot 2023-12-12 171417.png Screenshot 2023-12-12 171417.png (123x)

Mime-Type: image/png, 36 kB

 1 .. 5 6 7 8 9 .. 17
 1 .. 5 6 7 8 9 .. 17
bearbeitet   zusammen   Vielleicht   natürlich   Spulenposition   Windungen   Abstand   müsste   Aspekte   Simulation   Grüße   basteljero   Frequenz   listeners-reports-interactive-map   Ferritstabantenne   Ferritstab   Verlustwiderstand   Induktivität   Zuletzt   Ohm-Abschlusswiderstands-SMA-Stecker