| Passwort vergessen?
Sie sind nicht angemeldet. |  Anmelden

Sprache auswählen:

Wumpus Gollum Forum von
Wumpus Welt der (alten) Radios
Sie sind nicht angemeldet.
 Anmelden

Röhren Zweikreiser mit Diodengleichrichtung
  •  
 1
 1
16.06.12 17:34
nobbyrad58 

500 und mehr Punkte

16.06.12 17:34
nobbyrad58 

500 und mehr Punkte

Röhren Zweikreiser mit Diodengleichrichtung

Hallo an Alle!

Nun möchte ich ein weitere Schaltung die etwas ungewöhnlich ist zeigen. Einen Zweikreiser nicht als Audion (Gittergleichrichter) sonder mit Diodendemodulation. Eine der Dioden der EBF11 ist die Gleichrichterdiode für die NF, die andere dient zur Erzeugung der Regelspannung. Das Gerät wird als Hochleistungsempfänger beschrieben. Für dieses Radio liegt die Schaltungsbeschreibung vor.
Zwischen ca. 1946 und 1952 hat ein kleiner Verlag aus Hamburg eine Radio - Bastel Zeitschrift herausgegeben, einige der "Herma Schaltungen" aus Erfurt stammen daher. Leider ist von diesen sehr interessanten Heften nicht mehr viel übrig geblieben.

MFG Nobby

Datei-Anhänge
2 Kreis Hochleistungsempfänger.jpg 2 Kreis Hochleistungsempfänger.jpg (541x)

Mime-Type: image/jpeg, 75 kB

Noch gefällt der Beitrag keinem Nutzer.
!
!!! Fotos, Grafiken nur über die Upload-Option des Forums, KEINE FREMD-LINKS auf externe Fotos.    

!!! Keine Komplett-Schaltbilder, keine Fotos, keine Grafiken, auf denen Urheberrechte Anderer (auch WEB-Seiten oder Foren) liegen!
Solche Uploads werden wegen der Rechtslage kommentarlos gelöscht!

Keine Fotos, auf denen Personen erkennbar sind, ohne deren schriftliche Zustimmung.

Den Beitrag-Betreff bei Antworten auf Threads nicht verändern!
16.06.12 17:50
Wolle 

500 und mehr Punkte

16.06.12 17:50
Wolle 

500 und mehr Punkte

Re: Röhren Zweikreiser mit Diodengleichrichtung

Hallo Nobby.

Schau Dir bitte mal die Schaltung der linken Diode der EBF11 an. Bei direkter Verbindung der Diode mit der Anode wird das nicht funktionieren.

Mit vielen Grüßen.
Wolle

16.06.12 18:42
nobbyrad58 

500 und mehr Punkte

16.06.12 18:42
nobbyrad58 

500 und mehr Punkte

Re: Röhren Zweikreiser mit Diodengleichrichtung

Hallo Wolle, Hallo an Alle!

Der Schaltplan ist so abgescannt worden, wie er im Heft ist. Normalerweise ist da ein Kondensator von einigen nF in der Leitung Anode - Pentode zu Anode - Diode. Auch die "ominöse" RC Katodenschaltung beim Einkreiser ist bei der Allstromausführung dieses Radios nicht mehr vorhanden.

MFG Nobby

16.06.12 19:17
Wolle 

500 und mehr Punkte

16.06.12 19:17
Wolle 

500 und mehr Punkte

Re: Röhren Zweikreiser mit Diodengleichrichtung

Hallo Nobby.

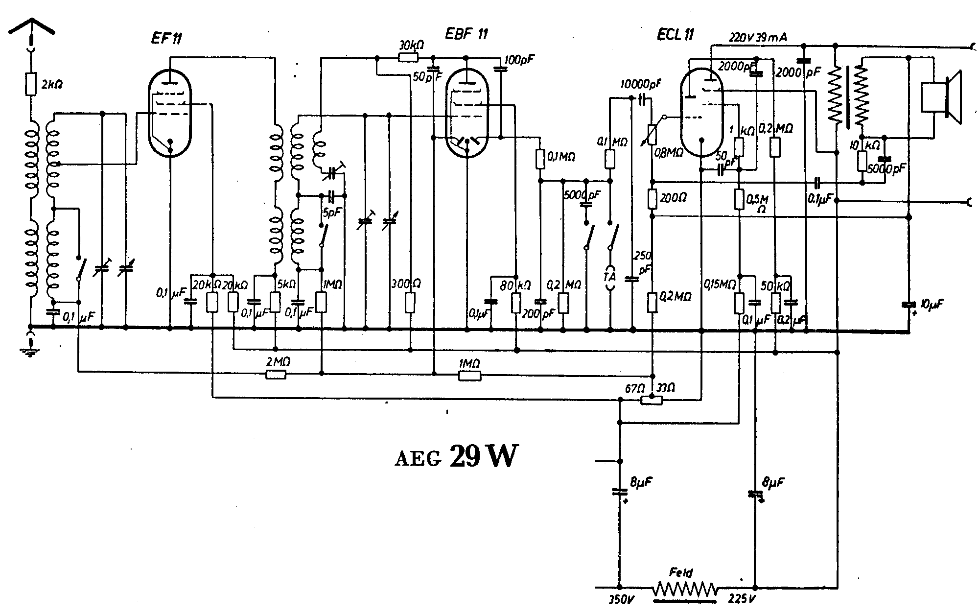
Hier das Beispiel einer Lösung der Industrie aus dem Jahr 1939. Ein Teil der halbautomatisch erzeugten Gittervorspannung wird hier für die Versorgung der HF- Stufen herangezogen.

Mit vielen Grüßen.
Wolle

Datei-Anhänge
aeg_zk_sch1.png aeg_zk_sch1.png (409x)

Mime-Type: image/x-png, 39 kB

16.06.12 20:12
nobbyrad58 

500 und mehr Punkte

16.06.12 20:12
nobbyrad58 

500 und mehr Punkte

Re: Röhren Zweikreiser mit Diodengleichrichtung

Hallo Wolle!

Na, da hat der Autor der Herma Schaltungen glatt den 100 pF C oder einen ähnlicher Größe vorenthalten. Der NF Teil ist bei der Herma Schaltung etwas großzügiger konzipiert, wobei AÜ und LS im Schaltbild fehlen. Da sollte wahrscheinlich eine Anpassung an vorhandenes Material, der Notzeit geschuldet erfolgen.

MFG Nobby

17.06.12 12:57
nobbyrad58 

500 und mehr Punkte

17.06.12 12:57
nobbyrad58 

500 und mehr Punkte

Re: Röhren Zweikreiser mit Diodengleichrichtung

Hallo an Alle!

Die Originale Schaltungsbeschreibung zum og. Gerät hab ich mal als pdf Datei gemacht. Mit OCR und viel Nachbearbeitung.

MFG Nobby

Datei-Anhänge
Zweikreiser.pdf Zweikreiser.pdf (517x)

Mime-Type: application/pdf, 59 kB

17.06.12 23:07
Wolle 

500 und mehr Punkte

17.06.12 23:07
Wolle 

500 und mehr Punkte

Re: Röhren Zweikreiser mit Diodengleichrichtung

Hallo Nobby.

Vielen Dank für die mühsame Bearbeitung der Beschreibung. Damit dürfte die Arbeitsweise dieses Zweikreisers verständlich werden und Hilfe bei einem Nachbau bieten.

Mit vielen Grüßen.
Wolle

 1
 1
herausgegeben   Diodendemodulation   Zweikreiser   Diodengleichrichtung   Regelspannung   Gleichrichterdiode   halbautomatisch   Allstromausführung   Hochleistungsempfänger   Katodenschaltung   Schaltungsbeschreibung   funktionieren   Arbeitsweise   verständlich   Nachbearbeitung   Normalerweise   Gittergleichrichter   wahrscheinlich   Gittervorspannung   interessanten