| Passwort vergessen?
Sie sind nicht angemeldet. |  Anmelden

Sprache auswählen:

Wumpus Gollum Forum von
Wumpus Welt der (alten) Radios

FM-Demodulatoren
  •  
 1 2
 1 2
15.12.18 14:26
HB9 

500 und mehr Punkte

15.12.18 14:26
HB9 

500 und mehr Punkte

FM-Demodulatoren

Hallo zusammen,

viele wissen zwar, wie ein Ratiodetektor aufgebaut ist, aber wer weiss noch, wie er funktioniert? Daneben gab und gibt es auch andere FM-Demodulatoren, die kaum noch jemand kennt, deshalb versuche ich hier, etwas Licht ins Dunkel zu bringen.

Der einfachste und schlechteste Demodulator ist der Flankendemodulator. Das ist ein ganz normaler AM-Hüllkurvendemodulator, wobei man den Schwingkreis vor dem Demodulator nicht auf Bandmitte abstimmt, sondern etwas daneben, so dass die HF-Amplitude frequenzabhängig wird und so eine FM- in eine AM-Demodulation verwandelt wird. So kann jeder AM-Empfänger als FM-Empfänger verwendet werden, wenn die ZF-Bandbreite ausreichend hoch ist. Da die Filterkurve alles andere als linear ist, ergibt diese Methode starke Verzerrungen, und eine AM-Unterdrückung findet nicht statt.

Eine bessere Lösung sind Produkt-Detektoren, die auch heute in IC-Form weit verbreitet sind. Das sind ganz normale Mischer, bei denen am einen Eingang das ZF-Signal und am anderen Eingang ein Referenzsignal anliegt, das von der ZF abgeleitet wird, im Allgemeinen durch einen lose angekoppelten Schwingkreis, es gibt aber auch andere Methoden. In Bandmitte sind die beiden Signale 90° gegeneinander phasenverschoben, während bei einer Frequenzverschiebung die Phasenverschiebung ändert. Durch die Mischung, die ja nichts anderes als eine Multiplikation ist, entsteht neben der doppelten ZF-Frequenz eine Gleichspannung, die proportional zur Frequenzabweichung ist und so das demodulierte Signal darstellt. In der Röhrentechnik wurde dazu die EQ80 entwickelt, es geht aber auch mit einer Heptode mit zwei gleichberechtigten Steuergittern, z.B. der ECH84. Bei den üblichen Misch-Heptoden muss das Verhältnis der Signalpegel entsprechend den unterschiedlichen Steilheiten angepasst werden.
Dieses Verfahren liefert brauchbare bis sehr gute Resultate, wobei aktive Mischer deutlich höhere Verzerrungen als passive Mischer haben, dafür spart man sich bei aktiven Mischern die NF-Vorstufe, deshalb war die EQ80 bei Fernsehern oder reinen UKW-Empfängern beliebt.
Da auch diese Demodulationsart keine AM-Unterdrückung hat, braucht es einen gut begrenzenden ZF-Verstärker.

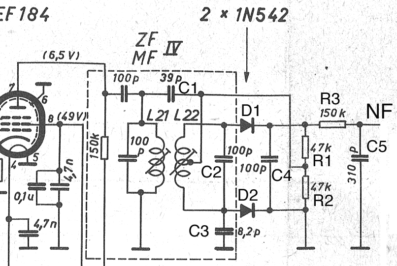
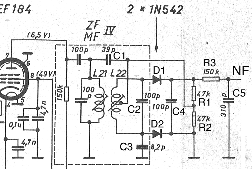
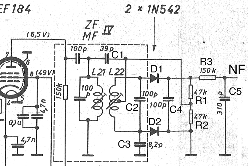
Neben dem multiplikativen Prinzip der Produkt-Detektoren geht es auch additiv, indem das ZF-Signal zum Referenzsignal addiert wird. Die Amplitude des resultierenden Signals hängt dann von der Phasenlage und damit der Frequenz ab und kann wie ein AM-Signal demoduliert werden. Nach diesem Prinzip arbeitet sowohl der Ratiodetektor als auch der weniger verbreitete Phasendiskriminator, den ich hier beschreibe, als Beispiel dient der Biennophone "Celerina":


Der Schwingkreis 100p/L21 ist der 'normale' primärseitige ZF-Kreis, der hier kapazitiv an die Anode angekoppelt ist, die Betriebsspannung wird über einen Widerstand zugeführt. Die niedrige Anodenspannung sorgt für eine perfekte Begrenzung der ZF. L22 bildet mit C2 den Referenzkreis, der lose an L21 angekoppelt ist. Auf der ZF-Mitte sind die Spannungen über L21 und L22 90° gegeneinander verschoben. Mit C1 wird die Spannung von L21 auf die Mittelanzapfung von L22 geführt, wobei C1 so gross ist, dass es keine Phasenverschiebung gibt. C3 kompensiert die parasitären Schaltungskapazitäten und sorgt so für Symmetrie. C4 bildet für die ZF einen Kurzschluss und R3 bildet mit C5 einen Tiefpass für den korrekten NF-Frequenzgang, da bekanntlich bei UKW die Höhen im Sender angehoben werden, was im Empfänger rückgängig gemacht wird.

Die Funktionsbeschreibung folgt im Teil 2.

Gruss HB9

Datei-Anhänge
Diiskriiiminator.png Diiskriiiminator.png (607x)

Mime-Type: image/png, 169 kB

ELEK, apollo, wumpus, ingodergute, RWA, WalterBar, Martin.M und regency gefällt der Beitrag.
!
!!! Fotos, Grafiken nur über die Upload-Option des Forums, KEINE FREMD-LINKS auf externe Fotos.    

!!! Keine Komplett-Schaltbilder, keine Fotos, keine Grafiken, auf denen Urheberrechte Anderer (auch WEB-Seiten oder Foren) liegen!
Solche Uploads werden wegen der Rechtslage kommentarlos gelöscht!

Keine Fotos, auf denen Personen erkennbar sind, ohne deren schriftliche Zustimmung.

Den Beitrag-Betreff bei Antworten auf Threads nicht verändern!
15.12.18 14:43
HB9 

500 und mehr Punkte

15.12.18 14:43
HB9 

500 und mehr Punkte

Re: FM-Demodulatoren

Nun zum Teil 2, der Funktionsbeschreibung vom Phasendiskriminator:



Wird C1 weggelassen, hat man zwei gleiche Gleichrichterschaltungen, einmal mit R2, D2 und der unteren Hälfte von L22 und einmal mit R1, D1 und der oberen Hälfte von L22. Somit sind die gleichgerichteten Spannungen an R1 und R2 betragsmässig gleich, aber durch die spiegelbildliche Anordung der Dioden mit umgekehrtem Vorzeichen, so dass sich die Spannungen gegenseitig aufheben und somit am NF-Ausgang keine Spannung gegen Masse vorhanden ist, wobei diese Symmetrie frequenzunabhängig ist.
Nun kommt C1 ins Spiel. Dieser speist eine Spannung ein, die gleichsinnig an beiden Spulenenden von L22 wirkt, somit ist die wirksame Spannung an der Anode von D1 die Summe aus halber Spulenspannung und der Spannung von C1, während die wirksame Spannung an der Anode von D2 die Differenz dieser beiden Spannungen ist, wenn man die Spannungen auf Masse bezieht. Bei 90° Phasenunterschied passiert somit nichts, ausser dass die gleichgerichteten Teilspannungen grösser werden, aber sie heben sich immer noch auf. Ändert sich aber die Phasenlage durch Frequenzänderung, sind die Teilspannungen nicht mehr gleich und es entsteht eine Spannung am NF-Ausgang.
Zur Veranschaulichung nehmen wir den Extremfall, dass die Spannungen von L21 und L22 gleichphasig sind. In diesem Fall wird die über C1 eingekoppelte Spannung gleichphasig zur Spannung am oberen Ende von L22 addiert, somit bekommt D1 die Summe aus halber Spannung von L22 und der über C21 eingekoppelten Spannung und folglich steigt die Spannung über R1. Bei D2 ist es genau umgekehrt, hier sind die Spannungen gegenphasig, folglich sinkt die Spannung an D2 und damit auch an R2, so dass die resultierende NF-Spannung positiv wird. Im umgekehrten Extrem, also die Spannungen an L21 und L22 sind gegenphasig, sinkt die Spannung an D1 wegen der gegenphasigen Spannungen, während sie an D2 wegen der hier gleichphasigen Spannungen steigt. Die die Spannung an R2 negativ ist, wird die resultierende NF-Spannung negativ.
Somit hat man also eine FM-Demodulation, wobei das NF-Signal symmetrisch zum Massepotential liegt und je nach Richtung der Frequenzabweichung positiv oder negativ wird. Somit kann die NF nach Tiefpassfilterung auch für eine automatische Feinabstimmung (AFC) oder Abstimm-Mittenanzeige benutzt werden. Beim Abgleich wird L22 so eingestellt, dass bei unmoduliertem Signal auf Bandmitte die NF-Spannung Null ist.

Diese Schaltung besticht durch die Einfachheit und die sehr verzerrungsarme Demodulation, hat aber keine AM-Unterdrückung, deshalb ist ein gut begrenzender ZF-Verstärker erforderlich. Beim "Celerina" besteht er aus 3*EF184, wobei die letzte mit nur 6.5V Anodenspannung betrieben wird, so dass sie immer voll in der Begrenzung arbeitet. Da eine Diode mit der Kathode an Masse liegt, kann diese Schaltung mit der EABC80 realisiert werden.

Im dritten Teil folgt noch der Ratiodetektor.

Gruss HB9

Datei-Anhänge
Diiskriiiminator.png Diiskriiiminator.png (484x)

Mime-Type: image/png, 169 kB

15.12.18 15:33
HB9 

500 und mehr Punkte

15.12.18 15:33
HB9 

500 und mehr Punkte

Re: FM-Demodulatoren

Hallo zusammen,

hier nun Teil 3 mit dem Ratiodetektor, hier am Beispiel des Biennophone "Gandria":



Auf den ersten Blick sieht er fast gleich aus wie der Phasendiskriminator, auch das Prinzip ist ähnlich, es gibt aber zwei wesentliche Unterschiede:
- Die Dioden liegen gleichspannungsmässig in Serie und nicht parallel.
- Die Gleichspannung wird mit einem Elko (C21) gepuffert.

FZ5 ist der primärseitige ZF-Kreis, unten (angeschnitten) folgt noch der AM-Teil, der hier nicht interessiert. FZ6 ist der Referenzkreis, der auch hier lose mit FZ5 gekoppelt ist. Somit sind die Spannungen über den beiden Schwingkreisspulen in Bandmitte ebenfalls um 90° gegeneinander phasenverschoben. Die Koppelspule (zwischen R1 und FZ6) ist fest mit der Spule von FZ5 gekoppelt, somit ist die induzierte Spannung in Phase mit FZ5. Man könnte auch mit einem Kondensator koppeln, aber dann wird die NF-Auskopplung komplizierter. Mit den beiden Dioden wird die ZF gleichgerichtet. Weil diese für Gleichstrom in Serie liegen, gibt es trotz den beiden Dioden nur eine Halbweggleichrichtung. Die Widerstände R18 und R19 sorgen für Symmetrie, da die Innenwiderstände der frühen Germaniumdioden relativ grosse Toleranzen hatten. Elko C21 lädt sich auf den Scheitelwert der ZF auf, C20 sorgt für einen HF-Kurzschluss. Die Widerstände R21 und R22 sorgen dafür, dass sich der Elko wieder entladen kann. Die Spannung am Elko wird für die Abstimmanzeige (magisches Band) und teilweise auch zur Verstärkungsregelung verwendet.
R1 sorgt für eine definierte Dämpfung und kann für das Verständnis als Kurzschluss angesehen werden, C1 ist für HF ein Kurzschluss. Die NF liegt an C1 und wird noch zwecks Korrektur des Frequenzgangs tiefpassgefiltert (nicht mehr auf der Zeichnung).

Auch hier wird durch Addition der ZF-Spannung mit der Referenzspannung eine phasen- und damit frequenzabhängige HF-Spannung gebildet, die gleichgerichtet und so demoduliert wird. Die Addition erfolgt durch die Einspeisung am Mittelpunkt von FZ6. Hier ist wichtig, dass durch diese Einspeisung die Spannung an den Spulenenden gegen Masse ändert, die Spannung zwischen den beiden Spulenenden aber nicht. Somit ist die gleichgerichtete Spannung am Elko unabhängig von der am Mittelpunkt eingekoppelten Spannung.

Die Demodulation funktioniert folgendermassen, dabei wird vorausgesetzt, dass parallel zu C1 noch ein Lastwiderstand liegt:
In Bandmitte, also wenn die Spannungen an FZ5 und FZ6 um 90° phasenverschoben sind, sind die ZF-Spannungen an den beiden Spulenenden bezogen auf die Mittelanzapfung betragsmässig gleich, da bei 90° Phasendifferenz Addition und Subtraktion dasselbe ergeben. Aus Sicht des NF-Ausgangs bewirkt die 'untere' Diode eine Gleichrichtung der Spannung zwischen dem unteren Ende und der Mittelanzapfung von FZ6, somit erscheint am NF-Ausgang die halbe Spannung von C21 (für C21 gibt es dasselbe mit der anderen Spulenhälfte und der zweiten Diode, welche in Serie liegt).
Im Extremfall, dass beide Spulenspannungen in Phase sind, wird die ZF-Spannung am unteren Spulenende von FZ6 minimal, da die eingekoppelte Spannung von der Spulensapnnung subtrahiert wird, und folglich wird die von der unteren Diode gleichgerichtete Spannung und damit die NF-Spannung minimal. Gleichzeitig wird die durch die obere Diode gleichgerichtete Spannung maximal, und die Summen-Gleichspannung am Elko ändert nicht, da auch die Spulenspannung nicht ändert.
Im anderen Extremfall (gegenphasige Einkopplung) wird die ZF-Spannung an der unteren Diode maximal und damit auch die NF-Spannung.

Somit hat man also eine NF-Spannung, die symmetrisch um die halbe Spannung am Ratio-Elko liegt. In Bandmitte ist folglich die Spannung zwischen dem NF-Ausgang und dem Verbindungspunkt R21/R22 Null, FZ6 muss entsprechend abgeglichen werden. Für eine AFC kann die Schaltung symmetrisch aufgebaut werden, indem man C21 aufteilt und den Verbindungspunkt R21/R22 auf Masse legt.

Der Ratiodetektor unterdrückt auch Amplitudenmodulation, dafür ist der Elko. Im Fall eines Pulses (also Ansteigen der ZF-Spannung), muss der Elko geladen werden, somit werden kurze Pulse durch den Ladestrom 'gekappt'. Im Fall eines kurzzeitigen Einbruchs der ZF-Spannung sperren beide Dioden, so dass keine Demodulation erfolgt und der NF-Ausgang den momentanen Pegel hält, im Prinzip ein Abschalten des NF-Pfades, so dass der 'Knacks' nicht hörbar wird.

Die asymmetrische Version des Ratiodetektors lässt sich mit der EABC80 bauen, da eine Diode mit der Kathode an Masse liegt, eine AFC geht dann aber nicht. Bezüglich Klirr ist der Ratiodetektor etwas schlechter als der Phasendiskriminator, dafür bekommt man eine wirkungsvolle AM-Unterdrückung. Bei hochwertigen Geräten, wo die ZF-Begrenzung gut war, wurde teilweise der Phasendiskriminator wegen der besseren Qualität eingesetzt, wie beim "Celerina" oder dem Körting Syntektor.

Gruss HB9

Datei-Anhänge
Ratio.png Ratio.png (701x)

Mime-Type: image/png, 34 kB

15.12.18 15:43
ELEK 

250-499 Punkte

15.12.18 15:43
ELEK 

250-499 Punkte

Re: FM-Demodulatoren

Hallo,

solche Grundlagenbeiträge find ich klasse !!

Gruß Ingo

15.12.18 16:37
MB-RADIO 

500 und mehr Punkte

15.12.18 16:37
MB-RADIO 

500 und mehr Punkte

Re: FM-Demodulatoren

Hallo HB9,

sehr schön beschrieben, leider vergißt man es immer wieder, wenn man nichts derartiges aufbaut.

Was ich nicht verstehe ist der Satz: " Für eine AFC kann die Schaltung symmetrisch aufgebaut werden, indem man C21 aufteilt und den Verbindungspunkt R21/R22 auf Masse legt."
Die Aufteilung des C21 kann ich mir schaltungsmäßig nicht vorstellen.

Viele Grüße
Bernd

Zwei Dinge sind unendlich, das Universum und die menschliche Dummheit, aber bei dem Universum bin ich mir noch nicht ganz sicher. (Albert Einstein)

15.12.18 18:39
HB9 

500 und mehr Punkte

15.12.18 18:39
HB9 

500 und mehr Punkte

Re: FM-Demodulatoren

Hallo Bernd,

zum symmetrischen Ratio-Detektor: gemeint ist, dass an Stelle von C21 ein Elko von R18 nach Masse (Minus an R18) und ein zweiter von R19 nach Masse (Minus an Masse) geschaltet wird, also je einer parallel zu R21 und R22. So wird der NF-Ausgang symmetrisch zur Masse und damit AFC-tauglich. Mit der EABC80 geht das aber nicht, da die Kathoden beider Dioden 'schweben' und nicht auf Masse liegen.

Der Phasendiskriminator wurde übrigens so ähnlich bereits vor der UKW-Zeit in ein paar Spitzengeräten zwecks automatischer Feinabstimmung verbaut.

Gruss HB9

15.12.18 18:57
MB-RADIO 

500 und mehr Punkte

15.12.18 18:57
MB-RADIO 

500 und mehr Punkte

Re: FM-Demodulatoren

Hallo HB9,

danke, habe ich so noch nicht gesehen. Man lernt eben nie aus.

Viele Grüße
Bernd

Zwei Dinge sind unendlich, das Universum und die menschliche Dummheit, aber bei dem Universum bin ich mir noch nicht ganz sicher. (Albert Einstein)

15.12.18 19:04
HB9 

500 und mehr Punkte

15.12.18 19:04
HB9 

500 und mehr Punkte

Re: FM-Demodulatoren

Hallo Bernd,

diese Variante wurde nur bei Transistor-Radios mit AFC gebaut, bevor die ZF-ICs verwendet wurden. In Röhrenradios sucht man die symmetrische Version vergebens.

Gruss HB9

16.12.18 10:02
MB-RADIO 

500 und mehr Punkte

16.12.18 10:02
MB-RADIO 

500 und mehr Punkte

Re: FM-Demodulatoren

Hallo HB9,

dann bin ich ja beruhigt. Ich hatte Röhrenschaltungen vor Augen, da hier nichts von Transistoren auftauchte.
Aber man kann ja nie wissen, Andere Hersteller andere Schaltungen.

Interessant wäre auch der Synchrodemodulator. Ich hatte zu DDR-Zeiten mal einen mit Transistoren nachgebaut - glaube aus der Zeitschrift Funkamateur, aber nicht richtig zum Laufen gebracht. Damals hatte ich aber auch nur wenige Meßgeräte.
Die Platine liegt noch irgendwo.

Viele Grüße

Zwei Dinge sind unendlich, das Universum und die menschliche Dummheit, aber bei dem Universum bin ich mir noch nicht ganz sicher. (Albert Einstein)

Zuletzt bearbeitet am 16.12.18 10:07

16.12.18 15:14
HB9 

500 und mehr Punkte

16.12.18 15:14
HB9 

500 und mehr Punkte

Re: FM-Demodulatoren

Hallo Bernd,

einen Synchrondemodulator findest du im Körting Syntektor. So was Ähnliches (aber als AM-Synchrondemodulator) habe ich hier gemacht: http://www.wumpus-gollum-forum.de/forum/...&thread=352
Für FM musst du lediglich die Referenzphase um 90° schieben und natürlich an die ZF von 10.7MHz anpassen.

Eine Alternative dazu funktioniert mit einer PLL, so wie z.B. in meinem Transistor-Spitzensuper: http://www.wumpus-gollum-forum.de/forum/...=292&page=1
Hier dient der Synchrondemodulator zwar als AM-Demodulator, aber als Nebenprodukt bekommt man auch eine FM-Demodulation, so wie es beschrieben ist, hier wegen der schmalbandigen ZF aber nur für Schmalband-FM. Am Prinzip ändert sich aber nichts.

Bei all diesen Schaltungen ist die grosse Herausforderung, das Signal vom Referenz-Oszillator sauber abgeschirmt zu haben, damit es keinen Weg zum ZF-Verstärker findet und diesen so 'zustopft'. Bei der üblichen ZF von 10.7MHz und der hohen Verstärkung bei UKW ein nicht ganz einfaches Unterfangen.

Gruss HB9

 1 2
 1 2
wumpus-gollum-forum   Transistor-Spitzensuper   Spannungen   Abstimm-Mittenanzeige   Halbweggleichrichtung   gleichspannungsmässig   Phasendiskriminator   Funktionsbeschreibung   Summen-Gleichspannung   FM-Demodulatoren   Gleichrichterschaltungen   Plattenspielereingang   Katodenbasisschaltung   Verstärkungsregelung   Schaltungskapazitäten   AM-Unterdrückung   Spannung   Flankendemodulation   AM-Hüllkurvendemodulator   AM-Synchrondemodulator