| Passwort vergessen?
Sie sind nicht angemeldet. |  Anmelden

Sprache auswählen:

Wumpus Gollum Forum von
Wumpus Welt der (alten) Radios
Sie sind nicht angemeldet.
 Anmelden

Musiktruhen mit EL34-Röhren?
  •  
 1 2
 1 2
07.11.15 08:41
wumpus 

Administrator

07.11.15 08:41
wumpus 

Administrator

Musiktruhen mit EL34-Röhren?

Hallo zusammen,

ich bin gerade wiedermal dabei, zwei WEB-Seiten von "Wumpus Welt der Radios" zu überarbeiten. Dabei kam bei mir die Frage auf, ob es Truhen mit Gegentaktendstufen 2 x EL34 gegeben hat. Ehe ich mich auf die Suche in den Großhandelskatalogen mache: Hat Jemand Kenntnis von solchen Modellen?

Tonmöbel-Seite:
http://www.welt-der-alten-radios.de/gesc...nmoebel-49.html

Gegentaktendstufen:
http://www.welt-der-alten-radios.de/a--g...dstufen-32.html

EL34:
http://www.welt-der-alten-radios.de/tech...roehren-45.html



Gruß von Haus zu Haus
Rainer (Forumbetreiber)

"Vom Mund zum Ohr auf dem Strahle der elektrischen Kraft!"
Als MP3-Datei: http://www.welt-der-alten-radios.de/files/auf-dem-strahl.mp3

Noch gefällt der Beitrag keinem Nutzer.
!
!!! Fotos, Grafiken nur über die Upload-Option des Forums, KEINE FREMD-LINKS auf externe Fotos.    

!!! Keine Komplett-Schaltbilder, keine Fotos, keine Grafiken, auf denen Urheberrechte Anderer (auch WEB-Seiten oder Foren) liegen!
Solche Uploads werden wegen der Rechtslage kommentarlos gelöscht!

Keine Fotos, auf denen Personen erkennbar sind, ohne deren schriftliche Zustimmung.

Den Beitrag-Betreff bei Antworten auf Threads nicht verändern!
07.11.15 09:16
Airwaves 

500 und mehr Punkte

07.11.15 09:16
Airwaves 

500 und mehr Punkte

Re: Musiktruhen mit EL34-Röhren?

Hallo Rainer,
einzig mir bekanntes Truhengerät, war eine Siemens Kombination. Das war, wenn ich mich recht entsinne, so eine Art Gerätewagen mit Tonbandgerät, Plattenspieler und separater Lautsprecherbox. Die genaue Typenbezeichnung habe ich leider nicht mehr im Kopf. Auf jeden Fall, waren da zwei EL34 drinnen. Ob es eine Gegentaktendstufe ist, das will ich aber nicht beschwören.

Mir war Anfang der 90er, so ein "Schätzchen" für läppische 100 Märker angeboten worden. Für mich damals ein kleines Vermögen..........und Platz, hatte ich für solch ein Gerät schon gar nicht zur Verfügung. Eine der verpassten Chancen im Leben ..........

Viele Grüße,
Christian

07.11.15 15:12
Airwaves 

500 und mehr Punkte

07.11.15 15:12
Airwaves 

500 und mehr Punkte

Re: Musiktruhen mit EL34-Röhren?

Hallo Rainer,
habe jetzt nochmal im Internet recherchiert und das Gerät im Radiomuseum gefunden. Die Type nennt sich Kammermusik Kombination Z59M. Gab es anscheinend mit und ohne Tonbandgerät. Hatte das Gerät allerdings dunkler (Holzfarbe) in Erinnerung, als die dort gezeigten.

Viele Grüße,
Christian

07.11.15 16:01
wumpus 

Administrator

07.11.15 16:01
wumpus 

Administrator

Re: Musiktruhen mit EL34-Röhren?

Hallo Christian,

danke für den Hinweis. Das war hilfreich. Das Problem mit der Kammermusikkombination Z59W ist: Im Großhandelskatalog 1955/56 steht die zwar drinnen (mit 25 Watt NF), aber die Röhren werden nicht benannt. Auch der öffentliche Teil von Radiomuseum.Org erwähnt die beiden EL34 nicht.

So wird auf meiner Seite (mit Deiner Hilfe) jetzt 2 x EL34 der Kammermusikkombination Z59M zugeordnet:

http://www.welt-der-alten-radios.de/gesc...nmoebel-49.html

Die Z59M dürfte schon von der Stückzahl eine Rarität sein.





Gruß von Haus zu Haus
Rainer (Forumbetreiber)

"Vom Mund zum Ohr auf dem Strahle der elektrischen Kraft!"
Als MP3-Datei: http://www.welt-der-alten-radios.de/files/auf-dem-strahl.mp3

07.11.15 17:06
Airwaves 

500 und mehr Punkte

07.11.15 17:06
Airwaves 

500 und mehr Punkte

Re: Musiktruhen mit EL34-Röhren?

Hallo Rainer,
prima, wenn ich helfen konnte. Die EL34 sind sogar in gegentakt geschaltet, wie ich jetzt dem Schaltbild entnehmen konnte. Als Ansteuerung diente eine ECC83. Im Netzteil gab es sogar noch eine Gleichrichterröhre GZ34.

Habe mich damals leider in Anwesenheit des Besitzers nicht getraut, das Teil mehr als "gehobene Flüsterlautstärke" aufzudrehen. Vermutlich hätte es einen durch die Wohnzimmertüre rausgefegt, bei mehr als Lautstärkeregler in Mittelstellung

Viele Grüße,
Christian

07.11.15 18:12
Klaus 

500 und mehr Punkte

07.11.15 18:12
Klaus 

500 und mehr Punkte

Re: Musiktruhen mit EL34-Röhren?

Hallo Christian,

Zitieren:
Die EL34 sind sogar in gegentakt geschaltet, wie ich jetzt dem Schaltbild entnehmen konnte.

gab es denn bei Heimradios außer der Gegentaktschaltung noch eine andere Variante

Viele Grüße
Klaus

07.11.15 19:00
Airwaves 

500 und mehr Punkte

07.11.15 19:00
Airwaves 

500 und mehr Punkte

Re: Musiktruhen mit EL34-Röhren?

Hallo Klaus,
es gab auch die Parallelschaltung von Endröhren z.B. im Löwe Opta Rheingold 3953W mit 2 mal EL41. Von der Endleistung entsprach das dann etwa einer einzelnen EL12. Von Philips soll es in den 30ern auch Geräte mit Parallelschaltung der Endröhren gegeben haben, mit 2 mal EL3 oder AL4. Möglicherweise, gab es aber auch noch andere Geräte, deshalb meine anfängliche "Zurückhaltung".

Viele Grüße,
Christian

07.11.15 19:42
Airwaves 

500 und mehr Punkte

07.11.15 19:42
Airwaves 

500 und mehr Punkte

Re: Musiktruhen mit EL34-Röhren?

Hallo zusammen,
zu den Philips Geräten mit Parallelschaltung der Endröhren, habe ich noch gefunden, die Typen Aachen Super D53 und 890A.

Viele Grüße,
Christian

07.11.15 20:29
Klaus 

500 und mehr Punkte

07.11.15 20:29
Klaus 

500 und mehr Punkte

Re: Musiktruhen mit EL34-Röhren?

Hallo Christian,

interessant, derartige Modelle sind mir noch nicht begegnet.

Daher kannte ich bislang lediglich Radios in Gegentakt (Push/Pull) - Technik bzw. OTL (output transformerless). Dass die Parallelschaltungsvariante existierte, war mir natürlich bekannt, nur eben nicht bei der Konsumerelektronik.

Danke für deine Mühe.

Viele Grüße
Klaus

08.11.15 18:33
klaus65555 

500 und mehr Punkte

08.11.15 18:33
klaus65555 

500 und mehr Punkte

Re: Musiktruhen mit EL34-Röhren?

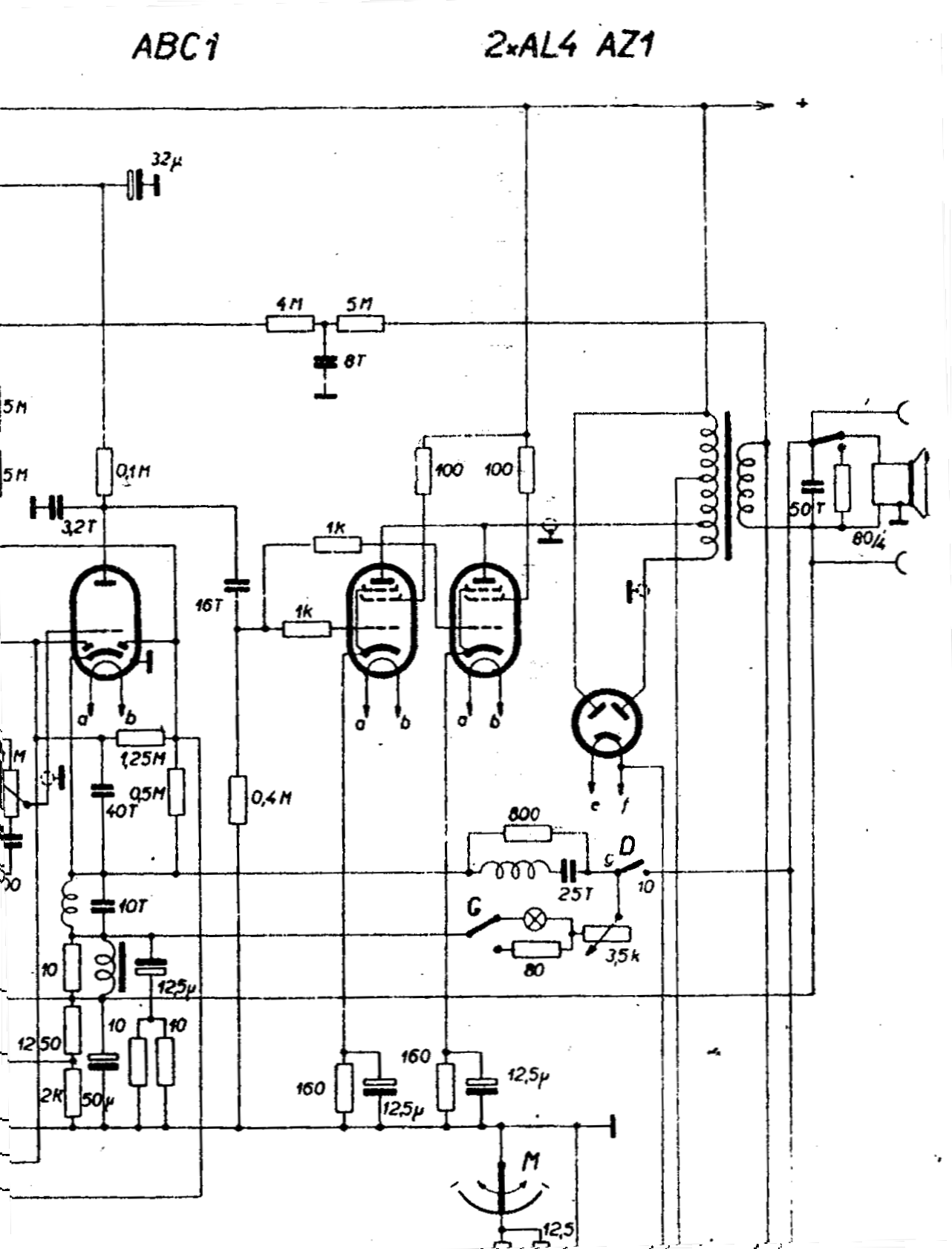
Doch. doch.
Philips machte das um 1937/38 herum so.
Als Anlage ein Schaltungsauszug der Endstufe des 890A Allegro.
Statt der 2x AL4 im Schaltbild hat mein 890A als Endröhren 2x EL3 wie in dem niederländischen Philips-Auszug.

Gruß
Klaus

Datei-Anhänge
890A-Endstufe.gif 890A-Endstufe.gif (345x)

Mime-Type: image/gif, 335 kB

PHILIPS Radioinfo-890A.gif PHILIPS Radioinfo-890A.gif (330x)

Mime-Type: image/gif, 14 kB

 1 2
 1 2
Konsumerelektronik   Gegentaktendstufen   Gegentaktschaltung   Großhandelskatalog   EL34-Röhren   Phono-Vorverstärker   Gegentaktschaltungen   Gleichrichterröhre   Lautsprecher-Eckbox   Großhandelskatalogen   Parallelschaltung   Scharfeinstellautomatik   Parallelschaltungsvariante   Kammermusikkombination   Mono-Gerätekombination   Gegentaktendstufe   welt-der-alten-radios   Spitzentechnologie   Musiktruhen   Kammermusik-Kombination