| Passwort vergessen?
Sie sind nicht angemeldet. |  Anmelden

Sprache auswählen:

Wumpus Gollum Forum von
Wumpus Welt der (alten) Radios
Sie sind nicht angemeldet.
 Anmelden

Abgleich Ratiofilter Loewe Opta Rheingold
  •  
 1 2 3 4 5
 1 2 3 4 5
03.10.12 00:29
regency 

500 und mehr Punkte

03.10.12 00:29
regency 

500 und mehr Punkte

Re: Abgleich Ratiofilter Loewe Opta Rheingold

Hallo Oliver,

olli031971:
Die S-Kurve oben sieht für meine Begriffe ganz gut aus.
Das finde ich auch. Die beiden Maxima sollten ca. 300 kHz entfernt sein. Jedoch könnte der Ratioelko die Kurve verfälschen. Dann wäre die Kurve nur scheinbar symmetrisch. Deswegen soll man diesen möglichst abklemmen bei der Messung.
Die Sache mit dem Kurzwellen AM Empfänger finde ich gut gelöst. Wenn das Signal bei minimaler Wobbelbreite dort schmalbandig bei 10,7 MHz auftritt, könnte das die Mittenfrequenz sein.
Das Gerät selbst wird bestimmt auch irgendeine Möglichkeit zur Eichung hergeben, dazu müsste man jedoch die Betriebsanleitung haben...

Schöne Grüße,
Jan

!
!!! Fotos, Grafiken nur über die Upload-Option des Forums, KEINE FREMD-LINKS auf externe Fotos.    

!!! Keine Komplett-Schaltbilder, keine Fotos, keine Grafiken, auf denen Urheberrechte Anderer (auch WEB-Seiten oder Foren) liegen!
Solche Uploads werden wegen der Rechtslage kommentarlos gelöscht!

Keine Fotos, auf denen Personen erkennbar sind, ohne deren schriftliche Zustimmung.

Den Beitrag-Betreff bei Antworten auf Threads nicht verändern!
03.10.12 00:45
nobbyrad58 

500 und mehr Punkte

03.10.12 00:45
nobbyrad58 

500 und mehr Punkte

Re: Abgleich Ratiofilter Loewe Opta Rheingold

Halo Zusammen!

Früher gab es sog. Eichmarkengeber. Im Prinzip ein Rechteckgenerator mit einer Grundfrequenz. Zur Messung wurden die Oberwellen benutzt, die ja immer in einem bestimmten Abstand, nämlich der Frequenz der Grundwelle entstehen. Ich könnte mir vorstellen das ein Schwingquarz heutzutage den früheren R C Gliedern überlegen ist. Das hat man früher für die Bestimmung der Frequenz benutzt.

MFG Nobby

03.10.12 13:06
olli031971 

500 und mehr Punkte

03.10.12 13:06
olli031971 

500 und mehr Punkte

Re: Abgleich Ratiofilter Loewe Opta Rheingold

Hallo ihr

schön, das ihr mir Ratschläge gebt. Danke dafür.

@ Jan:

Zitieren:
Die beiden Maxima sollten ca. 300 kHz entfernt sein. Jedoch könnte der Ratioelko die Kurve verfälschen. Dann wäre die Kurve nur scheinbar symmetrisch. Deswegen soll man diesen möglichst abklemmen bei der Messung.

Ich hatte auch in einigen Beiträgen gelesen, dass man den Ratioelko abklemmen sollte. Allerdings kommt dann bei der Messung keine S-Kurve mehr heraus sondern die Kurve im Anhang (Dateiname: SNC00472_klein.jpg).
Das hatte mich dann etwas irritiert, weil diese Durchlasskurve nirgends gezeigt wurde.
Messe ich vieleicht am falschen Punkt ?

Zitieren:
Das Gerät selbst wird bestimmt auch irgendeine Möglichkeit zur Eichung hergeben, dazu müsste man jedoch die Betriebsanleitung haben...

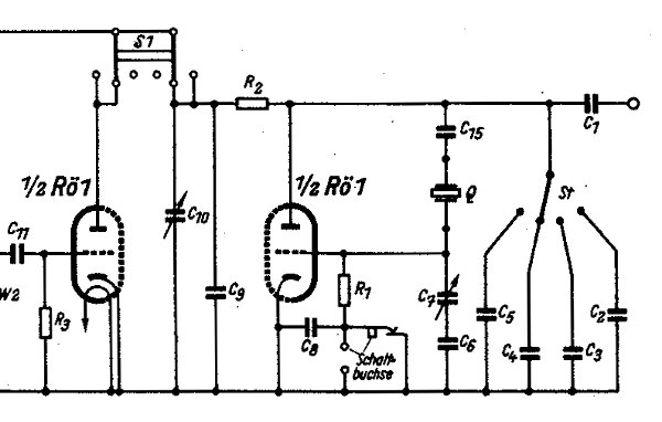
Ja die hätte ich auch sehr gerne. Es handelt sich um den Grundig AS4b (Dateiname: 20120803-101145-634.jpg). Leider kam das Gerät ohne Anleitung zu mir. Eine Suche im Internet hat bisher nur einen Schaltplan zu Tage befördert.

Es gibt weder Markengeber noch eine Skala für den Wobbelhub.

@ Nobby
Ich habe noch einen Heathkit RC-Generator - der geht so bis ca. 2 MHz. Damit hatte ich die Tage mal einen Versuch gestartet und das Rechtecksignal kapazitiv (Signalleitung RC-Generator um die Einspeiseleitung aus dem Messsender gewickelt) mit eingekoppelt. Man konnte einige 'Marken' durch die Oberwellen sehen und ich kann auch auf 10,7MHz ein Signal empfangen (Über mein KW-Radio). Allerdings ist das Signal des RC-Generators alles andere als Fequenzstabil und scheinbar ist der Rechteck nicht sauber genug, um damit definierte Marken erzeugen zu können. Also ist zumindest dieser Generator nicht brauchbar dafür.
Hast du schonmal einen Markengeber gebaut ?
Oder gibt es evtl. eine andere Möglichkeit - weil - warum baut Grundig einen Wobbler ohne Markengenerator, wenn es ohne nicht (vernünftig) geht ?


Gruß und schönen Feiertag
Oliver

Zuletzt bearbeitet am 04.10.12 20:04

Datei-Anhänge
SNC00472_klein.jpg SNC00472_klein.jpg (419x)

Mime-Type: image/jpeg, 90 kB

20120803-101145-634.jpg 20120803-101145-634.jpg (534x)

Mime-Type: image/jpeg, 82 kB

03.10.12 14:07
nobbyrad58 

500 und mehr Punkte

03.10.12 14:07
nobbyrad58 

500 und mehr Punkte

Re: Abgleich Ratiofilter Loewe Opta Rheingold

Hallo Oliver!

Schönes Teil was Du da hast. Vielleicht gibt es einen externen Eingang, für den Markengeber. Leider kann ich hier bei mir keine großen Eigenbauten machen, so bin ich mehr der Schreibtischtäter. Als brauchbar hat sich die Pierceschaltung herausgestellt. Hier einige kleine Röhrenschaltungen für den Selbstbau.
Es gab auch einen Prüfsender mit Wobbeleinrichtung für 10,7 MHz. Er war ganz speziell für den Abgleich von ZF Kreisen in UKW Empfängern entwickelt worden.
Ich habe aus bekannten Gründen nur die Prinzipschaltbilder eingestellt, wenn Interesse besteht dann über PN. Es handelt sich um Röhrenschaltungen.

MFG Nobby

Datei-Anhänge
Pierce Schaltung Prinzip.jpg Pierce Schaltung Prinzip.jpg (425x)

Mime-Type: image/jpeg, 47 kB

Pierce Schaltung Prinzip 1.jpg Pierce Schaltung Prinzip 1.jpg (571x)

Mime-Type: image/jpeg, 32 kB

03.10.12 17:41
ingodergute 

Moderator

03.10.12 17:41
ingodergute 

Moderator

Re: Abgleich Ratiofilter Loewe Opta Rheingold

Hallo zusammen

nobbyrad58:
Früher gab es sog. Eichmarkengeber. Im Prinzip ein Rechteckgenerator mit einer Grundfrequenz. Zur Messung wurden die Oberwellen benutzt, die ja immer in einem bestimmten Abstand, nämlich der Frequenz der Grundwelle entstehen.
Ein Rechteckgenerator würde vor allem ungerade Vielfache der Grundfrequenz erzeugen, besser ist ein Generator, der Nadelimpulse erzeugt (Eine Stoßfolge im Zeitbereich erzeugt eine Kammstruktur im Frequenzbereich).

Ob der Nulldurchgang wirklich bei 10,7MHz liegt, ist nicht wichtig. Wichtig ist nur, dass die Kurve symmetrisch ist.

Den Elko soll man meiner Meinung nach nur entfernen, wenn man die Durchlasskurve (nicht den Nulldurchgang) sehen will, dann aber an den Punkten, an denen der Elko angelötet war.

Wenn das Signal schwacher wie starker Sender unverzerrt wiedergegeben wird und die S-Kurve symmetrisch ist, würde ich nichts ändern.

Viele Grüße

Ingo.

03.10.12 18:48
nobbyrad58 

500 und mehr Punkte

03.10.12 18:48
nobbyrad58 

500 und mehr Punkte

Re: Abgleich Ratiofilter Loewe Opta Rheingold

Hallo Ingo!

Eine Möglichkeit die man früher genutzt hat ist die Mischung von zwei Frequenzen. Einmal eine niedrige 10 kHz Rechteck mit einer hohen ab 100 kHz. Do entstanden alle 10 kHz "Eichmarken". Es ähnelt entfernt Deiner Nadelimpulsschaltung.
Der 10,7 MHz Eigenbau ist speziell nur für den Abgleich des ZF-Verstärkers und des Diskriminators gedacht. Die Schaltung wurde im RPB Band 36 veröffentlicht. Dort ist auch die weitere Arbeitsweise mit dem Oszi beschrieben.

MFG Nobby

03.10.12 19:03
regency 

500 und mehr Punkte

03.10.12 19:03
regency 

500 und mehr Punkte

Re: Abgleich Ratiofilter Loewe Opta Rheingold

Hallo Oliver,
die Bedienungsanleitung gibts bei Schaltungsdienst Lange für 13 Euro. Ratio-Elko: Prüfe mal, ob sich mit angeschlossenem Elko der Nulldurchgang der Kurve bei etwas höherer Amplitude des gewobbelten Signals verschiebt und dann Unsymmetrien entstehen. Wenn nicht, müsste alles passen. Aber auch das Durchstimmen unterschiedlich starker FM Signale gibt Aufschluss, wie Ingo das sagt.
Schöne Grüße,
Jan

04.10.12 20:34
olli031971 

500 und mehr Punkte

04.10.12 20:34
olli031971 

500 und mehr Punkte

Re: Abgleich Ratiofilter Loewe Opta Rheingold

Hallo Ihr,

ich habe gestern noch etwas weiter experimentiert.

@Nobby:
Das Teil scheint keinen solchen Eingang zu haben (Zumindest gibt es keine Beschriftung, die darauf hinweist). Bzgl. Selbstbau meinte ich eigentlich eher einen Messaufbau mit vorhandenen Geräten. Ich habe früher auch viel selbst gebastelt - allerdings ist die Zeit durch die Berufstätigkeit sehr knapp. Daher habe ich mich mehr auf die Radios selbst konzentriert, anstatt viel Zeit in Eigenbauten von Messgeräten zu verwenden...

@ingodergute
Ich habe gestern genau das im Wikipedia gelesen (Thema Rechteckschwingung und Fourieranalyse). Darin stand genau das mit den ungeraden Vielfachen und irgendwie fühle ich mich ganz dunkel an alte Zeiten erinnert ).

Zitieren:
Den Elko soll man meiner Meinung nach nur entfernen, wenn man die Durchlasskurve (nicht den Nulldurchgang) sehen will, dann aber an den Punkten, an denen der Elko angelötet war.

Das deckt sich dann wohl mit meiner Beobachtung und dem Oszillogramm oben.

Zitieren:
Wenn das Signal schwacher wie starker Sender unverzerrt wiedergegeben wird und die S-Kurve symmetrisch ist, würde ich nichts ändern.
Das Radio spielte auch vorher schon gut. Ich habe es einfach nur verwendet, um etwas Erfahrung mit dem Abgleichen und dem Wobbeln zu sammeln. Der Rheingold52 ist sehr übersichtlich aufgebaut und die Kerne sind leicht abgleichbar. Da mein Gerät ohnehin verbastelt war ist es das optimale Übungsobjekt.

@regency

Zitieren:
Ratio-Elko: Prüfe mal, ob sich mit angeschlossenem Elko der Nulldurchgang der Kurve bei etwas höherer Amplitude des gewobbelten Signals verschiebt und dann Unsymmetrien entstehen

Das hab ich noch nicht getestet. Werde ich aber noch nachholen.


@alle

Ich konnte das mit dem Rechteckgenerator nicht sein lassen und habe noch ein - so finde ich - brauchbaren Aufbau gefunden, Frequenzmarken zu erzeugen. Der Frequenzgenerator steht dabei auf 1,188888889 MHz und wir sehen die 9. Oberwelle bei 10,7MHz.

Zur Erläuterung:


(Frequenzgenerator - verwendet wird die linke Seite (Rechteckausgang)


(die rote Leitung ist die Signalleitung vom Rechteckgenerator - das schwarze etwas ist der Diodentastkopf er liegt in der nähe der Anode der EAF42 - berühren tut er die Anodenleitung nicht)


Der Frequenzzähler überwacht den Frequenzgenerator


Das Radio zeigt Empfang bei 10,7 MHz (9. Oberwelle)


Und die 'Marke' liegt direkt in der Mitte der Durchlasskurve des letzten ZF-Filters

Als nächstes werde ich noch den Tip von regency ausprobieren und dann schauen, ob ich die 10,7 MHz-Marke auch in der S-Kurve anzeigen kann.

Schönen Abend noch

Oliver

Datei-Anhänge
SNC00475_klein.jpg SNC00475_klein.jpg (273x)

Mime-Type: image/jpeg, 167 kB

SNC00476_klein.jpg SNC00476_klein.jpg (291x)

Mime-Type: image/jpeg, 214 kB

SNC00477_klein.jpg SNC00477_klein.jpg (298x)

Mime-Type: image/jpeg, 182 kB

SNC00474_klein.jpg SNC00474_klein.jpg (311x)

Mime-Type: image/jpeg, 172 kB

SNC00473_klein.jpg SNC00473_klein.jpg (365x)

Mime-Type: image/jpeg, 152 kB

04.10.12 23:18
nobbyrad58 

500 und mehr Punkte

04.10.12 23:18
nobbyrad58 

500 und mehr Punkte

Re: Abgleich Ratiofilter Loewe Opta Rheingold

Hallo Oliver!

Sieht ja echt gut aus. Für alle alle anderen mal ein Schaltungsbeispiel für einen Pierce Oszillator ohne Netzteil und NF-Generator. Die Modulation wird über C 11 zugeführt.

MFG Nobby

Datei-Anhänge
Teil eines Pierce Ozillators.jpg Teil eines Pierce Ozillators.jpg (360x)

Mime-Type: image/jpeg, 38 kB

05.10.12 21:10
olli031971 

500 und mehr Punkte

05.10.12 21:10
olli031971 

500 und mehr Punkte

Re: Abgleich Ratiofilter Loewe Opta Rheingold

Hallo alle,

wie gesagt habe ich mal versucht, die 9. Oberwelle in die S-Kurve einzublenden. Das ist sogar gelungen..
Angekoppelt habe ich das Signal an einer Anode des Ratiodetektors, indem ich einen isolierten Draht um den Anschlussdraht gewickelt habe - es gibt also keinen Kontakt zwischen den Drähten:

Der Fliegenfuß ist mit der Signalleitung des Rechteckgenerators verbunden.
Bei Einspeisung des Messendersignals am Gitter der letzten ZF-Röhre ergibt sich dann die S-Kurve mit Markierung:
.

Nun wollte ich mal den Vorschlag von Regency umsetzen und die S-Kurve mit verschiedenen Messenderpegeln darstellen. Als Bezugsgröße habe ich die Ratiospannung genommen, da mir unklar ist, welche Signalpegel so an den Eingängen der verschiedenen ZF-Verstärkerstufen anliegen. Die Ratiospannung ist bei Starken Ortssendern so ca. 13 Volt - ab ca. 3 Volt hat man einen brauchbaren Empfang.

Da ich mit maximalem Messenderpegel nur auf ca, 1,5 Volt Ratiospannung kam, musste ich den Einspeisepunkt an das Gitter der EF43 anschalten und somit zwei ZF-Verstärkerstufen nutzen.

Die vorher so tolle S-Kurve sieht nun nicht mehr so dolle aus:
S-Kurve:

Signalpegel am Messender

Die Ratiospannung beträg bei diesem Signalpegel 2,19V.

Jetzt mit höherem Pegel:

Die Ratiospannung beträgt nun 5,35V und die S-Kurve sie jetzt so aus:


Also für mein Empfinden sieht das jetzt nicht mehr so gut aus - Die Verbindung zwischen den beidem Spitzen ist halbwegs linear, allerdings sind die Kurvenformen rechts un links alles andere als symetrisch. Die Spitzen der 'S-Kurve' liegen ca. 380 kHz auseinander.

Was meint ihr

Gruß
Oliver

Datei-Anhänge
SNC00478_klein.jpg SNC00478_klein.jpg (317x)

Mime-Type: image/jpeg, 100 kB

SNC00483_klein.jpg SNC00483_klein.jpg (324x)

Mime-Type: image/jpeg, 62 kB

SNC00487_klein.jpg SNC00487_klein.jpg (298x)

Mime-Type: image/jpeg, 59 kB

SNC00488_klein.jpg SNC00488_klein.jpg (365x)

Mime-Type: image/jpeg, 48 kB

SNC00492_klein.jpg SNC00492_klein.jpg (293x)

Mime-Type: image/jpeg, 45 kB

SNC00490_klein.jpg SNC00490_klein.jpg (293x)

Mime-Type: image/jpeg, 58 kB

 1 2 3 4 5
 1 2 3 4 5
Gleichspannungsmessung   Summenrichtspannung   Durchlasskurve   Gleichspannungspotential   Messleitungsabschirmung   Gleichspannungseingang   Ratioelko   eingestellt   Abgleich   S-Kurve   Bandbreitenvergrößerung   ZF-Verstärkerstufen   allerdings   Amplitudenschwankungen   Ratiospannung   Wobbelgeschwindigkeit   Rheingold   Ratiofilter   Rechteckgenerator   Maximum-Abgleichmethode