| Passwort vergessen?
Sie sind nicht angemeldet. |  Anmelden

Sprache auswählen:

Wumpus Gollum Forum von
Wumpus Welt der (alten) Radios
Sie sind nicht angemeldet.
 Anmelden

Loewe-Opta Bella Typ 6720W Flankengleichrichter?
  •  
 1
 1
23.09.08 20:28
hugho-m 

100-249 Punkte

23.09.08 20:28
hugho-m 

100-249 Punkte

Loewe-Opta Bella Typ 6720W Flankengleichrichter?

Hallo!

Eines meiner Reparatur-Sorgenkinder ist das oben beschriebene Gerät. Soweit ist alles ok - leider habe ich bei dem Empfang von UKW Sendern 2 maximal Punkte.
Da ich in der Nähe des letzten ZF-Filters keinen Elko entdecken kann, stellt sich die Frage ob dieses Gerät mit einem Flankengleichrichter arbeitet.
Habe keinen Schaltplan.

Gruß
Ulli

Noch gefällt der Beitrag keinem Nutzer.
!
!!! Fotos, Grafiken nur über die Upload-Option des Forums, KEINE FREMD-LINKS auf externe Fotos.    

!!! Keine Komplett-Schaltbilder, keine Fotos, keine Grafiken, auf denen Urheberrechte Anderer (auch WEB-Seiten oder Foren) liegen!
Solche Uploads werden wegen der Rechtslage kommentarlos gelöscht!

Keine Fotos, auf denen Personen erkennbar sind, ohne deren schriftliche Zustimmung.

Den Beitrag-Betreff bei Antworten auf Threads nicht verändern!
23.09.08 20:38
Wolle 

500 und mehr Punkte

23.09.08 20:38
Wolle 

500 und mehr Punkte

Re: Loewe-Opta Bella Typ 6720W Flankengleichrichter?

Hallo Ulli.

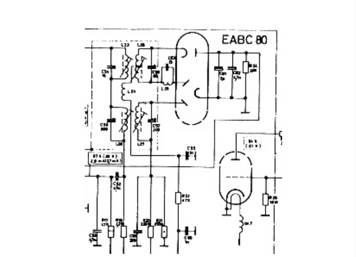
Sei zunächst herzlich willkommen hier im Forum. Dein Loewe ist recht "jung", Baujahr 1961/ 62. Zu dieser Zeit wurde das Prinzip der Flankengleichrichtung nicht mehr verwendet, das Gerät hat einen Ratiodetektor mit der Röhre EABC80. Als Stromlaufplan kann jede mit EABC80 bestückte Schaltung herangezogen werden, da das Schaltungsdesign weitgehend übereinstimmt. Könnte bei Dir ein Fehlabgleich vorliegen?
Irgendwo in der Umgebung der EABC80 und dem Ratiofilter sollte ein Elko zu finden sein. Hier kannst Du zur Messung der Richtspannung ein Meßgerät anschließen, da das Gerät keine Abstimmungsanzeige hat.
Anbei ein Schaltungsauszug des Demodulators.

Mit vielen Grüßen.
Wolle

Zuletzt bearbeitet am 23.09.08 20:52

Datei-Anhänge
aaaSB-Opta Bella 6720 W.jpg aaaSB-Opta Bella 6720 W.jpg (608x)

Mime-Type: image/pjpeg, 60 kB

24.09.08 10:01
hugho-m 

100-249 Punkte

24.09.08 10:01
hugho-m 

100-249 Punkte

Re: Loewe-Opta Bella Typ 6720W Flankengleichrichter?

Hallo Wolle,
vielen dank für Deine Antwort.

natürlich könnte eine Fehlabgleich der Grund sein. Werde mich erst einmal mit der Regelspannung befassen. Leider ist der Schaltungsausschnitt recht unscharf. In welcher Größenordnung soll sich die Spannung am Elko des Ratiodetektors bewegen?

PS: Bis wann wurden Flankengleichrichter so in etwa verwendet?

Lieben Gruß
Ulli

24.09.08 10:13
Wolle 

500 und mehr Punkte

24.09.08 10:13
Wolle 

500 und mehr Punkte

Re: Loewe-Opta Bella Typ 6720W Flankengleichrichter?

Hallo Ulli.

Das Prinzip des Flankendemodulators wurde etwa bis 1953/ 54 angewendet, danach wurde der Ratiodetektor als Demodulator verwendet. Ende der sechziger Jahre wurde bei einem Fernsehgerät ein Diskriminator eingesetzt, dieses Prinzip wurde aber noch während der Produktion durch den klassischen Ratiodetektor ersetzt.
Im Anhang noch einmal ein Schaltungsauszug zum Demodulator der Bella. Besseres ist leider nicht zu finden.

Mit vielen Grüßen.
Wolle

Zuletzt bearbeitet am 24.09.08 10:41

Datei-Anhänge
bella.jpg bella.jpg (593x)

Mime-Type: image/pjpeg, 117 kB

12.10.08 19:54
hugho-m 

100-249 Punkte

12.10.08 19:54
hugho-m 

100-249 Punkte

Re: Loewe-Opta Bella Typ 6720W Flankengleichrichter?

Hallo zusammen,

das Problem hat sich gelöst.

Der Elko war defekt.
Jetzt arbeitet das Gerät wunderbar.

Vielen dank.

Gruß

Ulli

 1
 1
Fehlabgleich   Abstimmungsanzeige   Stromlaufplan   Richtspannung   Größenordnung   Flankendemodulators   Diskriminator   Schaltungsauszug   Ratiodetektors   Ratiodetektor   übereinstimmt   Flankengleichrichtung   beschriebene   Schaltungsausschnitt   Regelspannung   Demodulators   Reparatur-Sorgenkinder   Flankengleichrichter   Schaltungsdesign   Loewe-Opta