| Passwort vergessen?
Sie sind nicht angemeldet. |  Anmelden

Sprache auswählen:

Wumpus Gollum Forum von
Wumpus Welt der (alten) Radios
Sie sind nicht angemeldet.
 Anmelden

Philips L3X19T, Antennenanschlüsse
  •  
 1
 1
09.12.15 14:37
Reinhard_M 

100-249 Punkte

09.12.15 14:37
Reinhard_M 

100-249 Punkte

Philips L3X19T, Antennenanschlüsse

Hallo,
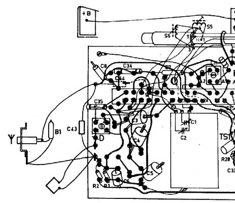
ich habe hier ein Philips L3X19T (Kofferradio von 1960 lt. doctsf oder 1961/62 lt. RM.org mit MW und 2xKW) auf dem Tisch, an dem ein Vorbesitzer offenbar schon mal rumgearbeitet hat. Das Gerät spielt, doch scheint mir der Empfang nicht gut und die Störgeräusche zwischen den Sendern sind recht stark.

Die Antennenbuchse und die interne Rahmenantenne sind anders angeschlossen, als in den Unterlagen dargestellt. Außerdem fehlen C43 und B1. Es ist offensichtlich, daß in diesem Bereich nachträglich gelötet wurde. Die Anschlüsse der Spulen auf dem Ferritstab scheinen mir unverändert zu sein.





Da ich den originalen Zustand wieder herstellen möchte, stellen sich mir 2 Fragen:

- Was ist B1, da finde ich in den Unterlagen keine Info.
- C43 ist mit 5,6 angegeben, sind das pF?

Die vollständigen Unterlagen findet man beispielsweise hier:
http://www.doctsf.com/documents/feuillet...2&ref=18360
(wenn sich die runtergeladene Datei nicht öffnen läßt, einfach .pdf an den Dateinamen hängen).

Über Eure Hilfe würde ich mich freuen.

Datei-Anhänge
Antenne-Platine-soll.JPG Antenne-Platine-soll.JPG (293x)

Mime-Type: image/jpeg, 51 kB

Antenne-Schaltplan-soll.JPG Antenne-Schaltplan-soll.JPG (306x)

Mime-Type: image/jpeg, 24 kB

Noch gefällt der Beitrag keinem Nutzer.
!
!!! Fotos, Grafiken nur über die Upload-Option des Forums, KEINE FREMD-LINKS auf externe Fotos.    

!!! Keine Komplett-Schaltbilder, keine Fotos, keine Grafiken, auf denen Urheberrechte Anderer (auch WEB-Seiten oder Foren) liegen!
Solche Uploads werden wegen der Rechtslage kommentarlos gelöscht!

Keine Fotos, auf denen Personen erkennbar sind, ohne deren schriftliche Zustimmung.

Den Beitrag-Betreff bei Antworten auf Threads nicht verändern!
09.12.15 15:08
nobbyrad58 

500 und mehr Punkte

09.12.15 15:08
nobbyrad58 

500 und mehr Punkte

Re: Philips L3X19T, Antennenanschlüsse

Hallo Reinhard!

B1 ist eine Glimmlampe. B könnte Buizen bedeuten, niederländisch für Röhren. Eine Glimmlampe ist ja eine Gasentladungsröhre, sie wird als Überspannungsschutz dort verbaut sein.

MFG Nobby

10.12.15 16:06
Reinhard_M 

100-249 Punkte

10.12.15 16:06
Reinhard_M 

100-249 Punkte

Re: Philips L3X19T, Antennenanschlüsse

Hallo Nobby,

danke für Deine Antwort. Daß das eine Glimmlampe zwecks Überspannungsschutz ist, kann ich gut nachvollziehen. Wenn ich das richtig verstehe, müßte die aber eine sehr niedrige Zündspannung haben. Da ich diese Zündspannung nicht kenne, eine entsprechende Glimmlampe wahrscheinlich schwer aufzutreiben ist und ich das Radio sowieso nicht mit externer Antenne betreiben werde, hab ich sie erstmal weggelassen.

Einen Kondensator mit 5,6 pF (sollen das wirklich picoF sein?) habe ich nicht, daher habe ich probehalber mal einen 8pF eingesetzt. Jedenfalls ist er so bezeichnet, das nachzumessen habe ich keine Möglichkeit, da meine Messgeräte nicht bis zu so kleinen Kapazitäten gehen. Mit und ohne den Kondensator konnte ich keinen Unterschied feststellen. Allerdings würde mich zwecks dazulernens doch interessieren, welche Funktion der eigentlich haben soll.

Jedenfalls hat das Gerät jetzt, wo die Antennenkabel da angelötet sind, wo sie lt. Schaltplan hingehören, einen guten Empfang und ich werde es so lassen.

10.12.15 17:47
nobbyrad58 

500 und mehr Punkte

10.12.15 17:47
nobbyrad58 

500 und mehr Punkte

Re: Philips L3X19T, Antennenanschlüsse

Hallo Reinhard!

Das wird eine ganz normale Glimmlampe; so wie sie in Betriebsanzeigen als Signallampen u.s.w. verwendet wird, sein. Die Zündspannung ist bei ca. 100 V, die Löschspannung bei ca. 70 - 60 V. Solche Glimmlampen ohne Vorwiderstand sind zb. bei P...oft erhältlich.
Die Glimmlampe ist eigentlich nur bei Verwendung einer "echten" Aussenantenne nötig. Allerdings könnten statische Aufladungen auch im Innenraum bei einer Drahtantenne oder ähnlichen gefährlich werden. Kommt aber selten vor meine ich.

MFG Nobby

 1
 1
interessieren   offensichtlich   Löschspannung   entsprechende   rumgearbeitet   beispielsweise   Überspannungsschutz   Vorwiderstand   runtergeladene   angeschlossen   Gasentladungsröhre   Antennenbuchse   nachvollziehen   Zündspannung   Aussenantenne   wahrscheinlich   Glimmlampe   niederländisch   Betriebsanzeigen   Antennenanschlüsse