| Passwort vergessen?
Sie sind nicht angemeldet. |  Anmelden

Sprache auswählen:

Wumpus Gollum Forum von
Wumpus Welt der (alten) Radios
Sie sind nicht angemeldet.
 Anmelden

Schaub Libelle 56/II
  •  
 1 2
 1 2
06.10.13 12:32
hecki 

0-49 Punkte

06.10.13 12:32
hecki 

0-49 Punkte

Schaub Libelle 56/II

Moin,

ich habe hier einen Schaub Libnelle 56/II, Type 3361, bei dem der Vorwiderstand verdampft ist (im Sinn des Wortes...). Ich bräuchte nun die Beschaltung als auch die Werte dieses Widerstands, damit ich ihn neu wickeln kann. Desweiteren wäre es wunderbar, wenn jemand hier aus dem Forum das Schaltbild dazu hat bzw. jemanden kennt, der's hat oder jemanden kennt...

Das Gerät ist in einen sehr gut restaurierungsfähigen Zustand, keine Gehäusebrüche, alle Teile (bis auf den Widerstand...) im Original erhalten und vorhanden. Lediglich die Kondensatoren bedürfen wohl eines genaueren Hinschauens. Gerade habe ich einige von Ihnen mit sehr merkwürdigen Daten gemessen. Ein 20 nF hat sagenumwobene 1,5 nF, während ein 5000 pF (5 nF) plötzlich 40 nF hat... Also heißt es alle Kondensatoren überprüfen und ggf. aus der Hülle ziehen und durch "Buntes" ersetzen, dann die Hülle wieder drüber...

Ach ja... Bevor mir neuem User des Forums erklärt wird, dass das Arbeiten an einem Allströmer durchaus lebensbedrohlich sein kann: Ich bin 1. vom Fach und betreibe 2. solche Geräte - geöffnet als auch geschlossen - grundsätzlich nur über einen Trenntrafo.

Zuletzt bearbeitet am 06.10.13 14:28

Noch gefällt der Beitrag keinem Nutzer.
!
!!! Fotos, Grafiken nur über die Upload-Option des Forums, KEINE FREMD-LINKS auf externe Fotos.    

!!! Keine Komplett-Schaltbilder, keine Fotos, keine Grafiken, auf denen Urheberrechte Anderer (auch WEB-Seiten oder Foren) liegen!
Solche Uploads werden wegen der Rechtslage kommentarlos gelöscht!

Keine Fotos, auf denen Personen erkennbar sind, ohne deren schriftliche Zustimmung.

Den Beitrag-Betreff bei Antworten auf Threads nicht verändern!
06.10.13 13:12
nobbyrad58 

500 und mehr Punkte

06.10.13 13:12
nobbyrad58 

500 und mehr Punkte

Re: Schaub Libelle 56/II

Hallo Hecki!

Die Frage ist welcher Widerstand eine Umwandlung gemacht hat. Wenn es ein R zur Strombegrenzung des gesamten Gerätes, also Heiz und Anodenkreis ist wird es ein einfacher Draht R mit 50 - 100 R sein. Der Ersatz ist einfach. Wenn allerdings der NTC für den Heizkreis im ... ist wird es schwierig, solche Widerstände mit der nötigen Leistung gibt es nicht mehr neu, zumindest hab ich noch keine gefunden.

MFH Nobby

06.10.13 14:25
hecki 

0-49 Punkte

06.10.13 14:25
hecki 

0-49 Punkte

Re: Schaub Libelle 56/II

Moin,

danke für die schnelle Antwort, sie geht aber leider ein wenig am Thema vorbei. Der Widerstand sieht so aus, wie auf den beiden angehängten Bildern. Es ist ein kombinierter Vorwiderstand für sowohl die Röhrenheizung (U-Röhren, UCH42, UF41, UBC41, UL41, UY41) als auch für die Anodenversorgung. Zu allem Übel ist das Gerät auch noch ausgelegt für den Betrieb an 110 V, 127 V und 220 V DC/AC, so dass der Widerstand mehrere Abgriffe hat. Zwei Widerstandswicklungen sind "verdampft", der Rest noch vorhanden...

Der auf den Fotos erkennbare zweite Widerstand ist messtechnisch einwandfrei.

Datei-Anhänge
Widerstand 1 klein.jpg Widerstand 1 klein.jpg (390x)

Mime-Type: image/jpeg, 252 kB

Widerstand 2 -klein.jpg Widerstand 2 -klein.jpg (361x)

Mime-Type: image/jpeg, 232 kB

06.10.13 14:56
nobbyrad58 

500 und mehr Punkte

06.10.13 14:56
nobbyrad58 

500 und mehr Punkte

Re: Schaub Libelle 56/II

Hallo Hecki!

Wenn ich einen Schaltplan hätte würde ich den Dir zur Verfügung stellen. Eine verrückte Idee von mir, wenn sonst nichts kommt.
Der vorhandene Draht ist auf dem ganzen Keramikkörper der gleiche; einfach den vorhandenen R messen und die Länge messen. So könnte man pro mm berechnen. Der Rest ist klar, die Werte auf Plausibilität prüfen. Die Leistungsaufnahme dürfte so um 40 W bei 220 V sein. Als Test einfach passend belastbare R als Brücke(n) zwischen den fehlenden Abgriffen nehmen und dann wenn's passt neu wickeln.

MFG Nobby

06.10.13 15:19
hecki 

0-49 Punkte

06.10.13 15:19
hecki 

0-49 Punkte

Re: Schaub Libelle 56/II

Moin,

jepp, schon klar... Länge messen und den R berechnen - natürlich eine Lösung, Schaltbild oder jemand, der das Ding im intakten Zustand hat und die Werte sowie Foto rüberfaxen könnte, wäre besser.

Der Widerstand ist ja nicht ganz grundlos abgefackelt. Es steckt irgendwo noch was "Kurzes" drin, was ich bislang messtechnisch nicht erfassen konnte. Alles hinter der UY41 (für wer's nicht weiss: Die Gleichrichterröhre...) sieht momentan OK aus - mein HV-Netzteil jedenfalls muckt nicht rum (und ja, den Siebelko habe ich inzwischen auch wieder entladen ).

Als nächstes werde ich die Röhren durch den Tester jagen - mal sehen, mit welchem Ergebnis. Auf jeden Fall ist der Kasten eine kleine Herausforderung - nicht wegen der Röhren (Lachnummer, bin mit den Dingern groß geworden), sondern weil es noch richtige Handarbeit und entsprechend verbaut ist. Viel Platz zum Löten ist da nicht...

So, mal schauen, ob nicht doch noch jemand ein Schaltbild hat - Google ist leider wenig ergiebig...

06.10.13 16:40
nobbyrad58 

500 und mehr Punkte

06.10.13 16:40
nobbyrad58 

500 und mehr Punkte

Re: Schaub Libelle 56/II

Hallo Hecki!

Hab eine Standard Applikation gefunden von Philips, das Schaltbild wird wohl immer noch gesucht.

MFG Nobby

Datei-Anhänge
UY Schaltung.gif UY Schaltung.gif (382x)

Mime-Type: image/gif, 25 kB

06.10.13 18:44
Wolle 

500 und mehr Punkte

06.10.13 18:44
Wolle 

500 und mehr Punkte

Re: Schaub Libelle 56/II

Hallo Hecki.

Hier der Heizkreis aus einem Schaub- Exportsuper. Vergleiche bitte, ob er paßt.



Mit vielen Grüßen.
Wolle

Datei-Anhänge
schaub_heizung.png schaub_heizung.png (366x)

Mime-Type: image/x-png, 29 kB

06.10.13 19:09
hecki 

0-49 Punkte

06.10.13 19:09
hecki 

0-49 Punkte

Re: Schaub Libelle 56/II

Moin,

erstmal auch dafür meinen Dank. Das Prinzipbild ist schon mal eine Annäherung an Vorhandenes... Ich wühle noch ein wenig und dann mal weitersehen.

Ich fürchte auch, dass mein Wunsch nach dem Schaltplan nicht erfüllt wird. Aber ich gebe nicht so leicht auf.

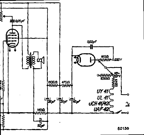
Ein ähnliches Schaltbild mit identischer Röhrenbestückung habe ich inzwischen gefunden: Philetta 51 BD 200U - Schaltbild als PDF hier mit dran, für alle mit ähnlichen Problemen als Hilfe. Dann kann die Wickelei beginnen

Ach ja, zufälligerweise entspricht sogar die Skalenlampe zu 100% der im Schaub verbauten Typ Philips 8097D-00. Die Daten dazu, die Philips seinerzeit sinnigerweise NICHT in die Fassung eingeprägt hat: 19 V, 0,097 A... 18 V, 0,1 A sollte aber problemloser Ersatz dafür sein.

Nachtrag: Ein kurzer Vergleich mit der Schaltung im Schaub erbrachte eine verblüffende Ähnlichkeit...

Danke auch an "Wolle" für den Schaltungsauszug. Ähnlich auch das - aber nur ähnlich und dennoch eine Hilfe zur Wahrheitsfindung.

@ Wolle: Von welchem Schaub Export Super stammt der Schaltungsauszug? Meine "Libelle" IST ein Exportgerät und wurde in Portugal ausgegraben.

Zuletzt bearbeitet am 06.10.13 19:22

Datei-Anhänge
PHILETTA 51 BD 200 U.pdf PHILETTA 51 BD 200 U.pdf (357x)

Mime-Type: application/pdf, 32 kB

06.10.13 19:38
Wolle 

500 und mehr Punkte

06.10.13 19:38
Wolle 

500 und mehr Punkte

Re: Schaub Libelle 56/II

Hallo Hecki.

Der Auszug gehört zur Viola56/III 3227GW von Schaub.
Mit vielen Grüßen.
Wolle

06.10.13 22:57
hecki 

0-49 Punkte

06.10.13 22:57
hecki 

0-49 Punkte

Re: Schaub Libelle 56/II

Moin,

danke, fehlt mir auch in der Schaltplansammlung... Vermutlich ist das Violachen identisch mit der Libelle - von der Technik her, nur ein anderes Gehäuse.

 1 2
 1 2
Schaltbild   welt-der-alten-radios   Gerätebeschaltung   Schaltplanauszug   Widerstandswicklungen   Gleichrichterröhre   lebensbedrohlich   Geräteschaltungen   Heizvorwiderstand   Skalenbirne   Libelle   Widerstand   restaurierungsfähigen   Leistungsaufnahme   Röhrenbestückung   Schaltplansammlung   Schaltungsunterlagen   Widerstandsdraht   Parallelwiderstand   Schaltungsauszug