| Passwort vergessen?
Sie sind nicht angemeldet. |  Anmelden

Sprache auswählen:

Wumpus Gollum Forum von
Wumpus Welt der (alten) Radios
Sie sind nicht angemeldet.
 Anmelden

Das "beste" Audion?
  •  
 1 .. 9 10 11 12 13 .. 18
 1 .. 9 10 11 12 13 .. 18
25.12.11 20:02
Uwe.Soboszcyk 

250-499 Punkte

25.12.11 20:02
Uwe.Soboszcyk 

250-499 Punkte

Re: Das "beste" Audion?

Hallo zusammen,

nachdem ich heute so ziemlich alles ausprobiert habe, die Audionstufe hinzubekommen und nichts geholfen hat, muß ich meinen Aufbau wohl erneut als "gescheitert" betrachten. Ich bin sogar so weit gegangen, daß ich die Verdrahtung neu gemacht habe. G1-Kombination ausgetauscht, abgschirmtes Kabel zum RK-Poti usw. Nichts hat wirklich holfen.

Ich werde wohl noch modularer vorgehen müssen und zunächst einmal eine gut funktionierende Audionstufe bauen, auf der man aufsetzen kann.
Evtl. kann man da immer noch eine Vorstufe bauen, die davor geschaltet wird.

Ich habe auch noch einen Schalenkern in der Bastelkiste gefunden, auf dem die Schwingkreisspule aufgewickelt werden könnte. Da habe ich allerdings bereits mit 3 Windungen dicken Kupferdrahtes über 20µH. Da wird es mit anzapfen echt schwer und auch eine RK-Spule dürfte dann max 1 Windung haben.
Ob das so das Richtige ist?
Eine andere Alternative wären Spinnennetzspulen. Drei Stück hintereinander für Antenne, Kreis und Rückkopplung. Aber da its mit Abschirmen wieder Essig.

Ich würde aber auch gern die Idee mit den Steckspulen noch einmal aufgreifen. Als Fassung würde ich eine Röhrenfassung nehmen und jede Spule auf eine kleine Platine mit Lötstiften drunter.

Die Spulen-Alternative ist dafür wohl der Amidon Ringkern, Luftspule oder Spule auf Fassung mit Schraubkern.

Dann habe ich bei einem Transistoraudion mal die Rückkopplung über einen Drehko, (nicht Poti) versucht. Das schien mir etwas besser als mit einem Poti. Könnt ihr das bestätigen?

Aufbaumäßig würde ich nun versuchen, "Normgehäuse" zu bauen. Für jede Stufe bzw, jedes Gerät ein eigenes Häußchen.

Mal sehen, ob meine "Tischler-Fertigkeiten" das hergeben werden.
MFG Uwe

Zu Hause ist da, wo man hin geht, wenn man einmal etwas falsch gemacht hat.

!
!!! Fotos, Grafiken nur über die Upload-Option des Forums, KEINE FREMD-LINKS auf externe Fotos.    

!!! Keine Komplett-Schaltbilder, keine Fotos, keine Grafiken, auf denen Urheberrechte Anderer (auch WEB-Seiten oder Foren) liegen!
Solche Uploads werden wegen der Rechtslage kommentarlos gelöscht!

Keine Fotos, auf denen Personen erkennbar sind, ohne deren schriftliche Zustimmung.

Den Beitrag-Betreff bei Antworten auf Threads nicht verändern!
25.12.11 23:19
nobbyrad58 

500 und mehr Punkte

25.12.11 23:19
nobbyrad58 

500 und mehr Punkte

Re: Das "beste" Audion?

Hallo Uwe!

Nur nicht aufgeben, vielleicht sollte man wirklich zuerst ein gut funktionierendes Audion bauen. Die Vorstufe kommt später. Wie fast immer einen Schaltungsvorschlag aus der guten alten Zeit. Es sind ein paar Schaltungsänderungen für heutige Projekte notwendig die Drossel 1 hat 50 H, das muss geändert werden oder Du hast eine solche Induktivität zufällig rumliegen.
Lange Rede kurzer Sinn es kommt die Stückliste:
C 1 = 5 - 20 pF; C 15 = 5000 pF
C 2 = 100 pF; C 22 = 0,1 µF
C 3 = 150 pF; L = 30 Wdg./ 30mm Durchm.
C 4 = 100 pF; Dr 1 = 50 H
C 5 = 100 pF; Dr 4 = 20 µH
C 6 = 50 pF; R1 = 1 MOhm
C 7 - C 11 = 10 - 80 pF; R2 = 5 kOhm
C 12 = 100 pF; R3 = 100 kOhm
C 13 = 100 pF; R4 = 5 kOhm
C 14 = 2 µF; R7 = 30kOhm; P1 = 100 kOhm/lin
Es handelt sich hier um die alten original Werte. Der Wellenschalter mit den Trimmern kann natürlich bei Deiner Schaltung nur für 80m wegfallen, bis auf einen.
PS: Steckspulen sind ja nur notwendig wenn mehre Bänder empfangen werden sollen, die gute Alternative bei einfachen Radios zu Wellenschaltern, die ja auch Probleme bereiten können.



MFG Nobby

Datei-Anhänge
0 V 1.jpg 0 V 1.jpg (712x)

Mime-Type: image/jpeg, 49 kB

26.12.11 08:39
Uwe.Soboszcyk 

250-499 Punkte

26.12.11 08:39
Uwe.Soboszcyk 

250-499 Punkte

Re: Das "beste" Audion?

Hallo Nobby, hallo alle,

von Aufgeben kann keine Rede sein!
Da es nun aber auf Steckspulen hinauslaufen soll, wird eine neue Planung notwendig.

1)
Ich habe etliche sogen. Niederspannungsröhren hier herumliegen, (EF98,EF97,ECH83,ECC86)
Was spricht Eurer Meinung nach dagegen, mit diesen Röhren zu arbeiten?
Da ich nur einen begrenzten Teilevorrat für hohe Spannungen habe, wäre der Einsatz der Röhren von Vorteil.
Die niedrigen Anodenspannungen wären für das Austesten der richtigen Werte deutlich entspannter.
Dies trifft besonders auf mich zu, da ich aufgrund gesundheitlicher Probleme manchmal leichte Koordinationsschwierigkeiten insbesondere meiner Finger habe. Es ist höchst umständlich, für wirklich jeden Handgriff und jedes Anlegen von Messleitungen, den Empfänger auszuschalten und das Netzteil zu entladen. Nachdem ich mehrfach Anodenspannung getankt hatte, hatte sich in der Konsequenz die Notwendigkeit zu obigem Vorgehen ergeben.
Wenn Hochspannungsröhren sein müssen, dann muß ich das Netzteil ebenfalls als Einzelmodul bauen.Ohnehin eine für mich durchaus nicht unangenehme Vorstellung.

2)
Da ein Audion mit Steckspulen angestrebt werden soll, muss der Frequenzbereich bis in den 20m-Bereich (besser 10m) hinein reichen. Dort hat das Kaskodenaudion auf jeden Fall Vorteile. Wenn schon Steckspulen, dann ist die Beschränkung auf das 80m-Band m.E. unsinnig. Das heißt aber sicherlich auch, dass ich noch mehr Wert auf einwandfeie Konstruktion legen muß.
Ich strebe deshalb "Würfelmodule" an, bei denen lediglich die Röhre und die Steckspule oben herausschauen. Unter der Steckspule im Würfel ist der Drehko montiert. Notwendige Parallel- und Serienkapazitäten sind auf dem Steckspulenträger montiert, so dass sie jeweils mit der Spule ausgetauscht werden.
Der Würfel soll also sozusagen 3 Stockwerke haben: EG: Spannungszuführungen, 1. OG Drehko(s) mit Verdrahtung derr Röhre und der Steckspule, Dachterrasse: Röhre und Steckspule.
Ist das so anzustreben?

Ist es sinnvoll, für die Anodenspannung ebenfalls geschirmtes Kabel zu verwenden?
Wäre es sinnvoll die Röhren mit Gleichspannung zu heizen und einen Pol der Gleichspannung mit Masse zu verbinden?

Der Würfel soll dann nachher von vorn in ein Holzgehäuse geschoben werden, so dass nur noch die Front, Röhre und Steckspule zu sehen sind. Natürlich muss das Gehäuse von oben entsprechende Bohrungen haben.
Anschlüsse: Anodenspannung, Heizspannung, Antenne/Erde bzw. Vorstufe.
Später kann dann immer noch entschieden werden, ob es getrennte Gehäuse oder ein Gehäuse mit "Einschubmodulen" wird.

3)
Die Rückkopplung des Audions über eine Kathodenanzapfung der Schwingkreisspule scheint mir nicht ideal.
Bei der Rückkopplung über eine getrennte Wicklung hatte ich bisher deutlich weniger Einflußnahme auf die Empfangsfrequenz und auch die Regelung ließ sich damit wesentlich feinfühliger machen. Insbesondere, wenn diese über einen Drehko realisiert war.

4)
Die Antenneneinkopplung muß rein induktiv mit getrennter Spule erfolgen, so daß wahlweise Antenne/Erde oder Vorstufe abgekoppelt werden können. Die Koppelspule liegt mit auf der Steckspule.

5)
Bei Steckspulen für die diversen Frequenzbereiche ist es nicht möglich, die Empfängerscala zu beschriften.
Ich möchte deshalb eine weitere Koppelwicklung auf der Steckspule anbringen, über die bei angezogener Rückkopplung eine Frequenzmessung möglich wird. Ist das OK?

Eine Menge neuer Gedanken. Dieses Mal werde ich mir auf jeden Fall mehr Zeit für eine möglichst perfekte und saubere Umsetzung lassen.

MFG Uwe

Zu Hause ist da, wo man hin geht, wenn man einmal etwas falsch gemacht hat.

26.12.11 08:49
qw123 

500 und mehr Punkte

26.12.11 08:49
qw123 

500 und mehr Punkte

Re: Das "beste" Audion?

Hallo Uwe,

da "Nobby" Dich schon unter seine fachmännischen Fittiche genommen hat, möchte ich mich eigentlich nicht in Euren Dialog einmischen. Zu viele Informationen können auch verwirrend sein.

In der Hoffnung, daß es Dir trotzdem hilft, möchte ich aber doch ein paar Anmerkungen machen:

uwe:
Ich habe auch noch einen Schalenkern in der Bastelkiste gefunden, auf dem die Schwingkreisspule aufgewickelt werden könnte. Da habe ich allerdings bereits mit 3 Windungen dicken Kupferdrahtes über 20µH. Da wird es mit anzapfen echt schwer und auch eine RK-Spule dürfte dann max 1 Windung haben.
Ob das so das Richtige ist?
Bei Deinen Schalenkernen solltest Du vorher ins Datenblatt schauen, ob diese Kerne für den Kurzwellenbereich geeignet sind. Kerne mit hohem Al-Wert sind es im allgemeinen nicht, zu große Verluste.
uwe:
Ich würde aber auch gern die Idee mit den Steckspulen noch einmal aufgreifen. Als Fassung würde ich eine Röhrenfassung nehmen und jede Spule auf eine kleine Platine mit Lötstiften drunter.

Die Spulen-Alternative ist dafür wohl der Amidon Ringkern, Luftspule oder Spule auf Fassung mit Schraubkern.
Ich selber würde bei Deinem Vorhaben auf Steckspulen setzen, wenn Du verschiedene Wellenlängen-Bereiche haben willst. Ansonsten auf selbsttragende Luftspulen aus dickem Draht. Auch die lassen sich abgleichen durch vorsichtiges Stauchen oder Auseinanderziehen.
Es wäre zu überlegen, ob man in diesem Fall nicht besser auf Schaltungen verzichtet, die separate Ankoppelspulen verlangen. Die Antenne (bzw. Vorstufe) läßt sich auch über Anzapfungen ankoppeln. Oder einfach über eine kleine, evtl. abstimmbare Kapazität am Hochpunkt ankoppeln. Wie schon vorher mal empfohlen.

Als Halterung für Steckspulen habe ich auch schon übliche 9- oder 15polige SubD-Steckerpaare verwendet. Die sind relativ billig, mechanisch sehr stabil und haben gegenüber selbstgebauten Steckern für eine Röhrenfassung den Vorteil, daß sie kontaktsicherer sind.
Es lassen sich sowohl Luftspulen wie auch KW-Ringkerne oder Schraubkern-Körper darauf befestigen. Luftspulen kommen wohl eher für die höheren KW-Bänder infrage. Sie haben den Vorteil, daß sie sich leicht herstellen lassen, aber den Nachteil, daß sie sich bei unvorsichtigem Ein- oder Ausstecken leicht verbiegen.

Von den Abmessungen her wären die alten 5poligen Europa-Röhrensockel ideal um KW-Spulen drauf zu wickeln, sind aber kaum mehr zu beschaffen.
Andere Leute haben damit schon Audion-Empfänger bis in den UKW-Bereich hinein gebaut. Siehe [1].

uwe:
Dann habe ich bei einem Transistoraudion mal die Rückkopplung über einen Drehko, (nicht Poti) versucht. Das schien mir etwas besser als mit einem Poti. Könnt ihr das bestätigen?
Bei MW und LW bevorzuge ich die Rückkopplungs-Regelung per Drehko (so wie bei den alten Volksempfängern). Bei Kurzwellen bekommt man damit aber zumeist Probleme: Verstimmung des Schwingkreises bei Änderung der Rückkopplung. Hier würde ich dann doch die Regelung über das Schirmgitter bevorzugen. Wichtig: bei steilen Röhren liegt der beste Audion-Arbeitspunkt meist bei wenigen zehn Volt (20...40V) für Anode und G2.

Gruß

Heinz

[1] W.Knobloch, "Ein einfacher Kurzwellenempfänger für 3 bis 150 MHz", Funkschau 5/1958 S.120
Für Leute, die Zugang zu alten Funkschau-Heften haben.
Als Spule für 80m wird hier empfohlen: 40 Wdg./20mm Durchmesser/10mm Länge/ ECO-Anzapfung bei 8 Wdg./0.25CuL
Für 40m: 20 Wdg./20mm D/10mm L/Anz. bei 4 Wdg./ 0.5CuL
Kapazität jeweils 10...100pF. Röhre EF42/EF80.

26.12.11 10:30
Uwe.Soboszcyk 

250-499 Punkte

26.12.11 10:30
Uwe.Soboszcyk 

250-499 Punkte

Re: Das "beste" Audion?

Hallo Heinz,

nur keine Hemmungen. So leicht bin ich nicht zu verwirren.

Aber eine Frage hätte ich dennoch:
Bei fast allen Audion-Schaltungen, die ich im Internet finde, gibt es keine RK-Spule, sondern die Kathode liegt an einer Anzapfung der Schwingkreisspule.
Ist das nur, weil es einfacher ist, oder ist die Art der Rückkopplung auch qualitativ der getrennten RK-Spule vorzuziehen?
Da könnte man ja dann wirklich große Luftspulen mit nur 2 Anzapfungen (Antenne, RK) realisieren.
Den von Dir angesprochenen Europa-Sockel kenne ich leider nicht. Mir ist aber noch ein keramischer Magnoval-Sockel mit versilberten Kontakten in die Hände gefallen. (Für PL504/509 usw).
Wäre der ok? Bei einem Audion hatte ich das mit normalem Noval-Sockel und versilberten Lötstiften realisiert. Klappte ohne Kontaktprobleme gut, war aber etwas zu klein für Luftspulen u.s.w.

Heute würde ich die Platine "umdrehen", d.h. Spule auf Leiterbahnseite, Lötstifte auf Bestückungsseite. Das ist stabiler beim Stecken und rausziehen.
Außerdem weiß ich nicht, ob das Verkleistern der Spule mit Heißkleber der Güte nicht abträglich ist.

MFG Uwe

Zu Hause ist da, wo man hin geht, wenn man einmal etwas falsch gemacht hat.

Datei-Anhänge
Steckspule1.jpg Steckspule1.jpg (473x)

Mime-Type: image/jpeg, 116 kB

26.12.11 13:37
nobbyrad58 

500 und mehr Punkte

26.12.11 13:37
nobbyrad58 

500 und mehr Punkte

Re: Das "beste" Audion?

Hallo Uwe!

Die ECO Schaltung arbeitet verstimmungsfrei, das heißt bei betätigen der RK bleibt die eingestellt Abstimmfrequenz erhalten. Rainer hat eine Kaskode - Schaltung vorgestellt die mit hohen Spannungen arbeitet. Man könnte Deine ECC 86 die mit 12 V arbeitet an die Schaltung anpassen.
Die EF 98 kann nicht als ECO genommen werden, weil g3 + k in der Röhre miteinander verbunden sind.
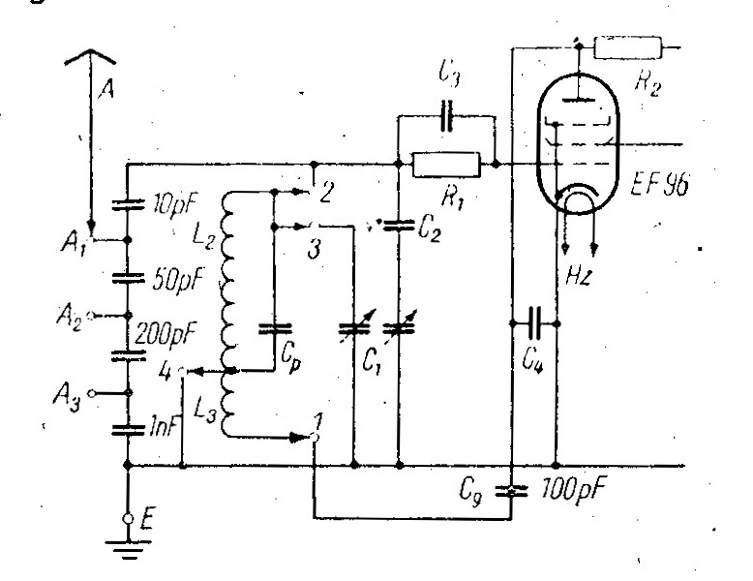
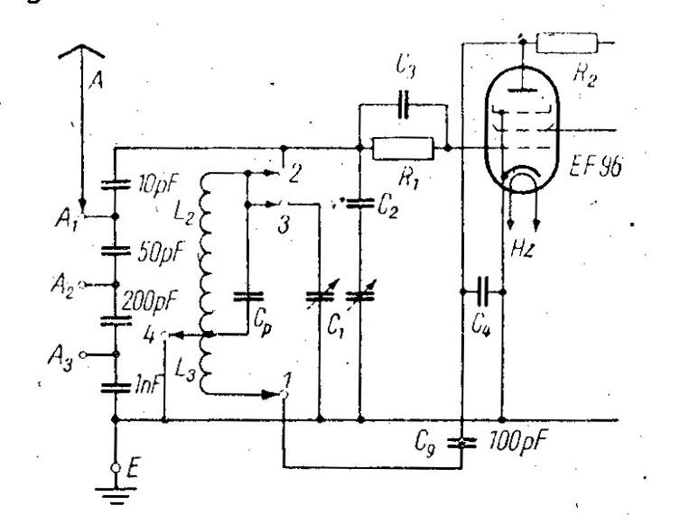
Hab wieder eine Schaltung mit Steckspulen ausgegraben, Kaskodeschaltungen füt 10 - 80 m hab ich nicht gefunden, nur für UKW. Bei der Nicht - Eco Schaltung sind einige kleine Änderungen der Spulen notwendig. Es entfällt die Anzapfung. L 3 muss zusätzlich aufgebracht werden. 80m = 6 Wdg. 40m = 5 Wdg. 20m = 3 Wdg. 15 + 10m = 2 Wdg.







MFG Nobby

Datei-Anhänge
Audion kein ECO.jpg Audion kein ECO.jpg (944x)

Mime-Type: image/jpeg, 36 kB

Spulendaten.jpg Spulendaten.jpg (506x)

Mime-Type: image/jpeg, 46 kB

Spule Aufbau.jpg Spule Aufbau.jpg (758x)

Mime-Type: image/jpeg, 40 kB

26.12.11 15:30
nobbyrad58 

500 und mehr Punkte

26.12.11 15:30
nobbyrad58 

500 und mehr Punkte

Re: Das "beste" Audion?

Hallo Uwe!

Alte Röhrenschaltungen wurden auf einem Metallchassis aufgebaut. Speziell bei den Steckspulen gab es eine konstruktive Besonderheit, die wurden mit Hilfe eines Winkels um 90° versetzt auf der Montageplatte befestigt. Die Vorderfront des Empfängers war aus Metall. In diese Vorderfront wurde eine Loch gemacht, so das ein Wechsel von vorne möglich war. Dieses Loch hatte eine verschiebbare Abdeckung um äußere Einflüsse zu verhindern. Gerade beim Bau von KW Geräten sind auch die mechanisch konstruktiven Einzelheiten wichtig, da könnte sich der Nachbau einer bewährten Vorlage auszahlen. Natürlich ist die obige Schaltung auch als ECO Schaltung konstruiert worden. Für diese Schaltung gibt es auch Konstruktionsskizzen, sie sollten dem Anfänger helfen eine funktionierende Schaltung zu bekommen.
Von der Verwendung von Röhrenfassungen wird im allgemeinen abgeraten bei KW, man könnte auch Minaturbuchsen und Stecker wie im Modellbau nehmen, wäre zumindest eine Möglichkeit.



MFG Nobby

Datei-Anhänge
Aufbau1.jpg Aufbau1.jpg (571x)

Mime-Type: image/jpeg, 28 kB

26.12.11 19:13
Uwe.Soboszcyk 

250-499 Punkte

26.12.11 19:13
Uwe.Soboszcyk 

250-499 Punkte

Re: Das "beste" Audion?

Hallo Nobby, hallo Rainer,

@Nobby
was du zum ECO-Audion schreibst hat mich ja überzeugt. Ich will bestimmt nicht mit Gewalt in die nächste Falle laufen!
Und wenn die Rückkopplung beim ECO am wenigsten auf die Frequenz rückwirkt, so ist es das Prinzip der Wahl für mein Audion.

Wie wäre es mit einer DIN-Buchse als Fassung für die Spule? Wäre sowohl in 5-polig als auch in 7-polig vorhanden?

Im "Parallelthread" von Rainer wird das Ganze ja noch einmal prima thematisiert.

Das Einschieben der Spule von der Gehäusefront aus mit einer kleinen Klappe davor ist nachvollziehbar sinnvoll und wird sicher so oder entsprechend zu realisieren sein.

@Rainer
Ich bin nicht sicher, aber macht es Sinn, die Diskussion in diesem Thread weiterzuführen, wenn die Dinge parallel erörtert werden? Dein Thread könnte eigentlich nahtlos hier anschließen. Das was hier von mir gebaut und gezeigt wurde,
ist ja eigentlich eine Anleitung, wie man es besser NICHT macht.
Ich würde versuchen, im Parallelthread zu lernen und zu diskutieren und hier erst wieder vorstellig zu werden, wenn ich etwas vorzuweisen habe.

MFG Uwe

26.12.11 19:49
wumpus 

Administrator

26.12.11 19:49
wumpus 

Administrator

Re: Das "beste" Audion?

Hallo Uwe,

ich denke, diese Beitrag-Serie hier kann gut und gern weitergeführt werden, zeigt er doch die Möglichkeiten, Grenzen und Varianten des gewählten Konzepts auf und ist in jedem Fall für Interessierte hilfreich. Es ist eben so, dass KW-Audions (insbesondere mit Vorstufe) es in sich haben können. Auch bei mir sind Aufbauten nicht richtig zum guten Laufen gekommen. Dein letzter Aufbau war recht gut und müsste eigentlich laufen, wenn die Audionspule gegenüber der Vorkreisspule um 90 % verdreht würde, hatte ich aber schon in diesem Thread geschrieben.

Es scheint mir wichtig, bei diesen Geradeausempfängern zuerst die Audionstufe auf 100 % zu bringen. Erst dann sollte eine HF-Stufe hinzukommen. Eine gute Audionstufe und eine gute HF-Vorstufe bleiben auf KW kritisch, Kleinigkeiten entscheiden über Erfolg oder Misserfolg. Ich würde mich deshalb nochmals unverdrossen an die Audionstufe ranmachen. Die Antennenankopplung ist vielleicht nicht optimal. Es muss so sein, dass bei 2/3 eingedrehtem Rückkopplungspoti die Schwingungen weich einsetzen.

Dann wäre die Frage, was Du von dem Audion erwartest. Ist es bei Dir wirklich schlecht oder leistet es das was es kann? wie verhält es sich im Vergleich mit einem Vergleichssuper?

Mein Thread bezüglich der Kaskode zeigt ein anderes Konzept und ist nicht als Konkurrenz-Beitrag gedacht. Die Erfahrungen vieler Funkamateure haben die Kaskode als Geheimtipp etabliert, ABER auch Deine Schaltung ist gut geeignet. Kämpfe Dich am besten durch die Widrigkeiten hindurch, erstmal ohne Vorstufe.....


Übrigens bin ich einer der "Beitrag hat mir gefallen"-Unterzeichner Deines Startbeitrags.
Vielleicht fügen ja noch andere Ihr Zeichen hinzu?

Gruß von Haus zu Haus Rainer (Forum-Betreiber)

Rettet den analogen deutschen AM / FM - Rundfunk!:
www.rettet-unsere-radios.de
Mach mit: Photos der letzten AM-Sender:
http://www.wumpus-gollum-forum.de/forum/...e-am-sender.htm
Besuche die WEB-Seite des Deutschen Rundfunk-Museum e.V.
http://www.drm-berlin.de

Zuletzt bearbeitet am 27.12.11 07:42

26.12.11 19:50
nobbyrad58 

500 und mehr Punkte

26.12.11 19:50
nobbyrad58 

500 und mehr Punkte

Re: Das "beste" Audion?

Hallo Uwe!

Ich schätze das im Prinzip fast alles als Kontaktierung der Steckspule nehmen kann. Aber da kommt man mit den Abständen der Kontakte und der Weiterführung nicht richtig klar. So eine DIN Buchse hat ja ganz enge Kontaktabstände da könnte es zu Verkopplungen kommen, beim 10m Band wird das wohl ziemlich kritisch. Ein Nachbau der Spulen so gut es geht wäre zumindest sicherer. Bei beiden Spulenkörpern sind die Masse ja ähnlich und die Anordnung der Kontakte auch. Also kein Ost - West Problem, die erste Schaltung kommt aus der BRD die zweite aus der DDR.
Also im Ernst ist es so, das alle Autoren auf die speziellen KW Konstruktionsmerkmale hinweisen und immer wieder schreiben das ein nicht oder schlecht funktionierendes Radio oft auf Fehler im Aufbau zurückzuführen sind.
Eine Möglichkeit zur Grundeinstellung und Verbesserung könnte eine kleine Änderung bei den Empfangsfrequenzen sein, nämlich erst mal versuchen die nächstgelegen Rundfunkbänder zu empfangen um von da aus in die Amateurbänder "abzuwandern". So könnte man die Antennenkopplung usw. austesten, nicht alles lässt sich mit einem normalen Messender machen. Ist natürlich nur ein Vorschlag um von einfach nach schwierig zu kommen.

MFG Nobby

 1 .. 9 10 11 12 13 .. 18
 1 .. 9 10 11 12 13 .. 18
Antenne   Verstärkung   vielleicht   Schaltung   Anodenspannung   natürlich   letzten   Vorstufe   könnte   Zuletzt   rettet-unsere-radios   allerdings   zusammen   deutschen   bearbeitet   gemacht   richtig   Röhren   wumpus-gollum-forum   Rückkopplung