| Passwort vergessen?
Sie sind nicht angemeldet. |  Anmelden

Sprache auswählen:

Wumpus Gollum Forum von
Wumpus Welt der (alten) Radios
Sie sind nicht angemeldet.
 Anmelden

UKW Transistor Radio bauen
  •  
 1 2 3
 1 2 3
03.12.11 17:42
GeorgK 

500 und mehr Punkte

03.12.11 17:42
GeorgK 

500 und mehr Punkte

Re: UKW Transistor Radio bauen

technikfreund:
Hallo Zusammen!

Ich suche eine Schaltung, um ein UKW Transistor Radio zu bauen.

Vor einigen Jahren hatte ich mal einen ganz einfachen Detektor mit Quetscher Drehkondensator
in der Bucht gekauft, und das nur weil dem Gerät ein Kirstallohrhöhrer beilag, den brauchte ich
für meinen Detektor Marke Eigenbau.

Einen Drehkondensator habe ich also schonmal.

Die Schaltung sollte mit einzel Transistoren aufgebaut sein, Angaben über die Spule bräuchte ich auch.
Angeschlossen werden soll ein Kopfhörer, ggf. über einen kleinen Verstärker auch Lautsprecher Empfang möglich sein.

Wer hätte einen Schaltung? Im Netz finden sich zwar Schaltpläne, oft aber ohne Spulenangaben usw...

Das Gerät sollte ohne Erdverbindung funktionieren, also wie mein tragbares Transistoradio.

Viele Grüße Technikfreund.



Hallo,

dises habe ich mal nachgebaut.

http://www.radiobastler.12see.de/junior_45521215.html

Das Knifflige ist das IC ,ein SMD. Beim Löten habe ich mit einer Grossen Leuchtlupe gearbeitet. Aber einfach und gut.
Das ganze in einer Seifendose und "Verkleistert" da es sonst wild schwingt. Die Spule hat 7 Windungen Cul Draht -1 mm Durchmesser auf einem Ferrittkern (Verstellbar durch schrauben) Den Fe.Kern habe ich Versuchsweise Abgeschirmt, daduch werden die Sender stabil.Kopfhörer ist einer dieser, die man im Flugzeug für 5.-Euro (unter anderem bei der Krannich Ag )erhält.
Antenne ist ein Stück Draht etwa 90 cm.


http://www.radiobastler.12see.de/junior_45521215.html






Schöne Grüße aus Hessen

http://oldradio.de.tl/Home.htm

Georg

Zuletzt bearbeitet am 03.12.11 18:29

Datei-Anhänge
P1090249.JPG P1090249.JPG (502x)

Mime-Type: image/jpeg, 94 kB

P1090250.JPG P1090250.JPG (333x)

Mime-Type: image/jpeg, 97 kB

!
!!! Fotos, Grafiken nur über die Upload-Option des Forums, KEINE FREMD-LINKS auf externe Fotos.    

!!! Keine Komplett-Schaltbilder, keine Fotos, keine Grafiken, auf denen Urheberrechte Anderer (auch WEB-Seiten oder Foren) liegen!
Solche Uploads werden wegen der Rechtslage kommentarlos gelöscht!

Keine Fotos, auf denen Personen erkennbar sind, ohne deren schriftliche Zustimmung.

Den Beitrag-Betreff bei Antworten auf Threads nicht verändern!
03.12.11 18:32
Volker 

500 und mehr Punkte

03.12.11 18:32
Volker 

500 und mehr Punkte

Re: UKW Transistor Radio bauen

technikfreund:
Hallo Zusammen!

Was haltet ihr von folgender Schaltung?

Verwendet den TDA 7000 und eine Kapazitätsdiode.

mikrocontroller.net/attachment/86361/tda-7000-fm-radio-1.jpg

Viele Grüße Technikfreund.

Hallo Technikfreund,

die Schaltung funktioniert mit Sicherheit. Wenn du sie aufbaust, solltest du für die Spannungsversorgung einen 5Volt-Festspannungsregler verwenden, der auf der Platine oder auf dem Steckbrett sitzt.

Im Internet findest du genug Online-Berechnungsprogramme für die Spulenberechnung. Wenn du einen Bohrer 6 bis 10 mm nimmst, hast du gleich den Durchmesser. Nimm Draht mit mindestens so etwa 0,8 mm Durchmesser für die Oszillatorspule. Andernfalls tritt Mikrofonie auf.

Viele Grüße Volker


Viele Grüße Volker

"Das Radio hat keine Zukunft." (Lord Kelvin, Mathematiker und Physiker (1824-1907))

18.12.11 22:14
technikfreund 

500 und mehr Punkte

18.12.11 22:14
technikfreund 

500 und mehr Punkte

Re: UKW Transistor Radio bauen

Hallo Zusammen!

Nun ist die Weihnachtszeit da und der Technikfreund hat wieder etwas Zeit zum basteln.
Eigentlich tue ich immer basteln, aber wenn man ein paar freie Tage hat kann man von morgens
bis abends in der Bastelecke sitzen. Da vergesse ich auch gerne mal die Zeit.

Ich habe mir nun einen Franzis UKW Radio Bausatz mit IC und Transistoren in der Schaltung bestellt.
So habe ich auf einen Schlag alle benötigten Bauteile zusammen.
Vielleicht verpasse ich dem
Radio anstatt der vorgefertigten Platine einen eigene, dann wirkt es nicht so sehr nach Bausatz, mal schauen.
Erstmal muss es funktionieren.

Hier der Schaltplan:

www. elektronik-labor.de/Lernpakete/1110UKW6.jpg

Viele Grüße Technikfreund.

Zuletzt bearbeitet am 18.12.11 22:22

20.12.11 20:59
technikfreund 

500 und mehr Punkte

20.12.11 20:59
technikfreund 

500 und mehr Punkte

Re: UKW Transistor Radio bauen

Hallo Zusammen!

Das Transistor Radio ist fertig!

Mein erstes selbst gebautes Transistor Radio.

Leider waren das IC und einige SMD Bauteile schon auf der Platine verbaut, sodass der
Selbstbau der Platine flach viel.
Dafür hat das Radio eine kleine Bonbon Blechdose als Gehäuse bekommen und wird ggf.
noch modifiziert.

Vielleicht besorge ich mir die Bauteile mal einzeln im Elektronikladen und baue ein zweites
Radio.

Viele Grüße Technikfreund.

08.02.14 16:31
ThomasW

nicht registriert

08.02.14 16:31
ThomasW

nicht registriert

Re: UKW Transistor Radio bauen

Guten Tag,

ich habe mit meinem Sohn in diesen Winterferien ebenfalls beschlossen ein kleines UKW-Radio für den Sommerurlaub zu bauen.
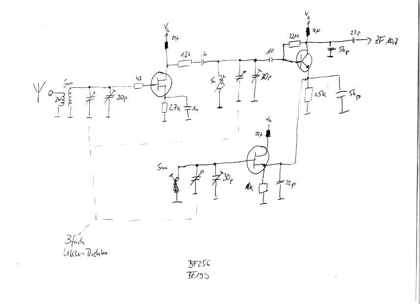
Die Bausätze mit dem TDA Baustein funktionieren, aber nicht sehr gut. Die Schaltungen klingen im Endergebnis nicht sehr gut. Auch wenn wir einen TDA-Bausatz an einen richtigen Niederfrequenzverstärker anschließen ist die Audioqualität schlecht. Der Abstimmung nur mit einem Präzisionspotentionmeter erträglich. Da gibt es unserer Ansicht noch einiges an Verbesserungspotential. Wir wollen also einen richtigen Uberlagerungsempfänger mit hoher ZF bauen. Einen UKW-Tuner haben wir nach Vorbild diverser Radioschaltung für eine ZF von 10,7 MHz schon aufgebaut und an einem richtigen Radio erfolgreich getestet. Im Nachhinein waren wir schlauer. Die Arbeit hätten wir uns nämlich sparen können da es fertige Tuner mit Drehkondensator bereits für 5 Euro im Versand gibt. Aber so haben wir auch etwas gelernt.

Die ZF Verstärkung wollen wird entweder mit D-Röhren oder HF-Transistoren bauen. Keine IC-Bausteine!!! Das Urlaubsradio soll mit 6-8 Monobatterien betrieben werden. Wir konnten uns noch nicht entscheiden. Röhren sind fein, aber für den Zweck (Strand, Camping) vielleicht nicht robust und sparsam genug?
Was meinen die Experten im Forum?

Für das Gehäuse stehen wir vor der Wahl ein altes kaputtes Kofferradio aus den 50/60er Jahren bei *(W)* zu kaufen und leerzuräumen oder selbst zu bauen. Hat vielleicht jemand im Forum ein leergeräumtes altes schickes Kofferradio welches nicht mehr zu retten ist?

Viele Grüße
Thomas Wust

Zuletzt bearbeitet am 08.02.14 16:31

09.02.14 00:41
joeberesf 

500 und mehr Punkte

09.02.14 00:41
joeberesf 

500 und mehr Punkte

Re: UKW Transistor Radio bauen

Hallo Thomas,

für Basteleien mit dem Sohnemann...kann ich für UKW..trotz aller
zusätzlichen Abstrahlung, ...!
Nur den Simpelmax empfehlen. So wenig Bauteile ...und doch guten
Sound!

www .b-kainka.de/Weblog/HF/UKWpendler.html

Geht doch auch ohne ZF! Meine Empfangsversuche mit meinem Pendler auf
15- 18km sind ganz ausgezeichnet....und das exakte Einstellen ...ein richtiges Abenteuer..

http://www.wumpus-gollum-forum.de/forum/...er-1_301_1.html

oder für den sonnigen Strand....mit ZF..

http://www.wumpus-gollum-forum.de/forum/...mw-58_74_1.html


Gruß

Joerg

09.02.14 10:58
Ronn 

500 und mehr Punkte

09.02.14 10:58
Ronn 

500 und mehr Punkte

Re: UKW Transistor Radio bauen

Hallo zusammen,

@Joerg: Die Beiden haben schon einen funktionierenden UKW-Tuner aufgebaut, s.o., da wäre ein Pendler 2 Schritte in die falsche Richtung. Wenn es ohne IC auskommen soll, sowie ordentlich laute NF ..... nun da fällt der Solarbetrieb + 1 Zelle weg.

@Thomas: Ein UKW-Tuner, egal ob Eigenbau oder P*llin-Ware etc. ist sicher der beste Weg zu einem qualitativ "hörbaren" UKW-Empfänger. Ich kenne die Probleme mit den TDA-"Krücken" auch, aber die waren halt schon laut Datenblatt nur für Billigstempfänger konzipiert. Selbst benutze ich einige Exemplare dieses ICs für MW/KW-Vorsatz, überlege aber auch hier einen richtigen Empfänger einzusetzen, denn so richtig überzeugen mich die Empfangsleistungen auf UKW nicht.

Da Ihr den "komplexesten" Teil schon habt, ist die ZF und NF-Sache kein Problem mehr. Ob Ihr diese Stufen und Ratio jetzt mit Röhren oder Transen/Dioden aufbaut, ist Geschmackssache. Für einen "Outdoor"-Empfänger wäre mir wohl die billige Si-Variante mit BF*** lieber, denn die Röhren sieht im Gerät nachher sowieso niemand. Und für den Preis einer Endstufenröhre habt Ihr das ganze Radio aufgebaut + das Thema der Erzeugung der Anodenspannung nicht.

Mit einem Gehäuse könnte ich eventuell aushelfen, aber ich bin frühestens Anfang April wieder daheim und könnte etwas aussuchen.

73 + 55
Ronn

06.03.14 11:07
ThomasW

nicht registriert

06.03.14 11:07
ThomasW

nicht registriert

Re: UKW Transistor Radio bauen

Guten Tag,

ein Versuch unser UKW Experiment zu dokumentieren. Die NF des Ratiodetektors wird zur Zeit noch einem Aktivlautsprecherschaltung zugeführt. Das wird sich noch ändern.




MfG
Thomas

Datei-Anhänge
1.jpg 1.jpg (383x)

Mime-Type: image/jpeg, 21 kB

2.jpg 2.jpg (305x)

Mime-Type: image/jpeg, 24 kB

08.03.14 18:22
Ronn 

500 und mehr Punkte

08.03.14 18:22
Ronn 

500 und mehr Punkte

Re: UKW Transistor Radio bauen

hmmmmm.....

Hallo Thomas, hallo zusammen,

im Valvo Transistorkompendium Band 2 - Empfängerschaltungen, wird der Aufbau eines UKW-Empfängers sehr gut und in allen Einzelheiten (auch rechnerisch) beschrieben. Die einzelnen Bänder des Transistorkompendium sind im Netz übrigens verfügbar, man nutze bitte eine bekannte Suchmaschine. Vielleicht kann man hier noch einige "Verbesserungen" für sich entdecken?

73 + 55
Ronn

Zuletzt bearbeitet am 08.03.14 18:50

13.03.14 00:35
Mani

nicht registriert

13.03.14 00:35
Mani

nicht registriert

Re: UKW Transistor Radio bauen

Ich grüße alle, die sich für Elektronik interessieren !


Ich kann nur empfehlen, ohne jegliche Grundkenntnisse im Aufbau eines UKW-Radios auf jeden Fall einen Bausatz
mit fertiger Platine zu erwerben, woher auch immer. Und richtig löten sollte auch geübt sein...

Leiterplatten herstellen muß ebenfalls geübt sein, aber es lernt sich alles mit der Zeit.

Viel Spaß beim Löten

 1 2 3
 1 2 3
tda-7000-fm-radio-1   Minnitransistorgerät   Online-Berechnungsprogramme   Technikfreund   Drehkondensator   Leiterplattenmaterial   Transistorkompendium   Aktivlautsprecherschaltung   Niederfrequenzverstärker   Transistor   Uberlagerungsempfänger   Präzisionspotentionmeter   5Volt-Festspannungsregler   wumpus-gollum-forum   rettet-unsere-radios   Empfängerschaltungen   Zusammen   bearbeitet   Verbesserungspotential   Germaniumtransitoren