| Passwort vergessen?
Sie sind nicht angemeldet. |  Anmelden

Sprache auswählen:

Wumpus Gollum Forum von
Wumpus Welt der (alten) Radios
Sie sind nicht angemeldet.
 Anmelden

Versuchsempfänger 0Hz bis 3MHz
  •  
 1
 1
20.04.22 14:10
aminox86 

100-249 Punkte

20.04.22 14:10
aminox86 

100-249 Punkte

Versuchsempfänger 0Hz bis 3MHz

Hallo zusammen,
Es gibt viele Gründe, ein neues Projekt zu beginnen.
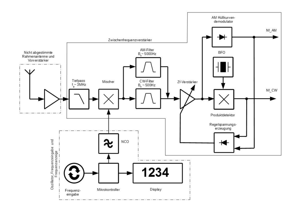
Anstoss zu diesem Projekt gaben die in den diversen Foren regelmäßig geführten Diskussionen(meist mit offenem Ausgang), wie denn die HF-Vorstufe eines VLF-Empfängers, speziell die Vorselektion, am zweckmäßigsten zu gestaltet sei. Wenn diese Funktionsgruppe denn so problematisch ist, habe ich mir gedacht, dann verzichte ich bei meinem (neuen analogen)Empfänger einfach auf sie und verlege die Selektion an eine andere Stelle im Radio, denn es sollte, in erster Linie wegen der Aussendungen von SAQ, der Bereich von 0Hz bis 3MHz durchgehend empfangen werden.
Diese Forderung lässt sich mit einem Überlagerungsempfänger am einfachsten erfüllen: Tiefpass am Eingang und einer (ersten)ZF oberhalb der Grenzfrequenz des Tiefpasses.

Blockschaltbild des geplanten Empfängers

In diesem Beitrag stelle ich den im Blockschaltbild durchgezogen umrandete ZF-Verstärker vor, alle übrigen Baugruppen des Radios sind ggf Thema weiterer Ausführungen.

Bestückungsseite des ZF-Verstärkers

Rückseite des ZF-Verstärkers


Der ZF-Verstärker ist für die Verarbeitung von CW- und AM-Signalen gedacht. Konstruktiv bietet er keinerlei Besonderheiten: Vom Eingangstiefpass gelangt das HF-Signal zum Mischer, der es auf die Zwischenfrequenz, sie beträgt wegen der vorhandenen Bauteile ca 11,06MHz, umsetzt. Zwei Quarzfilter unterschiedlicher Bandbreite bilden die Hauptselektion. Durch den sich anschliessenden abgestimmten und regelbaren Verstärker wird das ZF-Signal dem CW- oder AM-Demodulator zugeführt. Der Betriebsart entsprechend werden die Quarzfilter und die zugehörigen Demodulatoren umgeschaltet. Als letztes Glied in der Kette ist die Regelspannungserzeugung- und verstärkung angeordnet. Diese wertet die Amplitude der Niederfrequenzspannung aus.

Das ZF-Modul kann auf zweierlei Arten betrieben werden: Mit direkt angeschlossener Antenne und variablem Oszillator als Einfachsuper oder mit überbrücktem Eingangstiefpass und Festfrequenzoszillator als zweiter ZF-Verstärker in einem Doppelsuper.

Ich habe das Modul mit bedrahteten Bauteilen auf einer für HF-Anwendungen vorgesehenen Lochrasterplatte aufgebaut. Ziel war es, zum einen möglichst viele der in der Bastelkiste vorhandenen Bauteile zu verwenden und zum anderen zu versuchen, einen stabilen Verstärker, dh zu vernachlässigende gegenseitige Beeinflussung der Funktionsblöcke, ohne aufwändig herzustellende Abschirmung zu verwirklichen. Daher habe ich besonderes Augenmerk auf die Anordnung der Funktionsblöcke auf der Platine gerichtet.

ZF-Verstärker: Funktionsgruppen

ZF-Verstärker: Signalwege

Komponenten, die besonders starke Signale führen(Oszillatortreiber und BFO), sind so positioniert, dass sich ihre Stromkreise möglichst wenig mit den Strompfaden schwacher Signale (Quarzfilter, ZF-Verstärker) überlappen. Außerdem habe ich darauf geachtet, den Unterschied der Nutzfrequenzen nebeneinander angeordneter Blöcke möglichst groß zu machen oder, falls das nicht möglich ist, sie nur bei Bedarf zu aktivieren, zB ist der gleichzeitige Betrieb von BFO und AM-Demodulator ausgeschlossen. Selbstverständlich sind die Betriebsspannungen ausreichend verblockt.

Vor Ort habe ich mit meiner "Schreibtischantenne", die für Breitbandbetrieb modifiziert ist, Empfangsversuche im Bereich von 10kHz bis ca 250kHz unternommen und eine Audio-Datei erstellt. Die ZF-Platine wurde in einem Einfachsuper verwendet.

Der VLF-Empfänger: Antenne und ZF-Modul


Wegen der vorgebenen Dateigröße habe ich nur wenige und nur solche Stationen aufgezeichnet, deren akkustische "Signaturen" eindeutig zu erkennen sind. Außerdem habe ich der besseren Orientierung wegen jede Station mit Rufzeichen, soweit mir bekannt, und Empfangsfrequenz versehen. In der Datei "VLF_Empfänger_10_240kHz.mp3" im Anhang bzw hier:
https://www.wumpus-gollum-forum.de/forum...p;id=1650455032
sind einige CW-Stationen zu hören.

mfg

Datei-Anhänge
Längstblock.jpg Längstblock.jpg (233x)

Mime-Type: image/jpeg, 115 kB

ZF Vorderseite.jpg ZF Vorderseite.jpg (254x)

Mime-Type: image/jpeg, 462 kB

ZF Rückseite.jpg ZF Rückseite.jpg (258x)

Mime-Type: image/jpeg, 272 kB

ZF Vorderseite Funktionsgruppen Detail.jpg ZF Vorderseite Funktionsgruppen Detail.jpg (210x)

Mime-Type: image/jpeg, 241 kB

ZF Vorderseite Funktionsgruppen neu.jpg ZF Vorderseite Funktionsgruppen neu.jpg (240x)

Mime-Type: image/jpeg, 229 kB

ZF_Verstärker_Antenne.JPG ZF_Verstärker_Antenne.JPG (226x)

Mime-Type: image/jpeg, 261 kB

VLF_Empfänger_10_240kHz.mp3 VLF_Empfänger_10_240kHz.mp3 (282x)

Mime-Type: audio/mpeg, 1.135 kB

WoHo, Debo, wumpus, HB9, Hajo, Vorkreis und Volker gefällt der Beitrag.
!
!!! Fotos, Grafiken nur über die Upload-Option des Forums, KEINE FREMD-LINKS auf externe Fotos.    

!!! Keine Komplett-Schaltbilder, keine Fotos, keine Grafiken, auf denen Urheberrechte Anderer (auch WEB-Seiten oder Foren) liegen!
Solche Uploads werden wegen der Rechtslage kommentarlos gelöscht!

Keine Fotos, auf denen Personen erkennbar sind, ohne deren schriftliche Zustimmung.

Den Beitrag-Betreff bei Antworten auf Threads nicht verändern!
08.06.22 23:58
aminox86 

100-249 Punkte

08.06.22 23:58
aminox86 

100-249 Punkte

Re: Versuchsempfänger 0Hz bis 3MHz

Hallo zusammen,

nachdem seit meinem ersten Beitrag einige Zeit vergangen ist, möchte ich heute das Oszillatormodul des Empfängers vorstellen.
Wie schon im Blockschaltbild angedeutet, wird die Überlagerungsfrequenz von einem DDS-Chip erzeugt. Da ich vor reichlich über zwanzig Jahren meinen ersten DDS-Generator aufgebaut hatte, damals waren diese ICs in Deutschland zu Preisen, die für einen Amateur erträglich waren, erhältlich, habe ich den damaligen Versuchsaufbau reaktiviert und erweitert.

DDS-Modul Vorderansicht

Für den Versuch habe ich schon damals eine HF-tauglichen Leiterplatte verwendet, auf der der HF-Teil den wenigsten Platzt einnimmt.
Die übrige Fäche ist mit Funktionseinheiten bestückt, die speziell dem Betrieb des aktuellen Radios dienen. Aus dem oben erwähnten Versuchsstadium stammt auch der 25-polige Stecker, der die Verbindung zum Bedienrechner herstellt(e) und den ich auch weiterhin
auf diese Weise nutze (und natürlich auch das unter !!DOS!! laufende Bedienprogramm).

DDS-Modul Funktionsgruppen

Als DDS-Generator findet ein AD8950 Verwendung, der mit 100MHz getaktet wird. Glücklicherweise bin ich damals auf eine AppNote von AMD gestossen, in der sehr ausführlich beschrieben wurde, wie ein SOP-Gehäuse(28 Pin, Pitch 0,5mm) zweckmäßig in eine Umgebung bedrahteter Bauelemnte integriert wird. Daher habe ich die Beschaltung des AD8950, abgesehen von Ausgängen des ICs, seine Montagemethode und den Aufbau des Referenzoszillators 1:1 dieser AppNote entnommen.
Um die Anschlüsse des DDS-Chip, sie bestehen kurzen CuL-Verbindungen D=0,1mm, vor versehentlichem Abreißen zu schützen, habe ich den Chip samt seiner Beschaltung mit einem großen Kleks Heisskleber gesichert. Funktioniert gut. Der DDS erzeugt im genutzten Frequenzbereich an 50Ohm eine Leistung von ca 7dBm. Um den Treiber auf der Empfängerplatine nicht heillos zu übersteuern und den Mischer eventuell zu beschädigen ist das Dämpfungsglied vorgesehen. Es verringert die Oszillatorleistung um ca 15dBm, so daß am Mischer ca 4dBm anstehen.
Der PWM-Generator bzw PWM-Modulator erzeugt aus der Regelspannung des Radios eine Rechteckspannung mit proportional variierendem Tastverhältnis, das vom Bedienprogramm ausgewertet und zur Anzeige gebracht wird.
Für den Empfang von Frequenzen ab ca 200kHz aufwärts verwende ich eine motorisch drehbare Rahmenantenne, deren Drehsinn durch die Polung der Motorspannung vorgegeben wird. Das Umpolen der Spannung erfolgt mit Hilfe einer Brückenschaltung, die ebenfalls vom Bedienprogramm gesteuert wird. Um eine Beeinflussung der Signal- bzw Hf-Ströme durch die Motorströme zu unterbinden wird die Brücke einerseits aus einer separaten Spannungsquelle versorgt und erhält andererseits ihre Steuersignale über Optokoppler.

DDS-Modul Rückansicht

Die Spule links oben dient der Kompensation der Halterkapazität des Quarzes. Ohne diese Maßnahme ist der Quarz nicht zu Schwingungen auf 100MHz zu bewegen.
Die darunter angeordneten Kondensatoren gleichen - ich nenne es mal Unregelmäßigkeiten,die auf den Rückmeldeleitungen des Rotors auftretenwenn er aus den Endstellungen herausbewegt wird - aus (bei dem Radio, für das der Rotor ursprünglich vorgesehen ist, treten diese Probleme nicht auf). Soweit das DDS-Modul.

mfg

Zuletzt bearbeitet am 09.06.22 00:01

Datei-Anhänge
DDS Vorderseite.JPG DDS Vorderseite.JPG (236x)

Mime-Type: image/jpeg, 312 kB

DDS Vorderseite_benannt.jpg DDS Vorderseite_benannt.jpg (246x)

Mime-Type: image/jpeg, 109 kB

DDS Rückseite.jpg DDS Rückseite.jpg (239x)

Mime-Type: image/jpeg, 297 kB

09.06.22 10:26
HB9 

500 und mehr Punkte

09.06.22 10:26
HB9 

500 und mehr Punkte

Re: Versuchsempfänger 0Hz bis 3MHz

Hallo,

meinst du den AD9850 als DDS-Chip? Ich habe den Nachfolger AD9851 verwendet, der hat eine integrierte PLL, so dass ein 30MHz-Referenztakt reicht, das geht einfacher, und intern arbeitet er dann mit 180MHz, so dass man höhere Ausgangsfrequenzen erzeugen kann oder bei gleicher Frequenz das Ausgangssignal sauberer ist. Aber bei deinen Frequenzen ist das ja noch kein Problem.

Für die Montage habe ich eine kleine Platine geätzt, das ging erstaunlich gut, der Fotolack hat eine mehr als ausreichende Auflösung:



Gruss HB9

Datei-Anhänge
DDS.jpg DDS.jpg (246x)

Mime-Type: image/jpeg, 54 kB

09.06.22 14:41
aminox86 

100-249 Punkte

09.06.22 14:41
aminox86 

100-249 Punkte

Re: Versuchsempfänger 0Hz bis 3MHz

Hallo HB9,

natürlich meinte ich AD9850, nicht AD8950.
Was den AD9851 angeht, er ist mir wohl bekannt. Ich habe den Chip vor einigen Jahren in einem Kurzwellenempfänger eingesetzt.

Oszillatorplatine

Ausschnitt mit AD9851


Die Taktfrequenz des AD9851 beträgt 180MHz. Sie wird durch Frequenzvervielfachung aus einem 20MHz Quarz erzeugt. Rechts in der Gesamtansicht ist die Vervielfacherkette zu erkennen. Die im Chip vorhandene PLL wird nicht verwendet.

Hier noch ein Link zum Radio in seiner ersten Version:
https://www.mikrocontroller.net/topic/354864?page=4#5336864

Etwas später habe ich das Radio überarbeitet. Hier der entsprechende Link:
https://www.mikrocontroller.net/topic/354864?page=4#5684100

mfg

Zuletzt bearbeitet am 09.06.22 14:43

Datei-Anhänge
DDS AD9851_1.JPG DDS AD9851_1.JPG (212x)

Mime-Type: image/jpeg, 194 kB

DDS AD9851_2.JPG DDS AD9851_2.JPG (217x)

Mime-Type: image/jpeg, 273 kB

09.06.22 15:23
HB9 

500 und mehr Punkte

09.06.22 15:23
HB9 

500 und mehr Punkte

Re: Versuchsempfänger 0Hz bis 3MHz

Das sieht ja richtig professionell aus! Ich muss mich mit selbstgeätzten ein- und zweiseitigen Leiterplatten begnügen, und bei doppelseitigen müssen Bauteildrähte als Durchkontaktierung reichen, was ein paar zusätzliche Design-Einschränkungen gibt, da man logischerweise diese Drähte auf der Bestückungsseite anlöten muss.

Gruss HB9

09.06.22 18:24
aminox86 

100-249 Punkte

09.06.22 18:24
aminox86 

100-249 Punkte

Re: Versuchsempfänger 0Hz bis 3MHz

Hallo HB9,

in der Anfangszeit meiner Beschäftigung mit Elektronik habe ich ebenfalls meine Leiterplatten eigenhändig hergestellt. Zu dem Zeitpunkt als man Lochrasterplatten kaufen konnte wurde mir das Ätzen zu umständlich und ich habe nur noch Lochrasterplatten verwendet. Hier ein Beispiel aus dieser Zeit:
https://www.mikrocontroller.net/topic/453785?page=1#5631307
Auf die im Link gezeigte Weise habe ich viele Projekte umgesetzt bis zu dem Moment, als mitten in einem Projekt ein selbstgebauter Epromsimulator/Epromemulator die Mitarbeit verweigert hat und ich das Problem absolut nicht beseitigen konnte. Seitdem halte ich mich an folgendes Schema:
- Digitalschaltungen nur auf professionell angefertigten Leiterplatten
- nicht zu umfangreiche NF-Schaltungen (max. Europaformat) auf Lochrasterplatten
- gemischte Analog/Digitalschaltungen oder HF-Schaltungen bis zur einwandfreien Funktion auf reiner Kupferunterlage oder speziellen HF- Lochrasterplatten, dann gff professionelle Leiterplatte

Ich habe bisher noch keine mehrlagigen sondern nur 2-lagige Leiterplatten verwendet, da ich festgestellt habe, daß besonders Digitalschaltungen selbst bei Taktfrequenzen nahe 100MHz ohne Probleme funktionieren (jedenfalls meine bisherigen Konstruktionen).
Ich hoffe das bleibt so.

mfg

Zuletzt bearbeitet am 09.06.22 18:26

13.02.23 17:21
aminox86 

100-249 Punkte

13.02.23 17:21
aminox86 

100-249 Punkte

Re: Versuchsempfänger 0Hz bis 3MHz

Der hier beschriebene Empfänger hat sich heute beim Empfang von SAQ tapfer geschlagen. Anbei ein Link zur kompletten Aussendung.
https://www.mikrocontroller.net/topic/54...7347418#7347418

Die Dekodierung des Sendungsmitschnitts habe ich mal als Bild angehängt.



mfg

Zuletzt bearbeitet am 14.02.23 09:09

Datei-Anhänge
SAQ 13_2_2023 dekodiert.jpg SAQ 13_2_2023 dekodiert.jpg (144x)

Mime-Type: image/jpeg, 89 kB

04.07.23 09:35
aminox86 

100-249 Punkte

04.07.23 09:35
aminox86 

100-249 Punkte

Re: Versuchsempfänger 0Hz bis 3MHz

Hallo,

auch gestern habe ich den Empfänger wieder aktiviert und die Aussendung von SAQ aufgezeichnet. Hier der Link:

https://www.mikrocontroller.net/attachme...3_14Uhr_raw.mp3

Leider ist die Aufzeichnung etwas verunglückt, so dass sich die Darstellung des Dekodierungsergebnis nicht lohnt.

mfg

04.07.23 10:16
wumpus 

Administrator

04.07.23 10:16
wumpus 

Administrator

Re: Versuchsempfänger 0Hz bis 3MHz

Hallo aminox86,


wäre interessant den ungefähren Empfangsort zu erfahren. Nord- Süd- Ost- Westdeutschland?


Grüße von Haus zu Haus
Rainer, DC7BJ (Forumbetreiber)

Welt der alten Radios:
http://www.welt-der-alten-radios.de

Wumpus-Gollum-Forum:
http://www.wumpus-gollum-forum.de/forum

Virtuelle Voxhaus-Gedenktafel:
http://www.voxhaus-gedenktafel.de

Wumpus bei youtube:
https://www.youtube.com/user/MyWumpus

04.07.23 13:08
aminox86 

100-249 Punkte

04.07.23 13:08
aminox86 

100-249 Punkte

Re: Versuchsempfänger 0Hz bis 3MHz

wumpus:
Hallo aminox86,

wäre interessant den ungefähren Empfangsort zu erfahren. Nord- Süd- Ost- Westdeutschland?

Klar,

Empfangsort ist Südwestdeutschland. Genauer: Ludwigshafen/Rhein, engeres Stadtgebiet.

mfg

 1
 1
Digitalschaltungen   Unregelmäßigkeiten   Niederfrequenzspannung   Selbstverständlich   Kurzwellenempfänger   welt-der-alten-radios   Regelspannungserzeugung-   Überlagerungsfrequenz   Frequenzvervielfachung   Lochrasterplatten   Festfrequenzoszillator   Voxhaus-Gedenktafel   wumpus-gollum-forum   ZF-Verstärker   Versuchsempfänger   Referenzoszillators   Überlagerungsempfänger   Dekodierungsergebnis   Schreibtischantenne   Design-Einschränkungen