| Passwort vergessen?
Sie sind nicht angemeldet. |  Anmelden

Sprache auswählen:

Wumpus Gollum Forum von
Wumpus Welt der (alten) Radios
Sie sind nicht angemeldet.
 Anmelden

Von Lieben versus de Forest, die ersten Verstärkerröhren......
  •  
 1 2 3 4 5
 1 2 3 4 5
22.12.20 16:58
WoHo 

500 und mehr Punkte

22.12.20 16:58
WoHo 

500 und mehr Punkte

Re: Von Lieben versus de Forest, die ersten Verstärkerröhren......

Ich habe den guten Vorschlag von Bernd ausgeführt. Danke dafür....



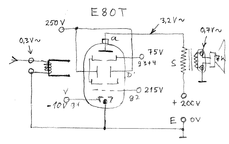
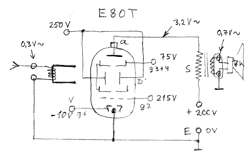
Die Gesamtverstärkung ist deutlich verbessert, erreicht jedoch nicht den Wert, welcher die statische Ablenkung erziehlte. Man sollte dabei beachten, dass der Eingangstrafo T1 eine Spannungsverdoppelung erbrachte.

Weiterhin wurden die Spannungen an den Elektroden der E80T angepasst, ohne groß auf die Grenzwerte Rücksicht zu nehmen.
Die eingezeichneten Wechselspannungen gelten für 400 Hz.



Fazit der gemachten Untersuchungen:

Von Liebens "Kathodenstrahlenrelais" Patent eingereicht am 4.3.1906, ist sehrwohl vom Ansatz her die erste Verstärkerröhre ")!
Lee de Forest betrat einen anderen Weg mit seiner Zweiplattenröhre, US Patent eingereicht am 25.10.1906.

Dass von Liebens Erfindung wenig Erfolg hatte hat meines Erachtens drei Gründe:

--- Man konnte damals kein genügend hohes und stabiles Vakuum erzeugen.
--- Hatte man vergessen die zwei Platten einzuschmelzen, um die Vorteile der statischen Ablenkung auszunutzen??
--- Man sagt, dass seine Röhre von den Ausmaßen recht groß ausgeführt war.

Das bedeutet, großer Abstand Katode zu den Anoden. Man braucht dann hohe Spannungen, welche bei dem schlechten Vakuum zu Ionisationserscheinungen führt.

") Ich gebrauche mit Absicht das Wort "Verstärkerröhre" und nicht Triode!
Jeder denkt bei "Triode" an drei Elektroden: Katode - Gitter - Anode.

Wenn man sich nun ganz pedantisch aufstellt, dann hat auch das Kathodenstrahlenrelais drei Elektroden:
Heizfaden - Anode - Hilfsanode!

Gruß aus NL, Wolfgang

Datei-Anhänge
DSCI0026.JPG DSCI0026.JPG (320x)

Mime-Type: image/jpeg, 188 kB

SCAN0262.png SCAN0262.png (299x)

Mime-Type: image/png, 23 kB

    !
    !!! Fotos, Grafiken nur über die Upload-Option des Forums, KEINE FREMD-LINKS auf externe Fotos.    

    !!! Keine Komplett-Schaltbilder, keine Fotos, keine Grafiken, auf denen Urheberrechte Anderer (auch WEB-Seiten oder Foren) liegen!
    Solche Uploads werden wegen der Rechtslage kommentarlos gelöscht!

    Keine Fotos, auf denen Personen erkennbar sind, ohne deren schriftliche Zustimmung.

    Den Beitrag-Betreff bei Antworten auf Threads nicht verändern!
    22.12.20 17:24
    MB-RADIO 

    500 und mehr Punkte

    22.12.20 17:24
    MB-RADIO 

    500 und mehr Punkte

    Re: Von Lieben versus de Forest, die ersten Verstärkerröhren......

    Hallo Wolfgang,

    Für noch bessere Wirkung müßte das Magnetfeld noch besser eingeengt werden um wirklich auf nur den Katodenstrahl zu beeinflussen.
    Ob das möglich ist bezweifle ich, da die Elelktroden aus magnetischen Material gefertigt sind.

    Der Aufbau der Liebenröhre ist der Stand des damaligen Verständnisses und Möglichkeioten geschuldet, man wußte es halt nochz nicht besser und Versuch macht kluch. Erfinden ist eben garnicht so einfach.

    Ich freue mich schon auf weitere Versuche von dir.

    Viele Grüße
    Bernd

    Zwei Dinge sind unendlich, das Universum und die menschliche Dummheit, aber bei dem Universum bin ich mir noch nicht ganz sicher. (Albert Einstein)

      23.12.20 17:09
      WalterBar 

      500 und mehr Punkte

      23.12.20 17:09
      WalterBar 

      500 und mehr Punkte

      Re: Von Lieben versus de Forest, die ersten Verstärkerröhren......

      WoHo:

      Dass von Liebens Erfindung wenig Erfolg hatte hat meines Erachtens drei Gründe:

      --- Man konnte damals kein genügend hohes und stabiles Vakuum erzeugen.
      --- Hatte man vergessen die zwei Platten einzuschmelzen, um die Vorteile der statischen Ablenkung auszunutzen??
      --- Man sagt, dass seine Röhre von den Ausmaßen recht groß ausgeführt war.


      Hallo Wolfgang,

      Gratulation zu dem gelungenen Versuch!

      Ich würde noch einen weiteren Punkt zu der obigen Aufstellung hinzunehmen:

      --- Instabiler Betrieb und extreme Umgebungstemperaturabhängigkeit.

      Die beste Verstärkung der Liebenröhre hatte sie bei einer positiven Gitterspannung von über 15 Volt. Irgendwann zündete die Röhre durch und man musste den Arbeitspunkt neu einstellen. Wirklich froh waren die Militärs erst mit der pflegeleichten EVN171. Da mussten nur die Akkus getauscht werden. Stationär war es die B0, aber erst viel später als die EVE173/RE11, denn die hatte schon eine Oxydkathode.
      Die erste Anwendung bestand darin, durch Verstärkung der Erdströme die Telefonate des Feindes abzuhören.


      Gruss
      Walter

      Nachtrag und speziell zur Oxydkathode:

      In der Funkgeschichte # 207 schrieb Prof.Dr. Berthold Bosch, Bochum vor 10 Jahren einen interessanten Artikel
      zum 100 jährigen Geburtstag der Hochvakuum-Elektronenröhre "Von der Glühlampe zur Verstärkertriode",
      der auch den Ruhm und die Verdienste des Steuerflüchtlings de Forest relativierte. Die Erfindung der Oxydkathode
      sei mutmasslich aus einem Zufall entstanden:

      Zitat Beginn

      "Die Erfindung der Oxidkatode soll angeblich zufällig erfolgt sein:
      Wehnelts Professor in Erlangen, der Physiker Eilhard Wiedemann,
      pflegte morgens eine Schmalzstulle zu essen. Mit seinen fettigen
      Fingern fasste er einmal den Platindraht an, den Wehnelt dann als
      Heizdraht in eine Röhre einschmolz. An den fettigen Stellen kam
      es dabei schon bei relativ niedrigen Temperaturen zu kräftig einsetzender
      Elektronenemission. Wehnelt untersuchte die Bestandteile
      des Schweineschmalzes und fand darin Kalzium- und Bariumoxid-
      Spuren. So berichtet es jedenfalls Wehnelts Enkel Christoph in einer
      Familien-Chronik [2], S. 226/227, wo er entsprechende Aussagen
      seines Vaters Bruno Wehnelt wiedergibt."

      Zitat Ende

      https://www.radiomuseum.org/lf/p/funkges...gf/vol36num207/

      Zuletzt bearbeitet am 12.02.23 11:09

        23.12.20 21:50
        WoHo 

        500 und mehr Punkte

        23.12.20 21:50
        WoHo 

        500 und mehr Punkte

        Re: Von Lieben versus de Forest, die ersten Verstärkerröhren......

        Vielen Dank für die anerkennenden Worte....

        Wenn heute von der "Lieben Röhre" geschrieben wird, dann ist das meistens auf die eindrucksvoll leuchtende Flasche mit dem gelöcherten Alublech in der Mitte, zwischen dem Heizfaden und der Spiralanode, bezogen. Das war nach 1910 !
        Ein Video dazu ist hier zu sehen:
        https://patric-sokoll.de/Welt/2016/20160223.html

        Und Walter hat recht, die ganze Sache war so unstabil, dass man drumherum einen Kafig baute, der für eine mehr oder weniger konstante Umgebungstemperatur sorgte. Man verblieb zu lange auf der falschen Spur....

        -----

        Der Grund meiner Experimente war allerdings herauszufinden, ob die erste -schriftlich festgehaltene- Elektronenverstärkerröhre (von Liebens "Kathodenstrahlenrelais") funktionierte, oder nicht. Dabei ist der praktische Nutzen zunächst mal unwichtig! Es ging um die Idee, schwache Spannungen zu verstärken indem der Elektronenstrom zur Anode beeinflusst wird. Leider konnte ich von der Urform von 1906 keine Bilder im Internet finden.

        Klar, heutzutage kann man auf Hochvakuumröhren (wie die E80T) zurückgreifen und wird deshalb nicht mit den Schwierigkeiten von damals konfrontiert......

        Gruß aus NL, Wolfgang

          25.12.20 11:54
          WoHo 

          500 und mehr Punkte

          25.12.20 11:54
          WoHo 

          500 und mehr Punkte

          Re: Von Lieben versus de Forest, die ersten Verstärkerröhren......

          Erstmal frohe Weihnachten allerseits.....

          Zitieren:
          https://docplayer.org/57316212-Robert-vo...erstaerker.html
          Artikel / Bild der Lieben-Röhre in einem Signal-Verstärker / Bild lange Röhre im Lieben-Labor
          Gruß Jens


          Ich will mich bei Jens herzlich bedanken für die Mühe, die er sich wiedermal gemacht hat, um mehr Einsicht in die Anfänge der Verstärkerröhrentechnik zu verschaffen.

          In dem oben verlinkten Artikel, geschrieben von Prof. Dr. Pichler, ist diese Abbildung zu sehen:



          Das sieht nach dem gesuchten Foto der Urversion des "Kathodenstrahlenrelais" aus.

          Gruß aus NL, Wolfgang

          Zuletzt bearbeitet am 25.12.20 12:17

          Datei-Anhänge
          von Lieben 1906.jpg von Lieben 1906.jpg (308x)

          Mime-Type: image/jpeg, 165 kB

            15.06.22 17:59
            MB-RADIO 

            500 und mehr Punkte

            15.06.22 17:59
            MB-RADIO 

            500 und mehr Punkte

            Re: Von Lieben versus de Forest, die ersten Verstärkerröhren......

            Hallo Jens,

            na und ob da Einer noch mitliest.
            Ich kenne ja auch die Mühen Urururaltes wieder ans Tageslicht zu holen - danke für deine Mühe.

            Viele Grüße
            Bernd

            Zwei Dinge sind unendlich, das Universum und die menschliche Dummheit, aber bei dem Universum bin ich mir noch nicht ganz sicher. (Albert Einstein)

              17.06.22 18:25
              joeberesf 

              500 und mehr Punkte

              17.06.22 18:25
              joeberesf 

              500 und mehr Punkte

              Re: Von Lieben versus de Forest, die ersten Verstärkerröhren......

              Hallo Freunde vergessener Technik,

              wir hatten ein ähnliches Thema auch schon mal im WGF.

              https://www.wumpus-gollum-forum.de/forum...4&page=2#12

              Ein Blick lohnt sich in das von mir dort erwähnte.. ISBN 978-3-939197-74-4, Außensteuerröhren, Schriftenreihe zur Funkgeschichte, Band 16, GFGF. Author Gerhard Eisenbarth. Hier beginnt aus meiner Sicht der Urschleim der Röhrentechnik. Hewitt, Vreeland, Lieben und de Forest werden für 1902, 1905, 1906 und 1906 mit ihren Patenten erwähnt.

              VG
              Jörg

              Zuletzt bearbeitet am 17.06.22 19:10

                17.06.22 19:54
                MB-RADIO 

                500 und mehr Punkte

                17.06.22 19:54
                MB-RADIO 

                500 und mehr Punkte

                Re: Von Lieben versus de Forest, die ersten Verstärkerröhren......

                Hallo Jörg,

                danke für dein zurückgenommenes Angebotmuß nicht sein.
                Zu unserer Zeit waren Röhren eher als Spulenkörper bekannt - wird jetzt nicht Jeder verstehen ist aber auch unwichtig. Ich arbeite mich aber langsam zur modernen Röhrentechnik vor. Ich will ja den technischen Fortschritt nicht verpassen

                Funkende Grüße
                Bernd

                Zwei Dinge sind unendlich, das Universum und die menschliche Dummheit, aber bei dem Universum bin ich mir noch nicht ganz sicher. (Albert Einstein)

                  18.06.22 19:19
                  MB-RADIO 

                  500 und mehr Punkte

                  18.06.22 19:19
                  MB-RADIO 

                  500 und mehr Punkte

                  Re: Von Lieben versus de Forest, die ersten Verstärkerröhren......

                  Hallo Jens,

                  egal ob Elektronenstrahl oder Ionenstrahl, beide lassen sich steuern - siehe hier Ionenstrahl bei Bildröhren: https://de.wikipedia.org/wiki/Ionenfleck

                  Viele Grüße
                  Bernd

                  Zwei Dinge sind unendlich, das Universum und die menschliche Dummheit, aber bei dem Universum bin ich mir noch nicht ganz sicher. (Albert Einstein)

                    28.03.23 16:10
                    MB-RADIO 

                    500 und mehr Punkte

                    28.03.23 16:10
                    MB-RADIO 

                    500 und mehr Punkte

                    Re: Von Lieben versus de Forest, die ersten Verstärkerröhren......

                    Hallo Jens,

                    nur mal so eine Idee.
                    Könnten da nicht auch geheizte Thyratrons unter der Zündspannung funktionieren ??????

                    Viele Grüße
                    Bernd

                    Zwei Dinge sind unendlich, das Universum und die menschliche Dummheit, aber bei dem Universum bin ich mir noch nicht ganz sicher. (Albert Einstein)

                       1 2 3 4 5
                       1 2 3 4 5
                      Absichts-Unterstellungen   Umgebungstemperaturabhängigkeit   Röhrenverstärkertechnik   Hochvakuum-Elektronenröhre   Elektronenverstärkerröhre   Überlandtelefonverbindungen   Kathodenstrahlenrelais   Verstärkerröhren   Wolfgang   elektrotechnische-zeitschrift-34   wumpus-gollum-forum   Analog-Digital-Wandlung   Ionisationserscheinungen   Verstärkerröhrentechnik   Arbeitspunkteinstellungen   Gesprächsübermittlung   „elektrostatischen“   „Kathodenstrahlenrelais“   Kathodenstrahlenrelais-   q=Gasentladung&view=theater