| Passwort vergessen?
Sie sind nicht angemeldet. |  Anmelden

Sprache auswählen:

Wumpus Gollum Forum von
Wumpus Welt der (alten) Radios
Sie sind nicht angemeldet.
 Anmelden

UKW Röhren-Tuner entmystifizieren
  •  
 1 2
 1 2
02.12.18 13:27
HB9 

500 und mehr Punkte

02.12.18 13:27
HB9 

500 und mehr Punkte

UKW Röhren-Tuner entmystifizieren

Hallo zusammen,

die UKW-Tuner in Röhrengeräten haben es bekanntlich in sich, da gibt es ein paar verborgene Schaltungstricks, die ich hier mal enttarnen möchte. Es kommt ja immer mal wieder vor, dass man einen verbastelten oder sonst widerspenstigen UKW-Tuner wieder in Fahrt bringen muss. Hier geht es nur um "normale" Tuner in Superhets, Pendler und "kreative" Schaltungen (z.B. ECH42 als UKW-Mischer) lasse ich mal aussen vor, diese sind nicht allzu häufig und auch leichter zu verstehen. Im Kompendium gibt es ebenfalls ein paar Erläuterungen zu den diversen Schaltungen.

Der Normalfall eines UKW-Tuners besteht aus einer Triode (in der Anfangszeit auch einer Pentode) als HF-Verstärker und einer weiteren Triode als selbstschwingender, additiver Mischer. Dabei gibt es sowohl bei der Vorstufe als auch beim Mischer ein paar Schaltungstricks.

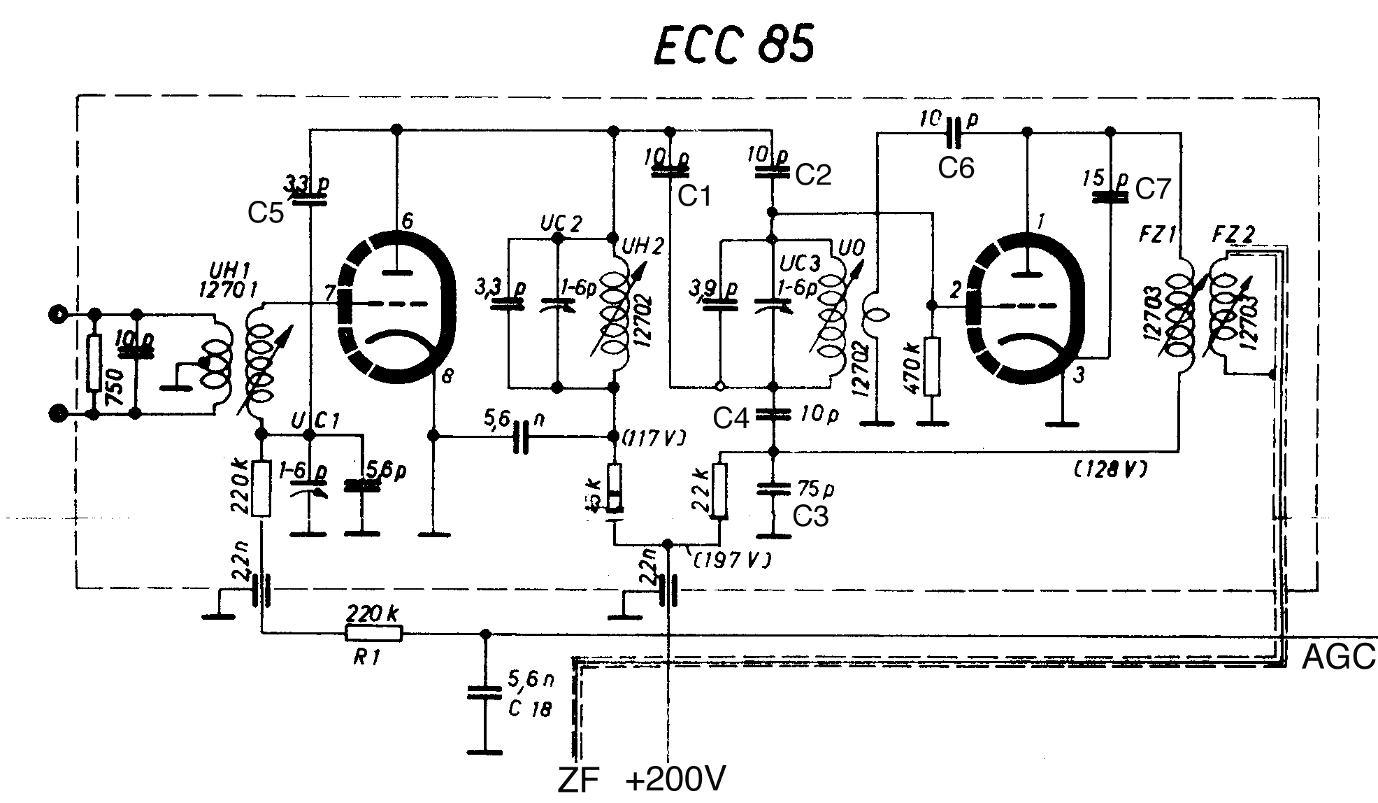
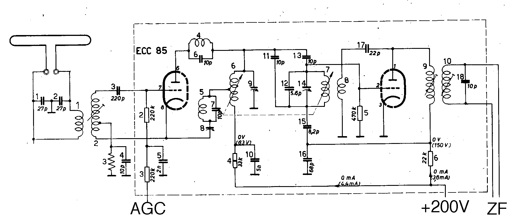
Zum Anfang die Schaltung vom Resonar 8539 mit der ECC85, die ist repräsentativ und noch überschaubar:



Die HF-Vorstufe bildet die linke Triode und ist in "Zwischenbasis" geschaltet, eine Mischung aus Kathodenbasis- und Gitterbasis-Schaltung, es werden das Gitter und die Kathode angesteuert. Die Spule 1 bildet mit den Kondensatoren 1 und 2 einen durch den Dipol stark gedämpften Schwingkreis, der deshalb nicht abgestimmt werden muss. Die eng gekoppelte Spule 2 liefert die Steuerspannungen für das Gitter und die Kathode, durch die Wahl der Anzapfung wird die optimale Impedanz und damit Wellenanpassung erreicht. Das Bauteil "3" ist eine Parallelschaltung einer kleinen Spule und einem Widerstand, welche zusammen mit Kondensator 4 wilde UHF-Schwingungen verhindert, für UKW kann man es als Kurzschluss ansehen.
Über die Widerstände 2 und 3 wird eine stark verzögerte Regelspannung aus dem ZF-Verstärker zugeführt, welche bei starken Signalen die Verstärkung reduziert und so eine Übersteuerung des Mischers und eine unerwünschte Modulation des Oszillators verhindert.
Im Anodenkreis liegt der abstimmbare Zwischenkreis, bestehend aus dem Variometer 6 und dem Trimmkondensator 9. Der Schwingkreis L4/C6 blockiert die erste Oberwelle vom Oszillator und verhindert so Störungen im Fernsehband III. Über eine Anzapfung der Zwischenkreisspule zur Impedanzanpassung wird die Neutralisationsspannung zur Kathode der HF-Stufe geführt, mit Triimer 8 wird die korrekte Neutralisation eingestellt. Auch hier hat es ein Band-III-Sperrfilter mit L5 und C7. Bei korrekter Neutralisation ist die rückgekoppelte Spannung, die durch L2 invertiert an das Gitter kommt, exakt gleich gross wie die von der Anode auf das Gitter gekoppelte, aber gegenphasig, so dass sich die Spannungen aufheben.

Der Oszillatorteil vom Mischer ist mit dem abstimmbaren Schwingkreis aus Variometer L7 und den parallengeschalteten Kondensatoren 12 und 14 und der Rückkopplungsspule 8 gebaut. Kondensator 17 blockt nicht nur die Gleichspannung ab, sondern dient auch als Schwingkreiskondensator der ZF-Spule 9 von ersten ZF-Filter.
Der Oszillator-Schwingkreis ist als Brücke geschaltet, das heisst, das "untere" Ende liegt nicht direkt an Masse, sondern über Kondensator 15. C16 kann für UKW als Kurzschluss angesehen werden. C15 hat denselben Wert wie die totale Kapazität vom Gitter nach Masse, somit sind die Oszillatorspannungen am Gitter und an C15 gleich, aber gegenphasig. Die Serieschaltung von C11 und C13 liegt ebenfalls parallel zum Oszillatorkreis, und da diese denselben Wert haben, ist die Oszillatorspannung am Verbindungspunkt von C11 und C13 Null, daher wird hier die HF vom Zwischenkreis eingespeist. So hat man nicht nur das Problem der Oszillator-Abstrahlung gelöst, es gibt auch keine Verstimmung des Oszillators durch die nicht konstante Kapazität des HF-Kreises, was eine stabile Oszillatorfrequenz bedeutet. Bei vielen Geräten ist daher C15 als Trimmer ausgeführt, um die Symmetrie exakt einzustellen.

Nun noch zum ZF-Teil. Da eine Triode als Mischer verwendet wird, gibt es auch hier eine Rückkopplung der ZF von der Anode auf das Gitter, welche die Verstärkung reduziert, was unerwünscht ist. Aus diesem Grund wird die Röhre für die ZF neutralisiert, dafür ist der Kondensator 16 zuständig. Am "unteren" Ende der ZF-Spule 9 liegt eine gegenüber der Anode um 180° phasenverschobene Spannung, dessen Betrag durch das Verhältnis C16/C17 definiert wird. Diese Spannung gelangt über C15 und den Oszillator-Schwingkreis an das Gitter und ist exakt gleich gross wie die von der Anode auf das Gitter gekoppelte ZF-Spannung, aber gegenphasig, so dass sie sich aufheben, was eine recht beträchtliche Erhöhung der ZF-Verstärkung bedeutet.

Im nächsten Teil folgen noch Schaltungsvarianten sowie Abstimmung mit Drehkondensatoren statt Variometer sowie Abgleich-Tipps.

Gruss HB9

Datei-Anhänge
Resonar.png Resonar.png (1370x)

Mime-Type: image/png, 38 kB

ELEK, wumpus, nobbyrad58, Debo, Martin.M, regency, apollo, WalterBar, Vorkreis und Volker gefällt der Beitrag.
!
!!! Fotos, Grafiken nur über die Upload-Option des Forums, KEINE FREMD-LINKS auf externe Fotos.    

!!! Keine Komplett-Schaltbilder, keine Fotos, keine Grafiken, auf denen Urheberrechte Anderer (auch WEB-Seiten oder Foren) liegen!
Solche Uploads werden wegen der Rechtslage kommentarlos gelöscht!

Keine Fotos, auf denen Personen erkennbar sind, ohne deren schriftliche Zustimmung.

Den Beitrag-Betreff bei Antworten auf Threads nicht verändern!
02.12.18 14:00
HB9 

500 und mehr Punkte

02.12.18 14:00
HB9 

500 und mehr Punkte

Re: UKW Röhren-Tuner entmystifizieren

Hallo zusammen,

nun zum 2. Teil.
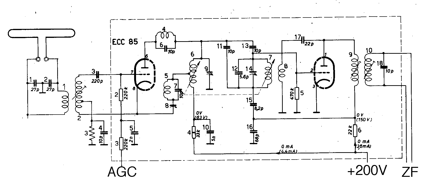
Hier ein Beispiel mit Drehko-Abstimmung, der Nordmende Rigoletto 59:



Die Schaltung sieht etwas komplizierter aus, aber die Funktionen sind dieselbe, der Oszillator-Schwingkreis muss aber anders aufgebaut werden, da der Drehko zwangsläufig einseitig geerdet ist.

Die HF-Stufe ist ebenfalls in Zwischengitter-Schaltung ausgeführt. Der breitbandige Eingangskreis besteht aus L51 und C54/C55 sowile L57 mit C57/C58. Anstelle einer Anzapfung von L57 wird hier die Aufteilung der HF-Spannung durch die Schwingkreiskondensatoren C57 und C58 gemacht. Die Kathode ist gleichspannungsmässig über L60 und R58 mit Masse verbunden, L60 hat für UKW eine hohe Impedanz. Hier gibt es keine Regelung, daher liegt R56 auf Masse. Die Neutralisation erfolgt hier über L58, C56 trennt nur die Gleichspannung ab. Die Funktion ist folgede: der induktive Widerstand von L58 ist für die UKW-Frequenzen gleich wie der kapazitive Widerstand der Gitter-Anode-Kapazität. Da der kapazitive Strom aber der Spannung 90° voreilt und der induktive 90° nacheilt, sind am Gitter die beiden Ströme um 180° phasenverschoben und heben sich auf. Man kann auch sagen, dass die Gitter-Anoden-Kapazität mit L58 einen Parallelschwingkreis bildet, der den Weg von der Anode zum Gitter bei der Resonanzfrequenz blockiert. Der grosse Nachteil dieser Schaltung ist, dass die Neutralisation nur bei einer Frequenz stimmt, was die Verwendung einschränkt.
Der Zwischenkreis besteht aus L61 und einer Hälfte des Drehkos C61. R57 und L59 im Anodenkreis verhindern wilde UHF-Schwingungen. Betrachtet man den Zwischenkreis genauer, sieht man, dass die Anodenspannung am Drehko-Stator anliegt, was nicht optimal ist. Zwar haben die Platten bei UKW-Drehkos relativ grosse Abstände, aber Schmutzpartikel zwischen den Platten können hier Kurzschlüsse mit üblen Folgen verursachen.

Der Oszillator-Schwingkreis besteht aus L63 und dem zweiten Drehko von C61. C64 verbessert den Gleichlauf, und die Anzapfung für die Verbindung zur Anode sorgt für die richtige Impedanz. Die Parallelschaltung von C68 und C69 bildet die Kapazität des ZF-Kreises mit L65.
Da gitterseitig für die Brücke eine erdfreie Oszillatorspannung notwendig ist, gibt es L62, die gut mit der Oszillatorspule L63 gekoppelt ist und für die Rückkopplung sorgt. C67 wird so eingestellt, dass dieselbe Spannung wie am Gitter der Mischröhre anliegt, also dass die Kapazität der Eingangskapazität am Gitter entspricht, dann gibt es am Verbindungspunkt C65/C66 keine Oszillatorspannung.

Auch hier ist die Mischröhre für die ZF neutralisiert, was mit C71 gemacht wird. Die Spule L64 zum Gitter hat für UKW eine hohe Impedanz, so dass die Neutralisation nur für die ZF wirksam wird.

Hier noch eine Variante mit Kathodenbasis-Schaltung der HF-Stufe und Variometerabstimmung (Biennophone "Gandria"):



Hier wird der Eingangskreis ebenfalls abgestimmt, daher gibt es ein Dreifach-Variometer. Das Variometer UH1 bildet zusammen mit der Röhrenkapazität einen Schwingkreis, der durch den Dipol relativ stark gedämpft wird, daher gibt es keinen Abgleich-Trimmer. Die Neutralisation erfolgt kapazitiv mit C5 von der Anode auf das "untere" Ende des Eingangskreises, hier ist die Spannung gegenüber dem Gitter 180° phasenverschoben, so dass die Neutralisation stimmt. Mit dem Trimmer wird die Neutralisation korrekt eingestellt. Auch hier wird die HF-Stufe geregelt, die Regelspannung kommt aus dem ZF-Verstärker und wird über R1 zugeführt.
Der Zwischenkreis besteht aus dem Variometer UH2 mit den parallelgeschalteten Kondensatoren.

Der Oszillator ist fast identisch wie beim Resonar aufgebaut (ist ja auch dieselbe Firma). C4 sorgt für die Symmetrie der Brücke, und am neutralen Verbindungspunkt von C1 und C2 wird die HF eingespeist. Die ZF-Neutralisation erfolgt mit C3.

Selbstverständlich gilt dasselbe bei der Bestückung 2*EC92. Bei der ECC81 hingegen kommt als HF-Stufe nur die Gitterbasis-Schaltung in Frage, da die Anoden nicht gegeneinander abgeschirmt sind und somit die Oszillatorspannung auf die Anode der HF-Stufe und so auch auf das Gitter einkoppelt. Daher wurde sie auch nicht allzu häufig verwendet. Pentoden als HF-Stufe waren immer in Kathodenbasis geschaltet.

Im nächsten Teil folgt noch die Kaskodeschaltung und Abgleichtipps.

Gruss HB9

Datei-Anhänge
Rigoletto.png Rigoletto.png (1435x)

Mime-Type: image/png, 73 kB

Gandria.png Gandria.png (2272x)

Mime-Type: image/png, 65 kB

02.12.18 14:37
HB9 

500 und mehr Punkte

02.12.18 14:37
HB9 

500 und mehr Punkte

Re: UKW Röhren-Tuner entmystifizieren

Hallo zusammen,

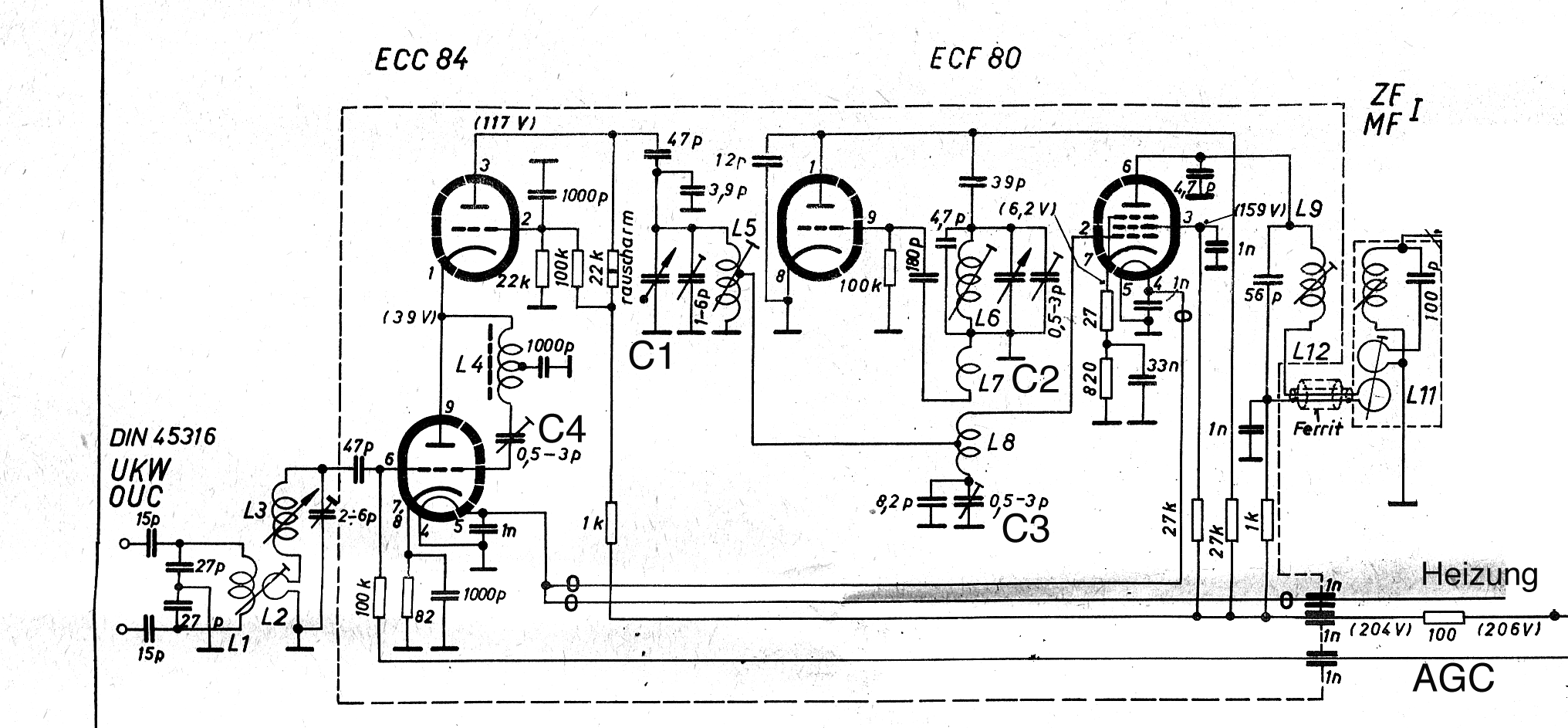
hier also der Luxus-Tuner vom Biennophone "Celerina":



Die Eingangsstufe ist hier als Kaskode mit einer ECC84 ausgeführt. Eine Kaskode vereinigt das niedrige Rauschen einer Triode mit der hohen Verstärkung und Rückwirkungsfreiheit einer Pentode, man braucht dafür aber zwei Trioden. Die "untere" Triode ist in Kathodenbasis und die "obere" in Gitterbasis geschaltet. Da die ECC84 für niedrige Spannungen optimiert ist, können die beiden Röhren für Gleichspannung in Serie liegen und das Gitter der "oberen" Röhre liegt auf ca. 40V Spannung.
Über den fixen Kreis L1 mit den beiden 27p-Kondensatoren gelangt das HF-Signal an dem mit Variometer L3 abgestimmten Eingangskreis und auf das Gitter der Kaskode. Auch hier wird die Verstärkung geregelt, die Regelspannung wird über den 100k-Widerstand an das Gitter geführt. Um wilde Schwingungen und Abstrahlung zu verhindern, ist die Heizspannung mit Ferritperlen und einem Kondensator abgeblockt.
Die "untere" Triode wird neutralisiert, dazu dreht L4 als Auto-Trafo die Phase der Anodenspannung um 180° und mit C4 stellt man die korrekte Neutralisation ein. Die Neutralisation ist notwendig, weil die ECC84 wesentlich weniger steil ist als die ECC88, was eine höhere Impedanz an der Anode und damit eine höhere HF-Spannung zur Folge hat.
Am Ausgang der Kaskode liegt der Zwischenkreis aus L5 und dem Drehko C1. Über eine Anzapfung zur Impedanzanpassung gelangt die HF zum additiven Mischer mit der Pentode der ECF80.

Der Mischer arbeitet fremderregt, er braucht also einen separaten Oszillator. Das Oszillatorsignal wird induktiv in L8 eingekoppelt. C3 sorgt für das Brücken-Gleichgewicht und entspricht der Eingangskapazität der Mischröhre. Die HF wird über die Mittelanzapfung von L8 zugeführt, dort hat es keine Oszillatorspannung. Da die Mischröhre eine Pentode ist, braucht es für die ZF keine Neutralisation. Der nicht überbrückte 27-Ohm-Widerstand in der Kathodenleitung sorgt dafür, dass die Eingangskapazität unabhängig von der Eingangsspannung ist und damit die Brücke stabil ist.

Der Oszillator ist mit der Triode der ECF80 aufgebaut und hat keine Spezialitäten. Der Vorteil des separaten Oszillators liegt darin, dass das HF-Eingangssignal vom Oszillator vollständig getrennt ist, während bei der selbstschwingenden Schaltung dieselbe Röhre das HF- und das Oszillatorsignal verstärkt, was bei starken HF-Signalen zu einem "Zieh-Effekt" und damit einer Frequenzmodulation des Oszillators führt, was zu schlechtem Empfang führt. Deshalb wird bei einigen Empfängern die HF-Stufe geregelt.

Abgleichtipps

Falls eine Abgleichanleitung vorhanden ist, soll immer nach dieser vogegangen werden. Falls nicht, hat sich folgendes Vorgehen bewährt (siehe auch Kompendium):
- ZF-Teil samt Demodulator abgleichen, idealerweise mit Wobbler, sonst auf Maximum und geringste Verzerrungen
- Oszillator-Brücke in Bandmitte auf geringste Abstrahlung des Oszillatorsignals abgleichen
- Oszillator auf korrekten Empfangsbereich abgleichen
- Zwischenkreis auf korrekten Gleichlauf abgleichen
- Eingangskreis, falls fix, bei etwa Bandmitte abgleichen, bei abgestimmten Eingangskreisen auf korrekten Gleichlauf
- Neutralisation abgleichen, danach Vor- und Zwischenkreis fein nachgleichen

Für den korrekten Abgleich der Oszillator-Brücke (falls Abgleich vorgesehen ist) schliesst man einen UKW-Empfänger mit Feldstärkeanzeige am Antennenanschluss des Prüflings an und stimmt diesen auf die Oszillatorfrequenz des Prüflings ab. Nun wird die Brücke auf minimales Signal abgeglichen.

Die Neutralisation bei "normalen" HF-Eingangsstufen (keine Kaskode) macht man folgendermassen:
- Anodenspannung der HF-Stufe abhängen, dazu muss normalerweise der Widerstand für die Spannungszuführung abgelötet werden, dabei darf der HF-Pfad nicht verändert werden, also alle Abblockkondensatoren müssen wirksam bleiben und der Mischer darf nicht abgehängt werden.
- Mit Mess-Sender ein Signal etwa auf Bandmitte am Antenneneingang einspeisen, alternativ geht auch ein ausreichend starker Sender, Empfänger auf diese Frequenz abstimmen.
- Neutralisations-Trimmer so einstellen, dass der Empfangspegel minimal wird.
- Versorgungsspannung wieder anschliessen.

Die Neutralisation der Kaskode ist schwieriger einzustellen. Hier kann z.B. der eingangsseitige Schwingkreis abgehängt werden und stattdessen das HF-Signal vom Mess-Sender eingespeist werden, Sender auf Bandmitte einstellen. Direkt am Gitter wird die HF-Spannung über einen 1pF-Kondensator abgegriffen und gemessen. Die Neutralisation ist dann korrekt, wenn sich die gemesse Spannung am Gitter beim Durchdrehen der Abstimmung nicht ändert.

Gruss HB9

Datei-Anhänge
Celerina.png Celerina.png (862x)

Mime-Type: image/png, 255 kB

02.12.18 15:25
nobbyrad58 

500 und mehr Punkte

02.12.18 15:25
nobbyrad58 

500 und mehr Punkte

Re: UKW Röhren-Tuner entmystifizieren

Hallo HB9

Sehr ausführlich und fachlich fundiert. Bis ca. 1952/53 gab es auch den additiven Pentodenmischer mit EF 42 oder EF 80 mit oder ohne Vorstufe.
Für die Spezialität ECH 81 wobei die Triode als additiver Mischer aufgebaut war gibt es nur wenige Beispiele, weil die zusätzliche ZF Stufe die sonst durch das H System der ECH verwirklicht war nach "hinten" rückte. Also keine Ersparnis. Siehe Telefunken Dacapo. Kleiner Nachtrag: Die Mischung erfolgte in einem separaten "Mischkreis" außerhalb der Röhren beim Dacapo.

MFG Nobby

Zuletzt bearbeitet am 02.12.18 15:30

02.12.18 15:46
HB9 

500 und mehr Punkte

02.12.18 15:46
HB9 

500 und mehr Punkte

Re: UKW Röhren-Tuner entmystifizieren

Hallo Nobby,

die selbstschwingenden Pentoden-Mischer sind selten, mir ist noch keiner über den Weg gelaufen, aber in der Literatur findet man sie. Objektiv betrachtet gibt es auch keinen Grund dafür, denn Trioden sind billiger und rauschen weniger. Bei der "kreativen" Hexoden-Schaltung meinte ich die Variante, dass man auch bei UKW die Hexode als Mischer und die Triode als Oszillator verwendete und somit für UKW keine zusätzliche Röhre brauchte. Allerdings ist die Umschalterei nicht ohne, und die ECH42 ist für UKW alles andere als gut. Der Philips BF634 oder BF621 arbeitet so.

Eine kreative Schaltung mit der ECH81 findet man in einer Telefunken-Publikation. Dort wird die Hexode als UKW-HF-Stufe und die Triode als selbstschwingender Mischer verwendet (geht bei der ECH42 nicht, weil das Trioden-Gitter fix mit dem Hexoden-Gitter verbunden ist). Diese Schaltung habe ich aber nirgends angetroffen. Das grosse Rauschen der Hexode und die notwendige zusätzliche ZF-Stufe sprechen ja nicht gerade für sich...

Daneben gab es ja auch die kreativen HF/ZF-Reflex-Schaltungen. Wie man das ohne wilde Schwingungen schaffte, weiss ich nicht, ich hatte auch noch nie so ein Ding in der Hand. Jedenfalls hatten auch diese keine Zukunft.

Gruss HB9

02.12.18 15:56
Martin.M 

500 und mehr Punkte

02.12.18 15:56
Martin.M 

500 und mehr Punkte

Re: UKW Röhren-Tuner entmystifizieren

Ein Spitzenthema, vielen Dank dafür !

Jetzt bitte Abt. HiFi, eine Kaskode.

bez. Pethodenmischern; war da nichtmal ein Projekt in der ehemaligen Röhrenbude mit EF95?
Ist lange her und meine Birne altert auch vor sich hin.

lG Martin

Zuletzt bearbeitet am 02.12.18 15:58

02.12.18 16:39
nobbyrad58 

500 und mehr Punkte

02.12.18 16:39
nobbyrad58 

500 und mehr Punkte

Re: UKW Röhren-Tuner entmystifizieren

Hallo HB9 und Alle!

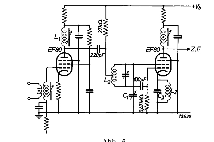
So etwas meinte ich. Gab es auch ohne Vorstufe mit EF 42.
Es ist dort ein HF und Mischteil eines FE Empfängers BD I gezeigt aber für UKW BD II gab es das auch.

MFG Nobby

Datei-Anhänge
ef80.jpg ef80.jpg (1212x)

Mime-Type: image/jpeg, 67 kB

02.12.18 18:47
HB9 

500 und mehr Punkte

02.12.18 18:47
HB9 

500 und mehr Punkte

Re: UKW Röhren-Tuner entmystifizieren

Hallo Nobby,

im Prinzip ist es dasselbe wie der selbstschwingende Triodenmischer, nur dass die ZF-Neutralisation entfällt und die Mischverstärkung höher ist. Die gezeigte Schaltung eignet sich aber nur für induktive Abstimmung (Variometer), für Drehko-Abstimmung müsste man es ähnlich der Rigoletto-Schaltung machen, da der Drehko einseitig geerdet ist, für die Brücke aber eine "schwebende", erdfreie Spannungsquelle gebraucht wird.

Gruss HB9

02.12.18 21:24
regency 

500 und mehr Punkte

02.12.18 21:24
regency 

500 und mehr Punkte

Re: UKW Röhren-Tuner entmystifizieren

Hallo HB9,
sehr lehrreich, deine Beitragsserie!

HB9:
die selbstschwingenden Pentoden-Mischer sind selten, mir ist noch keiner über den Weg gelaufen, aber in der Literatur findet man sie.
Ich habe so einen frühen Einbau Tuner der Fa. Bollmeyer und Hoppe (Hoboton) mit der EF 42. Er funktioniert recht gut. Die Firma ist kurz nach dem Krieg entstanden und dann in die Firma Nogoton übergegangen. Ist aber streng genommen auch ein Triodenmischer, weil g2 als Anode verwendet wird? Wir haben dazu bei einem Bastelprojekt etwas gefachsimpelt...http://www.wumpus-gollum-forum.de/forum/...=129&page=3

Gruß, Jan

03.12.18 08:07
HB9 

500 und mehr Punkte

03.12.18 08:07
HB9 

500 und mehr Punkte

Re: UKW Röhren-Tuner entmystifizieren

Hallo Jan,

der selbstschwingende Pentoden-Mischer ist ein "Zwitter". Der Oszillator ist klar eine Triode mit dem Schirmgitter als Anode, da wird auch additiv gemischt. Für die entstehende ZF ist es jedoch eine Pentode mit dem Vorteil der höheren Verstärkung und Rückwirkungsfreiheit, wobei die Rückwirkungsfreiheit nur dann gegeben ist, wenn das Schirmgitter für die ZF geerdet ist. Somit entspricht die Funktion einer Oktode, allerdings fehlt das zweite Steuergitter, deshalb muss additiv gemischt werden.

Die Oszillator-Abstimmung mit dem Doppel-Drehko ist übrigens nicht optimal, da bedingt durch die Toleranzen des Drehkos der Brücken-Nullpunkt frequenzabhängig wird. Daher wurde meistens induktiv abgestimmt oder dann mit einem separaten Schwingkreis wie bei Nordmende.

Ansonsten ist das eine gute Schaltung, ich nehme an, dass man später Trioden als Mischer verwendet hatte, weil sie billiger sind, und bei Verbundröhren werden die Anschluss-Pins knapp (bei Noval geht es aber, wie die ECF80 zeigt). Als HF-Stufe ist eine Triode wegen dem geringeren Rauschen auf jeden Fall besser, auch wenn die Neutralisation Zusatzaufwand bedeutet.

Gruss HB9

 1 2
 1 2
gleichspannungsmässig   Neutralisations-Trimmer   Oszillator-Schwingkreis   entmystifizieren   Gitter-Anoden-Kapazität   Gitter-Anode-Kapazität   Brücken-Gleichgewicht   Röhren-Tuner   Neutralisation   welt-der-alten-radios   Oszillator-Abstrahlung   Schwingkreiskondensator   Neutralisationsspannung   Oszillatorspannung   Telefunken-Publikation   Zwischengitter-Schaltung   Rückwirkungsfreiheit   Schwingkreiskondensatoren   Kathodenbasis-Schaltung   wumpus-gollum-forum