| Passwort vergessen?
Sie sind nicht angemeldet. |  Anmelden

Sprache auswählen:

Wumpus Gollum Forum von
Wumpus Welt der (alten) Radios
Sie sind nicht angemeldet.
 Anmelden

Defektes Rienzi Nora Radio W220L
  •  
 1
 1
12.04.10 11:43
1dream.de 

0-49 Punkte

12.04.10 11:43
1dream.de 

0-49 Punkte

Defektes Rienzi Nora Radio W220L

Hallo!

Erstmal möchte ich als "Neuer" alle hier begrüßen.

Ich bekam vor einiger Zeit ein Nora Radio W220L geschenkt.
Ausführung im Holzgehäuse.

Das Radio funktioniert auch soweit, bis auf ein 50 Hz Brummen.

Nun habe ich es einmal geöffnet und festgestellt, daß sich unten neben dem Trafo ein mir unbekanntes Bauteil in einem Blechgehäuse befindet.
Dieses Bauteil ist aufgeplatzt und es lag ein Stück, das aussieht wie gewickeltes Papier in Wachs getränkt, am Geräteboden.

Wer kann mir evtl. sagen, um was es sich dabei handelt?!

Des Weiteren fehlt die komplette Frequenzscala und der Zeiger.
Sind solche Teile evtl. als Nachbau zu bekommen?

Ein Schaltplan wäre auch nicht schlecht.


Vielleicht hilft mir jemand in diesem Forum weiter, damit sich der Erhalt des Gerätes lohnt.

Gruß


Klaus B

Noch gefällt der Beitrag keinem Nutzer.
!
!!! Fotos, Grafiken nur über die Upload-Option des Forums, KEINE FREMD-LINKS auf externe Fotos.    

!!! Keine Komplett-Schaltbilder, keine Fotos, keine Grafiken, auf denen Urheberrechte Anderer (auch WEB-Seiten oder Foren) liegen!
Solche Uploads werden wegen der Rechtslage kommentarlos gelöscht!

Keine Fotos, auf denen Personen erkennbar sind, ohne deren schriftliche Zustimmung.

Den Beitrag-Betreff bei Antworten auf Threads nicht verändern!
12.04.10 11:50
wumpus 

Administrator

12.04.10 11:50
wumpus 

Administrator

Re: Defektes Rienzi Nora Radio W220L

Hallo Klaus,

willkommen im Forum. Meinst Du dieses Gerät:

http://www.oldradioworld.de/wl200.htm

Wenn ja, wo ist dieses Bauteil? Dort zu sehen, oder ist es unter dem Chassis?

Mit freundlichen Grüssen Rainer (Forum-Admin)

Möge uns die analoge Radio-Welle noch lange erhalten bleiben.

12.04.10 11:56
1dream.de 

0-49 Punkte

12.04.10 11:56
1dream.de 

0-49 Punkte

Re: Defektes Rienzi Nora Radio W220L

Hallo Rainer!
Ja fast, nur ist es eine Ausbaustufe weiter.
Biem W220L sitzt in der Mitte der Knopf für die Frequenz, links die Frequenzumschaltung und rechts der Ein/Aus und Lautstärken-Kombischalter.
Die Scala ist auch etwas größer.
Das Bauteil sitzt unter dem Chassis ist rechteckig und etwa 4 x 6 x 10 cm groß.

Leider hab ich momentan keine DigiCam zur Hand sonst würde ich ein Bild miteinstellen.
Werd ich aber noch nachholen.

Gruß

Klaus

12.04.10 12:45
Wolle 

500 und mehr Punkte

12.04.10 12:45
Wolle 

500 und mehr Punkte

Re: Defektes Rienzi Nora Radio W220L

Hallo Klaus.

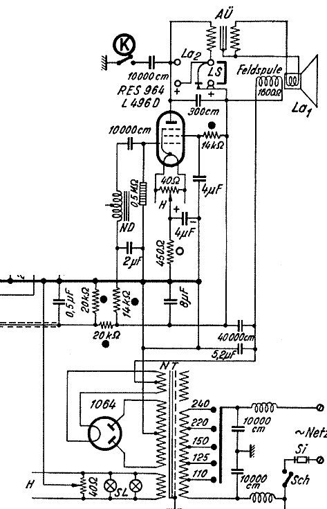
Willkommen im Forum. Das von Dir genannte Bauteil ist ein Blockkondensator, der mehrere Wickel enthält, also mehrere Kondensatoren in einem Gehäuse enthält. Diese Kondensatoren lassen sich durch Einzelkondensatoren oder Elkos mit passender Kapazität und Spannungsfestigkeit ersetzen. Diesen Ersatz kann man im Originalgehäuse unterbringen. Aus dem Schaltbild ist nicht zu erkennen, welche Kondensatoren in dem Block untergebracht sind. Das müßte man an Hand des Chassis feststellen. Wahrscheinlich sind die Kondensatoren 4 µF, 5,8 µF und 2 µF in dem Becher untergebracht.
Vorsicht mit der eingebauten Lichtantenne. Wenn der Trennkondensator Isolationsfehler hat, ist das Chassis spannungsführend.

Mit vielen Grüßen.
Wolle

Zuletzt bearbeitet am 12.04.10 12:56

Datei-Anhänge
w220l_netz.png w220l_netz.png (336x)

Mime-Type: image/x-png, 19 kB

12.04.10 15:37
1dream.de 

0-49 Punkte

12.04.10 15:37
1dream.de 

0-49 Punkte

Re: Defektes Rienzi Nora Radio W220L

Hallo Wolle!

Vielen Dank für die schnelle Antwort, das hilft mir schon mal extrem weiter.
Jetzt bräuchte ich nur noch ne neue Scala & den Zeiger.


Gruß


Klaus

 1
 1
festgestellt   Isolationsfehler   Defektes   Trennkondensator   funktioniert   unterbringen   Einzelkondensatoren   Frequenzscala   Blockkondensator   Originalgehäuse   Spannungsfestigkeit   Blechgehäuse   miteinstellen   oldradioworld   spannungsführend   Kondensatoren   Lautstärken-Kombischalter   Frequenzumschaltung   untergebracht   Wahrscheinlich