| Passwort vergessen?
Sie sind nicht angemeldet. |  Anmelden

Sprache auswählen:

Wumpus Gollum Forum von
Wumpus Welt der (alten) Radios
Sie sind nicht angemeldet.
 Anmelden

SAQ geht in die Luft ;-)
  •  
 1 .. 8 .. 13 14 15 16 17
 1 .. 8 .. 13 14 15 16 17
20.11.22 14:42
WoHo 

500 und mehr Punkte

20.11.22 14:42
WoHo 

500 und mehr Punkte

Re: SAQ geht in die Luft ;-)

Zitieren:
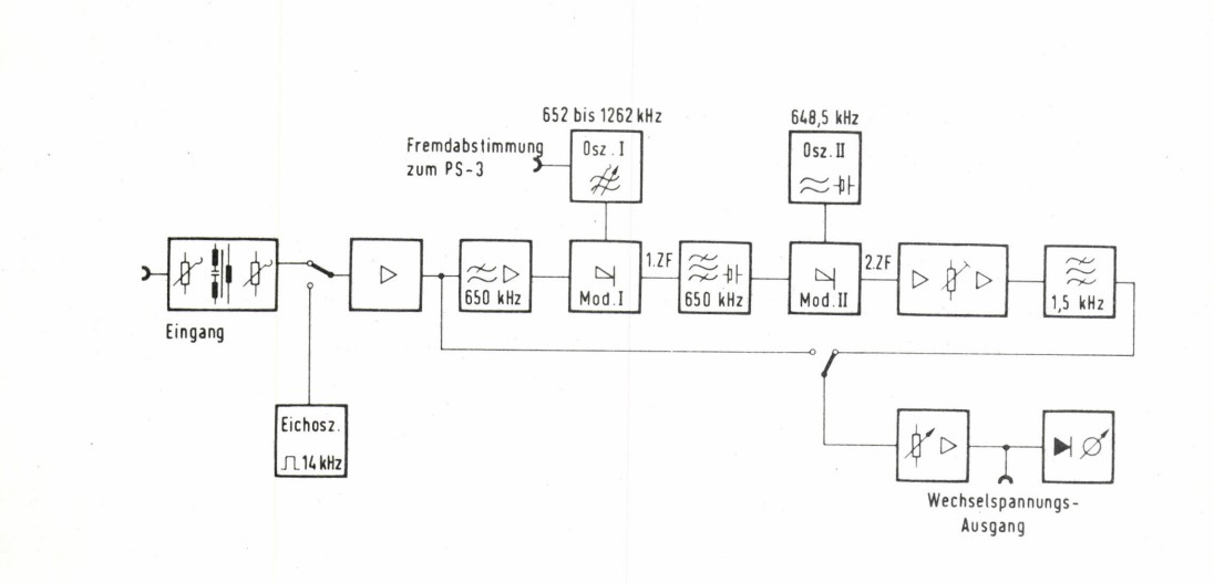
Ich stelle nachher mal das Blockschaltbild ein, vielleicht kann mir da ja mal jemand auf die Sprünge helfen.

Hallo Axel

Der Messempfänger arbeitet nach dem Superhetprinzip mit einer ZF von 650 kHz.
Damit das auch ein hörbares Ausgangssignal von 1,5 kHz wird, ist ein 2. Oszillator (BFO = 648,5 kHz) mit 2. Mischstufe eingebaut.

Gruß aus NL, Wolfgang

Zuletzt bearbeitet am 20.11.22 14:42

!
!!! Fotos, Grafiken nur über die Upload-Option des Forums, KEINE FREMD-LINKS auf externe Fotos.    

!!! Keine Komplett-Schaltbilder, keine Fotos, keine Grafiken, auf denen Urheberrechte Anderer (auch WEB-Seiten oder Foren) liegen!
Solche Uploads werden wegen der Rechtslage kommentarlos gelöscht!

Keine Fotos, auf denen Personen erkennbar sind, ohne deren schriftliche Zustimmung.

Den Beitrag-Betreff bei Antworten auf Threads nicht verändern!
20.11.22 17:44
Axel 

500 und mehr Punkte

20.11.22 17:44
Axel 

500 und mehr Punkte

Re: SAQ geht in die Luft ;-)

Danke Wolfgang!

Hier das Blockschaltbild:



Viele Grüße,
Axel

.........................................................................................................................
.
Da will man endlich mal in Ruhe die Werkstatt aufräumen und was passiert?
...Man hat keine Lust.


.

Zuletzt bearbeitet am 20.11.22 19:36

Datei-Anhänge
Screenshot 2022-11-20 174047.jpg Screenshot 2022-11-20 174047.jpg (138x)

Mime-Type: image/jpeg, 49 kB

22.12.22 19:42
WalterBar 

500 und mehr Punkte

22.12.22 19:42
WalterBar 

500 und mehr Punkte

Re: SAQ geht in die Luft ;-)

Hallo zusammen,

die SAQ-Aussendungen am Heiligabend Morgen sind wegen Corona-Erkrankungen abgesagt worden.


Gruss
Walter

27.01.23 18:42
Martin.M 

500 und mehr Punkte

27.01.23 18:42
Martin.M 

500 und mehr Punkte

Re: SAQ geht in die Luft ;-)

du schaffst das.
ich nehm den E108Lw4 mit einer 1m²loop.
Das dicke Radio ist darauf spezialisiert, Lw Weitverkehrsempfänger.
lG Martin

Zuletzt bearbeitet am 27.01.23 18:43

13.02.23 16:21
HB9 

500 und mehr Punkte

13.02.23 16:21
HB9 

500 und mehr Punkte

Re: SAQ geht in die Luft ;-)

Hallo zusammen,

habe die heutige Aussendung mit gutem Signal von zu Hause aus empfangen.
Ausrüstung war die 2.5m-Magnetloop aperiodisch im Kurzschlussbetrieb und als Empfänger mein Transistor-Eigenbau-Super.

Gruss HB9

13.02.23 16:34
WalterBar 

500 und mehr Punkte

13.02.23 16:34
WalterBar 

500 und mehr Punkte

Re: SAQ geht in die Luft ;-)

Hallo zusammen,

hier genauso. SNR 19dB bei 150 Hz Bandbreite mit dem Dipol und entsprechender Serieninduktivität gegen Masse.
Ferritantennenempfang nicht möglich. Zum Vergleich: DHO38 SNR 60dB sowohl mit Ferrit als auch mit der Aussenantenne.
Das VLF-Spektrum werde ich noch heute auf den RM-Server laden (cohiradia).

Gruss
Walter

13.02.23 16:46
Hajo 

500 und mehr Punkte

13.02.23 16:46
Hajo 

500 und mehr Punkte

Re: SAQ geht in die Luft ;-)

WalterBar:
hier genauso. SNR 19dB bei 150 Hz Bandbreite mit dem Dipol
Ferritantennenempfang nicht möglich. Zum Vergleich: DHO38 SNR 60dB sowohl mit Ferrit als auch mit der Aussenantenne.

Hallo Walter

Das tröstet mich etwas, hier war buchstäblich nichts aufzunehmen, weder an der Vertikalantenne, noch an der Ferritantenne.


Gruß in die Runde
Hajo

13.02.23 20:09
WalterBar 

500 und mehr Punkte

13.02.23 20:09
WalterBar 

500 und mehr Punkte

Re: SAQ geht in die Luft ;-)

Hajo:

Das tröstet mich etwas, hier war buchstäblich nichts aufzunehmen, weder an der Vertikalantenne, noch an der Ferritantenne.


Hallo Hajo,

ich bekam zufällig den Beginn des Abstimmens der Testsendung um etwas nach 13:30 Uhr mit. Da war das
Signal 3 dB stärker als in der Folgezeit. Weil mein Rechner mit SDRuno ausgelastet war, habe ich das Video
auf dem Rechner meiner Frau angesehen. Das Amperemeter für den Antennenstrom schlug ja so gut wie
nicht aus. Der Kamerawinkel war ungünstig und die Kameraführung sehr mässig. Mit dem alten Signalver-
hältnissen hat das nichts mehr zu tun. Mit einer Raumwellenunterstützung bei X-Flares und SSN>200 ist
natürlich auch nicht mehr zu rechnen.



Man möge mir den Ausflug zur Benutzung des RSP1a verzeihen, aber ich wollte endlich Gewissheit über
die Signalstärke haben. Um von den Laptopstörungen etwas weg zu kommen, habe ich einen 10dB-
Verstärker zugeschaltet. Der reine Antennenpegel betrug also -100dBm, nur etwas mehr als 2 Mikrovolt.

Die Störungen bei 12 kHz usw. kommen vom Laptop und nicht über die Antenne. Die Pegelrelationen
stimmen nicht, weil SAQ auf Resonanzmaximum gedreht wurde.




Gruss
Walter

Zuletzt bearbeitet am 14.02.23 09:33

Datei-Anhänge
RSP1a-SAQ.jpg RSP1a-SAQ.jpg (154x)

Mime-Type: image/jpeg, 266 kB

RSP1a.jpg RSP1a.jpg (134x)

Mime-Type: image/jpeg, 122 kB

13.02.23 22:28
Axel 

500 und mehr Punkte

13.02.23 22:28
Axel 

500 und mehr Punkte

Re: SAQ geht in die Luft ;-)

Hallo zusammen,

Bei mir hier in der Nähe von Wittenburg, Mecklenburg Vorpommern (JO53MM) hat es heute nur für einen kurzen Empfang auf Arbeit gereicht.
Mit meinem mobilen Empfänger konnte ich das Signal aufnehmen, aber an eine Decodierung war nicht zu denken.

Die Stabantenne dicht am Boden ist wohl auch nicht so das Wahre, der Empfänger ging vor zwei Jahren im dritten Stock einer Kleinstadtwohnung deutlich besser...
Vielleicht könnte er mit einer Ferritantenne besser umgehen?

Hier mal ein kurzes Video, das Geknatter ist übrigens ein Crossmotorrad auf dem Landweg nebenan:

https://youtube.com/shorts/r8gJYxWQu10


Viele Grüße,
Axel











.........................................................................................................................
.
Da will man endlich mal in Ruhe die Werkstatt aufräumen und was passiert?
...Man hat keine Lust.


.

14.02.23 00:22
Hajo 

500 und mehr Punkte

14.02.23 00:22
Hajo 

500 und mehr Punkte

Re: SAQ geht in die Luft ;-)

Hallo Zusammen

@Jens
Für einen so kurzen Ferritstab ist das ein recht ordentliches Signal, würde ich meinen.
War er in Resonanz oder aperiodisch betrieben?

@Walter
Danke für Deine Mühe.
Ich Esel konnte heute deswegen nichts hören, weil ich eine ganze Stunde zu früh im Garten war.
Hatte irgendwie 15 Uhr in Erinnerung und und mich ab 14:40 auf die Lauer gelegt aber da nichts zu hören war, kurz nach 15:30 Ortszeit abgebrochen - oh mann.
Naja - der Alexandersontag ist ja nicht sooo weit weg.

@Axel
Das Signal an Deinem Empfänger scheint recht kräftig zu sein aber es hört sich fast wie AM an.


Gruß in die Runde
Hajo.

Zuletzt bearbeitet am 14.02.23 00:38

 1 .. 8 .. 13 14 15 16 17
 1 .. 8 .. 13 14 15 16 17
Grüße   Zuletzt   Grimeton   entspricht   natürlich   Bandbreite   Antenne   Dreikreisgeradeausempfänger   Halbleiter-Schaltungstechnik   7a9ca707aa27436d98b98892e4fc945d   Olympus-Aufzeichnungsgerät   Empfänger   aufräumen   Werkstatt   zusammen   Verstärkungs-Bandbreitenprodukt   empfangen   bearbeitet   SAQ-Direkt-Mischempfänger   Empfängereingangsleistung