| Passwort vergessen?
Sie sind nicht angemeldet. |  Anmelden

Sprache auswählen:

Wumpus Gollum Forum von
Wumpus Welt der (alten) Radios
Sie sind nicht angemeldet.
 Anmelden

Ein Zweikreis-Audion oder doch ein Synchrodyne?
  •  
 1 2 3
 1 2 3
12.03.20 11:31
Reflex-Kalle 

500 und mehr Punkte

12.03.20 11:31
Reflex-Kalle 

500 und mehr Punkte

Re: Ein Zweikreis-Audion oder doch ein Synchrodyne?

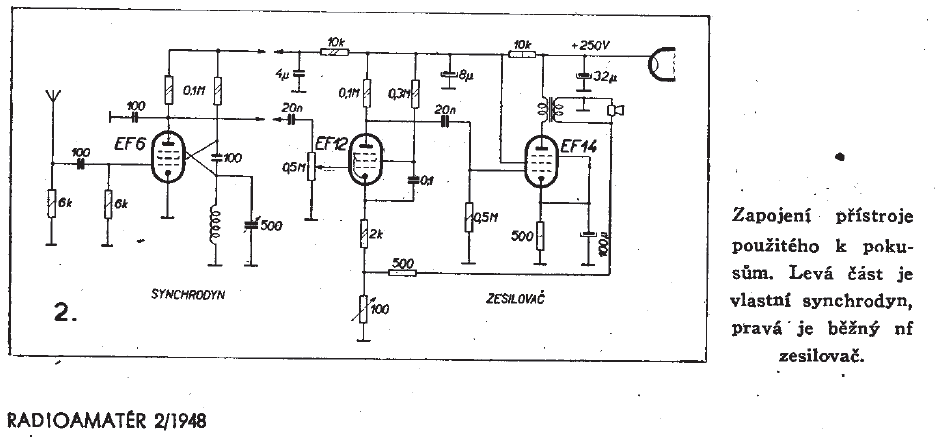
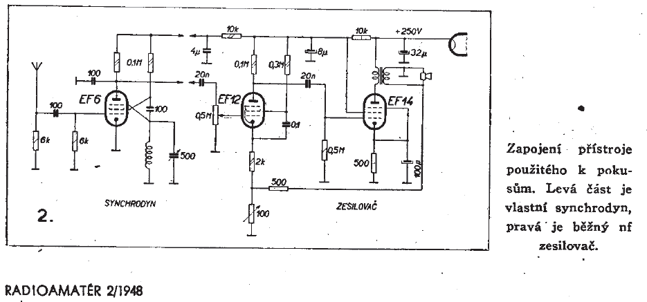
Irgendwie erinnert mich die Schaltung an eine vereinfachte Synchrodyne-Schaltung nach Tucker von Ende der 40er Jahre. Da gab es mal im Radioamater einen zweiseitigen Beitrag mit Beispiel



Müsste man mal die Spannungen am Schirm- und Bremsgitter, sowie der Anode oszillographieren.

Gruß

(Reflex-)Kalle

Zuletzt bearbeitet am 12.03.20 18:01

Datei-Anhänge
Synchrodyne.png Synchrodyne.png (381x)

Mime-Type: image/png, 29 kB

!
!!! Fotos, Grafiken nur über die Upload-Option des Forums, KEINE FREMD-LINKS auf externe Fotos.    

!!! Keine Komplett-Schaltbilder, keine Fotos, keine Grafiken, auf denen Urheberrechte Anderer (auch WEB-Seiten oder Foren) liegen!
Solche Uploads werden wegen der Rechtslage kommentarlos gelöscht!

Keine Fotos, auf denen Personen erkennbar sind, ohne deren schriftliche Zustimmung.

Den Beitrag-Betreff bei Antworten auf Threads nicht verändern!
12.03.20 22:27
Roehren-Lutz 

100-249 Punkte

12.03.20 22:27
Roehren-Lutz 

100-249 Punkte

Re: Ein Zweikreis-Audion oder doch ein Synchrodyne?

Hallo Forumsgemeinde,

ich freue mich über die zahlreiche Reaktionen!

@Jens: Habe Deinen Schaltung Vorschlag umgesetzt. Voller Erfolg! Dankeschön!
Bei einer Schirmgitterspannung von ca. 12 Volt geht's los. Je nach Sender muss dann allerdings variiert werden, um das Maximum raus zu holen.

@Wolfgang: Vielen Dank für Deinen Test!

@HB9:Die Idee geht in die richtige Richtung. Ich habe vergleichbare Schaltungen mit EH90, ECH84 und Ech200 relativ erfolgreich probiert. Nur mit DK91 wollte es gar nicht funktionieren.

@Reflex-Kalle: Die Schaltung ist ja sehr vergleichbar.

Man kann übrigens auch das Bremsgitter an Masse legen. C5 und R2 entfällt.
Alles deutlich leiser, aber irgendwie findet irgendwo trotzdem noch eine Demodulation statt.

Maximale Bastler Folge und viele Grüße
Lutz

13.03.20 08:53
Reflex-Kalle 

500 und mehr Punkte

13.03.20 08:53
Reflex-Kalle 

500 und mehr Punkte

Re: Ein Zweikreis-Audion oder doch ein Synchrodyne?

Mit einer 6BE6 Heptode hat Pogson auch mal einen Synchrodyne-Tuner versucht



Ist in "Radio, Television & Hobbies" Septemper 1963 genau beschrieben. Eigentlich ist es ein normaler Pentagrid-Mischer, dessen Oszillator von der HF-Trägerfrequenz über den 120pF Kondensator synchronisiert wird. Letztlich sind alle Synchrodyne-Schaltungen Direktmischer-Schaltungen, wobei es erstmal unerheblich ist, wie die Mischfrequenz erzeugt wird und wie diese mit der HF-Frequenz gemischt wird.

Es muss nicht mal ein Oszillator sein, es kann auch die (hoch)verstärkte, selektierte und amplitudenbegrenzte HF-Frequenz sein, mit der die HF-Frequenz gemischt wird. Letzteres wird wohl auf die hier diskutierte Schaltung von Lutz zutreffen oder schwingt da ein Oszillalator auch ohne HF-Eingangsfrequenz?

Gruß

(Reflex-)Kalle

Datei-Anhänge
Basic-Synchrodyne.png Basic-Synchrodyne.png (289x)

Mime-Type: image/png, 47 kB

13.03.20 18:38
Roehren-Lutz 

100-249 Punkte

13.03.20 18:38
Roehren-Lutz 

100-249 Punkte

Re: Ein Zweikreis-Audion oder doch ein Synchrodyne?

Hallo (Reflex-) Kalle,

Du holst ja da ganz tolle Schaltungen aus der Tiefe...
Den Empfangsbereich hatte ich mit einem Frequenzmesser beim Schwingen des Audions gemessen.
Der Frequenzmesser benötigt leider wenigsten 0,5 Volt Signal zum messen.
Bei dieser Einstellung ist allerdings kein Empfang möglich.

Viele Grüße
Lutz

14.03.20 15:51
HB9 

500 und mehr Punkte

14.03.20 15:51
HB9 

500 und mehr Punkte

Re: Ein Zweikreis-Audion oder doch ein Synchrodyne?

Hallo zusammen,

Reflex-Kalle:



Müsste man mal die Spannungen am Schirm- und Bremsgitter, sowie der Anode oszillographieren.

Habe ich als Anregung aufgenommen und nachgebaut (ohne NF-Endstufe) und ausgemessen. Da ich keine EF6 habe, habe ich eine EF86 genommen, die hat sehr ähnliche Daten, was die Ströme und Steilheiten angeht, und das Bremsgitter ist separat herausgeführt. In Abweichung zur Originalschaltung habe ich eine negative Gittervorspannung von 0.1V angelegt, das reduziert den Klirrfaktor noch etwas und verhindert Gitterstrom bei höheren HF-Eingangssignalen.

Zuerst mal das NF-Spektrum bei 100%-Sinusmodulation:



Die erste Oberwelle ist knapp 35dB unter der Grundwelle, wobei dieser Wert recht stark von der korrekten Abstimmung abhängt. Die 2. Oberwelle dürfte die übliche Verzerrung der Röhre sein, der Klirrfaktor bewegt sich somit um etwa 3%, wohlgemerkt bei 100% Modulation und einer NF-Spannung von über 3V bei 100mV HF-Spannung.

Im Zeitbereich sieht das NF-Signal dann so aus (gelbe Kurve):



Das Oszillatorsignal am Schirmgitter (hellblau) und Anode (gelb) sieht so aus (Frequenz ca. 1.2MHz):



Man sieht noch ordentlich HF-Reste an der Anode, somit könnte man den 100pF-Kondensator noch vergrössern, die NF-Bandbreite beträgt nämlich über 25kHz. Die Gleichspannungen sind auffallend tief. Eventuell könnte man durch Verkleinern des Anodenwiderstandes den NF-Klirrfaktor noch reduzieren.

Bei hoher HF-Eingangsspannung wird die Oszillatorspannung moduliert, wie die folgenden Bilder zeigen (HF-Eingangsspannung 100mV):

Hellblau Spannung am Schirmgitter, gelb an der Anode, die Gleichspannungswerte stehen unten als 'Mean'-Werte:



Hier noch hellblau die Spannung am Bremsgitter, die Spannung ist etwas grösser als am Schirmgitter, gelb wieder die Anodenspannung:



Der Fangbereich bei 1.2MHz beträgt hier etwa 200Hz bei 20mV HF-Eingangsspannung, somit ist also ein stabiler Aufbau und eine präzise Abstimm-Mechanik angesagt, ebenso sollte man C0G- oder NP0-Kondensatoren und passende Ferrite verwenden, damit die Frequenz nicht wegdriftet. Bei höheren HF-Spannungen steigt der Fangbereich an, daher ist bei kurzen Antennen eine HF-Stufe durchaus sinnvoll, ebenso sollte am HF-Eingang ein Schwingkreis mit passender Antennenankopplung vorgesehen werden, wenn man keine HF-Stufe verwendet.

Im NF-Pfad sollte man ein wirksames Tiefpassfilter vorsehen, da hier die eigentliche Sendertrennung stattfindet, auch ein 9kHz-Sperrfilter macht Sinn.

Heute abend teste ich den Aufbau mal mit echten Sendern, dazu muss ich noch einen Vorkreis mit Antennenanpassung anbauen. Mal sehen, wie das funktioniert. Für Experimente ist die Schaltung auf jeden Fall lohnenswert, auch Versuche mit anderen Röhren können sich lohnen, z.B. Batterieröhren für Portabelbetrieb.

Noch eine Quizfrage: Wie funktioniert der Oszillator mit dem Schwingkreis eigentlich? Eine kleine Hilfe: Die Spannungen am Schirm- und Bremsgitter sind in Phase und praktisch identisch, am Bremsgitter eine Spur höher, je nach Frequenz.

Gruss HB9

Zuletzt bearbeitet am 14.03.20 22:51

Datei-Anhänge
g2ahf.PNG g2ahf.PNG (273x)

Mime-Type: image/png, 20 kB

g2ahhf.PNG g2ahhf.PNG (277x)

Mime-Type: image/png, 13 kB

g2ahigh.PNG g2ahigh.PNG (278x)

Mime-Type: image/png, 19 kB

g3a.PNG g3a.PNG (288x)

Mime-Type: image/png, 19 kB

Spektrum.PNG Spektrum.PNG (288x)

Mime-Type: image/png, 10 kB

15.03.20 10:36
Reflex-Kalle 

500 und mehr Punkte

15.03.20 10:36
Reflex-Kalle 

500 und mehr Punkte

Re: Ein Zweikreis-Audion oder doch ein Synchrodyne?

HB9:
Hallo zusammen,

Reflex-Kalle:



Müsste man mal die Spannungen am Schirm- und Bremsgitter, sowie der Anode oszillographieren.

Habe ich als Anregung aufgenommen und nachgebaut (ohne NF-Endstufe) und ausgemessen. Da ich keine EF6 habe, habe ich eine EF86 genommen, die hat sehr ähnliche Daten, was die Ströme und Steilheiten angeht, und das Bremsgitter ist separat herausgeführt. In Abweichung zur Originalschaltung habe ich eine negative Gittervorspannung von 0.1V angelegt, das reduziert den Klirrfaktor noch etwas und verhindert Gitterstrom bei höheren HF-Eingangssignalen.

...

Für Experimente ist die Schaltung auf jeden Fall lohnenswert, auch Versuche mit anderen Röhren können sich lohnen, z.B. Batterieröhren für Portabelbetrieb.

Noch eine Quizfrage: Wie funktioniert der Oszillator mit dem Schwingkreis eigentlich? Eine kleine Hilfe: Die Spannungen am Schirm- und Bremsgitter sind in Phase und praktisch identisch, am Bremsgitter eine Spur höher, je nach Frequenz.

Gruss HB9


Hallo,

freut mich, dass du die Schaltung mal schnell nachgebaut hast. In der selben Zeitschrift ist als kurzer Artikel auch die selbe Schaltung mit einer Batterie-Röhre zu finden



Auf die Synchrodyne-Schaltungen mit nur einem Elektronenröhren-System bin ich bei der Suche nach einem Schaltungsprinzip für einen FM Stereo-Dekoder mit nur einem Pentoden-System aufmerksam geworden. Da gibt es ja ein ähnliches, wenn auch nicht das selbe Problem, dem MPX-Multiplexsignal phasenstarr den unterdrückten 38kHz Hilfsträger wieder hinzufügen zu können.

Die "Quizfrage" kann ich (noch) nicht (richtig) beantworten.

Gruß

(Reflex-)Kalle

Zuletzt bearbeitet am 15.03.20 10:38

Datei-Anhänge
Batterie-Synchrodyne.png Batterie-Synchrodyne.png (292x)

Mime-Type: image/png, 162 kB

15.03.20 13:24
Roehren-Lutz 

100-249 Punkte

15.03.20 13:24
Roehren-Lutz 

100-249 Punkte

Re: Ein Zweikreis-Audion oder doch ein Synchrodyne?

Hallo HB9 und (REFLEX-) Kalle,

Ich bin gespannt auf die Ergebnisse.
Habe gerade nach obigen Schaltplan umgesteckt, aber den 1. Schwingkreis für das Steuergitter aktiv gelassen.
War leider nicht der große Erfolg. Das kann aber durchaus mit meinem "wackeligen" Versuchsaufbau zusammen hängen.
Meiner Meinung nach ist die obige Schalung ebenfalls eine Transitronschalung. Also mit negativen Widerstand. Ohne Schwingkreis liefert die m. E. eine Rechteckschwingung.

Viele Grüße
Lutz

15.03.20 18:59
WoHo 

500 und mehr Punkte

15.03.20 18:59
WoHo 

500 und mehr Punkte

Re: Ein Zweikreis-Audion oder doch ein Synchrodyne?

Zitieren:
Noch eine Quizfrage: Wie funktioniert der Oszillator mit dem Schwingkreis eigentlich? Eine kleine Hilfe: Die Spannungen am Schirm- und Bremsgitter sind in Phase und praktisch identisch, am Bremsgitter eine Spur höher, je nach Frequenz.
Gruss HB9

Es ist ein TRANSITRON, eng verwandt mit der NEGADYNE-Schaltung, wenn man bei der Pentode das g1 wegdenkt. Zwischen dem Schirmgitter und Bremsgitter bildet sich eine sogenannte "virtuelle Katode" (Stau von Elektronen) und das Bremsgitter steuert die Stromverteilung zwischen Anode und dem Schirmgitter.
Genaueres kann man hier lesen:
http://www.jogis-roehrenbude.de/Radiobas...ne/Negadyne.htm

Gruß aus NL, Wolfgang

15.03.20 21:25
Roehren-Lutz 

100-249 Punkte

15.03.20 21:25
Roehren-Lutz 

100-249 Punkte

Re: Ein Zweikreis-Audion oder doch ein Synchrodyne?

Hallo Forumsgemeinde,

zurück zur ursprünglichen Schaltung mit zwei Schwingkreisen.
Ich habe mal wechselweise in einer von den Spulen ein Ferritkern langsam eingedreht, also absichtlich gegeneinander verstimmt.
Beim 1. Schwingkreis wird ein empfangene Sender einfach nur leiser. Das Nachstimmen mit dem Dre-Ko bringt auch nichts.
Beim zweiten Schwingkreis erfolgte mit der verschobenen Resonanzfrequenz eine Senderabstimmung. D. h., der zweite Schwingkreis ist tatsächlich für den Empfänger frequenzbestimmend.

Viele Grüße
Lutz

16.03.20 10:35
WoHo 

500 und mehr Punkte

16.03.20 10:35
WoHo 

500 und mehr Punkte

Re: Ein Zweikreis-Audion oder doch ein Synchrodyne?

Gutem Morgen Lutz

Mein Nachbau -mit der EF80- hatte ja von Hause aus eine getrennte Abstimmung der beiden Kreise und konnte damit die Funktion derselben gut untersuchen.

Hiermit komme ich zu unterschiedlichen Feststellungen:
Der 1. Kreis (Gitterkreis) ist frequenzbestimmend!
Der 2. Kreis (Oszillatorkreis) sorgt für eine Entdämpfung bei angezogener Rückkopplung mit P1.

A) Wenn ich also mit P1 wenig Spannung auf g2 gebe, ist der Empfänger recht unempfindlich. Mit C2 kan ich auf Maximum abstimmen, was normal ist.
Drehe ich nun an C6 (2.Kreis) findet man einen deutlichen Rückgang in der Nähe der Resonanzfrequenz des 1. Kreises! Das erkläre ich mit der kapazitiven Kopplung von g1 nach g2, wodurch dem 1. Kreis Energie entzogen wird!

B) Erhöhe ich nun die Spannung an g2 (angezogene Rückkopplung), dann kann man eine scharf begrenzte Resonanzüberhöhung bekommen dicht bei der Einstellung von C6 unter A), was ja beabsichtigt ist.
Verstelle ich C6 von dem gefundenen Punkt, dann hat das kaum Einfluss auf die Hauptabstimmung, welche durch C2 gemacht wird.

C) Mit einem weiteren Anstieg der g2 Spannung geht die Lautstärke rapide zurück, weil der optimale Arbeitspunkt für das Audion verlassen wird.
Verbesserungsvorschlag: Eine Regelung der Rückkopplung OHNE Veränderung der Gleichspannungseinstellung!

Gruß aus NL, Wolfgang

Zuletzt bearbeitet am 16.03.20 10:40

 1 2 3
 1 2 3
HF-Eingangsspannung   Pentodenrückkopplungsaudion   Schirmgitter   Synchrodyne   Schwingkreis   Schaltung   Elektronenröhren-System   Bremsgitter   Zweikreis-Audion   Transitron-Oszillatorschaltung   Synchrodyne-Schaltung   Verbesserungsvorschlag   Schirmgitterspannungen   Synchrodyne-Schaltungen   Rückkopplungsstabiler   Direktmischer-Schaltungen   Rückkopplungseinstellung   Gleichspannungseinstellung   Wolfgang   Schirmgitterspannung