| Passwort vergessen?
Sie sind nicht angemeldet. |  Anmelden

Sprache auswählen:

Wumpus Gollum Forum von
Wumpus Welt der (alten) Radios
Sie sind nicht angemeldet.
 Anmelden

Ersatz für bestimmte 4Volt Uralt-Trioden..........
  •  
 1
 1
16.02.22 12:15
WoHo 

500 und mehr Punkte

16.02.22 12:15
WoHo 

500 und mehr Punkte

Ersatz für bestimmte 4Volt Uralt-Trioden..........

Im NL-Forum über alte Radios hat Ben aus Waddinxveen dieses interessante Thema angesprochen und selbst schon einen Vorschlag mit der steilen UHF-Triode PC97 ausgearbeitet.
Ich will dieses Thema über die Möglichkeiten für eine Ersatzlösung bei fehlenden, bzw. defekten Uralt-Trioden hier in dieses Forum einbringen.



Es gibt sicherlich mehr Besitzer von alten Radios aus den 20er Jahren, die ihre Originalröhren schonen wollen und dafür billige Ersatzröhren für den täglichen Gebrauch „verschleißen“.



Ursprünglich wollte man (meiner Meinung nach) einen zu großen Typenbereich mit einer Ersatzröhre abdecken. Von der RE034 bis zur Endtriode RE114! Die Kennlinien zeigen jedoch, dass das schon vom Aussteuerbereich her unmöglich ist. Es muss also eine direkt geheizte Röhre gefunden werden, die wenigsten zwei Anforderungen befriedigen kann. Gemeint sind die RE074 und RE 084. Vielleicht -mit Enschränkungen- auch noch die RE034.

Mir persönlich gefallen die schon öfters publizierten Ersatzschaltungen mit PC-Typen aus drei Gründen nicht.

--- Austeuerbereich klein
--- Heizstrom zu hoch
--- Optisch nicht ansprechend



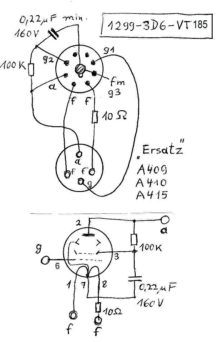
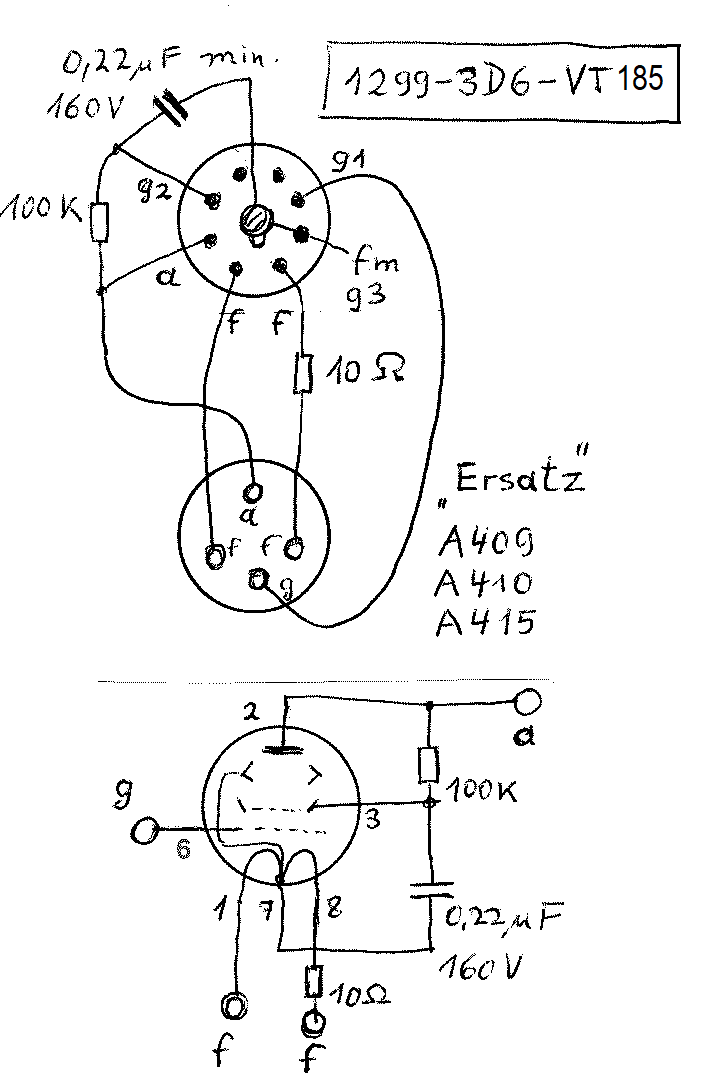
Nach langem Suchen hab' ich die amerikanische 1299 (3D6-VT185) gefunden, welche noch für wenig Geld im Handel ist. Das ist aber eine Pentode, wird man einwenden!
Stimmt, und einfach das Schirmgitter mit der Anode verbinden funktioniert auch nicht, weil dann der Ia viel zu groß wird. Also wurde die Ug2 Spannung mit einem Widerstand reduziert. Um die starke Spannungsgegenkopplung unwirksam zu machen, wird die Ug2 mit einem ausreichend großen Kondensator stabilisiert. Das geht gut ab Frequenzen über 100Hz bei C = 0,22µF. Besser ist 0,47µF, wenn dieser unterzubringen ist.
Hier erkennt man den Nachteil dieser Ersatzlösung: Das Anwendungsgebiet ist beschränkt auf die NF- oder HF-Verstärkung. Das Gleichstromverhalten ist gänzlich anders, d.h. nicht geeignet für Trioden verwendet als steuerbarer Widerstand in Regelschaltungen (ALR z.B.). Auch auf dem Röhrenprüfgerät werden nicht vergleichbare Werte angezeigt.



Zum Schluss ist eine Erprobung der Idee wichtig.
Dazu dient ein einfaches Audion mit Gittergleichrichtung und Rückkopplung. Die NF wird mit einem 1:4 Trafo ausgekoppelt. Überraschenderweise ist die Ausgangslautstärke zwei bis dreimal größer im Vergleich zur Originalröhre......

Gruß aus NL, Wolfgang

Datei-Anhänge
Ben.jpg Ben.jpg (313x)

Mime-Type: image/jpeg, 208 kB

A-ty-D.png A-ty-D.png (254x)

Mime-Type: image/png, 23 kB

eenpitter.JPG eenpitter.JPG (300x)

Mime-Type: image/jpeg, 120 kB

SCAN0512-bw.png SCAN0512-bw.png (276x)

Mime-Type: image/png, 34 kB

WalterBar, joeberesf, Martin.M und wumpus gefällt der Beitrag.
!
!!! Fotos, Grafiken nur über die Upload-Option des Forums, KEINE FREMD-LINKS auf externe Fotos.    

!!! Keine Komplett-Schaltbilder, keine Fotos, keine Grafiken, auf denen Urheberrechte Anderer (auch WEB-Seiten oder Foren) liegen!
Solche Uploads werden wegen der Rechtslage kommentarlos gelöscht!

Keine Fotos, auf denen Personen erkennbar sind, ohne deren schriftliche Zustimmung.

Den Beitrag-Betreff bei Antworten auf Threads nicht verändern!
16.02.22 16:30
WalterBar 

500 und mehr Punkte

16.02.22 16:30
WalterBar 

500 und mehr Punkte

Re: Ersatz für bestimmte 4Volt Uralt-Trioden..........

Hallo zusammen,

ich habe zu dem Themenkomplex eine andere Meinung. Zumindestens bei mir laufen die Geräte im Wechsel nur stundenweise in der Woche. Eine Abnutzung der alten Röhren habe ich noch nicht bemerken können. Selbst wenn, die meisten sind in Auktionen im kleinen zweistelligen Bereich gelegentlich (wieder!) erhältlich, wenn man Geduld aufbringt. Manchmal wird nicht einmal das Mindestgebot abgegeben.

Natürlich gilt das nicht für Röhren wie DII, EVN171, EVE173, RE11, WD11, usw.
An die Besonderheit der US-Typen 00, 00A, 01, 01A möchte ich auch erinnern, denn sie lassen sich in der Regel auf einen 100%igen Emissionswert regenerieren. Das sind allerdings nicht 4V, sondern 5V Typen.

So mancher Adapter schlummert auch in meinem Röhrenschrank, weil mir vor 10 Jahren ähnliche Gedanken durch den Kopf gingen. Jetzt sehe ich das (auch wegen der eigenen "Restlaufzeit") wesentlich entspannter. Die KC1 als Audionröhre (2V-Type, auch ausreichend verfügbar) gehört übrigens zu meinen Favoriten.

Gruss
Walter

@Wolfgang: Grandioser Vorschlag im niederländischen Forum, das Glas einer LED-Glühlampe zu verwenden!

@Jens: Ich nehme lieber Alu-Spray.

Röhren: Man kann auch die Vergleichstrioden aus z.B. Holland, Frankreich aus den 1930-er nehmen. Telefunken-NOS können in der Tat teurer sein, müssen es aber nicht. RES164-Angebote wurden nach meiner Beobachtung teilweise ignoriert. Die Kreuzreferenz kann man dem RM entnehmen. Mit Geduld und Ausdauer gehen sogar NOS im UNTEREN zweistelligen Bereich (z.B. ECL11 Telefunken 10 Euro). Eine höhere Verstärkung braucht man höchstens, wenn man Behelfsantennen benutzt. Für eine gewisse Authentizität der alten Geräte ist das in meinen Augen hilfreicher Die momentan üblichen Senderleistungen entsprechen auch weitgehend der damaligen Situation. Ausserdem kosten die Substitute auch Geld.

Zuletzt bearbeitet am 16.02.22 20:03

16.02.22 16:46
WoHo 

500 und mehr Punkte

16.02.22 16:46
WoHo 

500 und mehr Punkte

Re: Ersatz für bestimmte 4Volt Uralt-Trioden..........

@ Jens

Ich gebe dir recht, in der Vergangenheit wurden schon hunderte Ersatzvorschläge publiziert. Ich habe mir erlaubt, noch einen hinzuzufügen.
Weil es draußen regnete....

Hier der Link zum NL-Forum:
https://www.nfor.nl/index.php?id=312904

Gruß aus NL, Wolfgang

17.02.22 12:32
Debo 

500 und mehr Punkte

17.02.22 12:32
Debo 

500 und mehr Punkte

Re: Ersatz für bestimmte 4Volt Uralt-Trioden..........

basteljero:

Ein hoher 2-stelliger Betrag wäre mir auch zuviel für z.B. eine RES164 in einem VE301w.


Hallo Jens,

das kannst Du persönlich aus unterschiedlichen Motiven so sehen.

Jetzt weiß ich nicht wie alt du bist - ich schätze dich aber deutlich jünger als ich (56) ein. Aber jungen Leuten ist das neueste iPone oder Samsung Galaxy mit Neupreisen ohne Vertrag im oberen dreistelligen Bereich, mit Vertrag und fetter (nowendiger GByte Download/Straming Flatrate sowie kostenpflichtige Streamingdienste wie Spotify oder Netflix im Abo immer dann noch 20-30-50-60€/monatlich sind wichtig und angesagt. Dafür ist dann Geld da.

Ganz alte Röhren - wie z.B. in den 20er Jahre Empfängern, die kosten richtig Geld. Aber für 30er Jahre original verpackte, seit 80 Jahren gelagerte Modelle sind solche Preise üblich. Eine NOS OVP RES 164 kostet schonmal 60.-€, weil sie halt durch den VE sehr populär ist.

Auch nicht alle Röhren im Radio sind Verschleißteile. Die meisten halten ein Leben lang.

Und wie der Walter schon sagt, die wenigen Stunden wo wir zum vorführen, oder von Zeit ein Gerät betreiben, dafür braucht man m.M. keine Ersatztypenorgie veranstalten. Nur bei Typen wo man sehr selten und sehr teuer Ersatz findet. Aber die meisten Röhren sind gängig und mit gezielter Suche und über Sammlerkollegen nach bestimmter Zeit beschaffbar.

Gruss
Debo

 1
 1
Ersatzschaltungen   Enschränkungen-   Gittergleichrichtung   Ausgangslautstärke   Röhrenprüfgerät   Uralt-Trioden   kostenpflichtige   Überraschenderweise   Senderleistungen   Ersatzvorschläge   Vergleichstrioden   Streamingdienste   unterschiedlichen   Regelschaltungen   Anwendungsgebiet   Spannungsgegenkopplung   Gleichstromverhalten   Ersatztypenorgie   „verschleißen“   niederländischen